TOP
|
特許
|
意匠
|
商標
特許ウォッチ
Twitter
他の特許を見る
10個以上の画像は省略されています。
公開番号
2025142964
公報種別
公開特許公報(A)
公開日
2025-10-01
出願番号
2024042619
出願日
2024-03-18
発明の名称
結束機
出願人
マックス株式会社
代理人
個人
,
個人
,
個人
,
個人
主分類
B65B
13/34 20060101AFI20250924BHJP(運搬;包装;貯蔵;薄板状または線条材料の取扱い)
要約
【課題】結束後にステープルを比較的容易に除去可能な結束機を提供する。
【解決手段】本開示に係る結束機は、第1脚部と、第2脚部と、第1脚部と第2脚部とを接続する本体部とを有し、前方に開口するステープルを用いて、第1脚部により結束対象物を囲むように結束する結束機であって、ステープルの第1脚部が押し付けられることにより、第1脚部を変形させるクリンチャ部と、第1脚部をクリンチャ部に押し付けるステープル押付部と、第1脚部が変形される間、ステープルをガイドするステープルガイド部と、第1脚部の変形後、ステープルガイド部によるステープルのガイドを解除する位置であるガイド解除位置まで、ステープルガイド部を移動させるガイド移動部と、を備える。
【選択図】図2
特許請求の範囲
【請求項1】
第1脚部と、第2脚部と、前記第1脚部と前記第2脚部とを接続する本体部とを有し、前方に開口するステープルを用いて、前記第1脚部により結束対象物を囲むように結束する結束機であって、
前記ステープルの前記第1脚部が押し付けられることにより、前記第1脚部を変形させるクリンチャ部と、
前記第1脚部を前記クリンチャ部に押し付けるステープル押付部と、
前記第1脚部が変形される間、前記ステープルをガイドするステープルガイド部と、
前記第1脚部の変形後、前記ステープルガイド部による前記ステープルのガイドを解除する位置であるガイド解除位置まで、前記ステープルガイド部を移動させるガイド移動部と、
を備える結束機。
続きを表示(約 590 文字)
【請求項2】
前記ガイド移動部は、前記第1脚部の前記クリンチャ部への押し付けが開始される前に、前記ステープルガイド部を、前記ステープルガイド部が前記ステープルをガイドする位置であるステープルガイド位置に移動する、
請求項1に記載の結束機。
【請求項3】
前記ガイド移動部は、前記結束機による結束動作が開始されると、前記ステープルガイド部を、前記ガイド解除位置から前記ステープルガイド位置に移動する、
請求項2に記載の結束機。
【請求項4】
前記ガイド移動部は、前記ステープルガイド部を、前記第1脚部の延伸方向と直交する方向に移動させる、
請求項1に記載の結束機。
【請求項5】
前記結束対象物は、前記第1脚部に対して第1方向に配置され、
前記クリンチャ部により前記第1脚部が変形されることにより、前記結束対象物は、前記螺旋形状の螺旋中心軸において前記第1脚部により囲まれるように、前記ステープルにより結束され、
前記ステープルガイド部は、前記第1脚部を、前記第1方向と反対の方向からガイドする、
請求項1に記載の結束装置。
【請求項6】
前記第1脚部は、前記第1方向に螺旋形状を形成するように、前記クリンチャ部により変形される、
請求項5に記載の結束装置。
発明の詳細な説明
【技術分野】
【0001】
本発明は、結束機に関する。
続きを表示(約 1,600 文字)
【背景技術】
【0002】
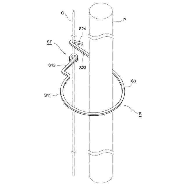
ワイヤ、梁、紐、棒、パイプ、樹木の枝等のガイド要素に、植物や樹木等の茎、蔓、枝等を保持させるためのステープルが知られている。
【0003】
特許文献1乃至特許文献3には、このようなステープル及びステープルを用いて結束するための結束機が開示されている。特許文献2に記載されているステープルは、2つの脚部とこれら脚部を接続する本体部(「クラウン」と呼ばれる場合もある。)を備え、一方の脚部の先端部が対象物の外周を螺旋状に進行するように先端部を変形させることにより、ガイド要素(「対象物」または「結束対象物」と呼ばれる場合もある。)と係合する。
【先行技術文献】
【特許文献】
【0004】
特開2022-74007号公報
特開2023-13307号公報
特開2023-13317号公報
【発明の概要】
【発明が解決しようとする課題】
【0005】
しかしながら、例えば上記特許文献3に記載される結束機においては、結束対象物をステープルにより結束した後、ステープル及び結束対象物を結束機から容易に除去することができない可能性があると考えられる。例えば、ステープルの脚部の螺旋形状を安定して形成することができない場合には、結束完了後のステープルを結束機の上方に移動させる押し出し部材の一部がステープルの螺旋形状に挟まれ、ステープルを除去することができない可能性があると考えられる。
【0006】
そこで本発明は、結束後にステープルを比較的容易に除去可能な結束機を提供することを目的とする。
【課題を解決するための手段】
【0007】
本開示の一態様の結束機は、第1脚部と、第2脚部と、第1脚部と第2脚部とを接続する本体部とを有し、前方に開口するステープルを用いて、第1脚部により結束対象物を囲むように結束する結束機であって、ステープルの第1脚部が押し付けられることにより、第1脚部を変形させるクリンチャ部と、第1脚部をクリンチャ部に押し付けるステープル押付部と、第1脚部が変形される間、ステープルをガイドするステープルガイド部と、第1脚部の変形後、ステープルガイド部によるステープルのガイドを解除する位置であるガイド解除位置まで、ステープルガイド部を移動させるガイド移動部と、を備える。
【0008】
ここでステープル(「線状結束材」と呼ばれる場合がある。)は、塑性変形可能な可撓性を有する線材から形成され、変形することにより対象物に係合するための部材(表面がめっき処理又は樹脂等でコーティングされたものを含む。)を含む。ステープルは、ワイヤ、クリップ、針金または結束具等と呼ばれる場合もある。
【0009】
なおステープルは、2つの脚部と、2つの脚部を接続する接続部(クラウン部と呼ばれる場合がある。)を含む任意の形状から構成されてよい。ここで2つの脚部は平行な線分状に形成されてもよいし、平行でない線分、曲線、またはそれらの組み合わせから形成されてもよい。クラウン部は、直線的に形成されてもよいし、湾曲して形成されてもよい。例えばステープルは、本実施形態に例示されるように、非対称な形状を有してもよい。
【0010】
また結束とは、ステープルを用いて一方の対象物と他方の対象物との相対的移動を拘束することを含む。例えば、一方の対象物(「第2対象物」、または「第2結束対象物」と呼ばれる場合があり、例えば植物等である。)をステープルで包囲した状態で、このステープルの例えば両端部(2つの先端部)を他方の対象物(「第1対象物」、「第1結束対象物」、「ガイド」または「ガイド要素」等と呼ばれる場合があり、例えばワイヤ、梁、紐、棒、パイプ、樹木の枝等である。)に係合させることにより、対象物の結束が実現されてもよい。
(【0011】以降は省略されています)
この特許をJ-PlatPat(特許庁公式サイト)で参照する
関連特許
マックス株式会社
結束機
12日前
マックス株式会社
長尺媒体
3日前
個人
箱
12か月前
個人
収容箱
2か月前
個人
ゴミ箱
12か月前
個人
コンベア
4か月前
個人
容器
8か月前
個人
段ボール箱
6か月前
個人
段ボール箱
6か月前
個人
ゴミ収集器
6か月前
個人
宅配システム
6か月前
個人
角筒状構造体
5か月前
個人
パウチ補助具
11か月前
個人
土嚢運搬器具
8か月前
個人
バンド
1か月前
個人
楽ちんハンド
4か月前
個人
コード類収納具
7か月前
個人
包装容器
24日前
個人
お薬の締結装置
5か月前
個人
廃棄物収容容器
2か月前
個人
閉塞装置
9か月前
個人
貯蔵サイロ
6か月前
個人
蓋閉止構造
3か月前
株式会社バンダイ
物品
5日前
株式会社コロナ
梱包材
5か月前
個人
把手付米袋
4か月前
個人
蓋閉止構造
3か月前
個人
積み重ね用補助具
2か月前
個人
ゴミ処理機
8か月前
株式会社和気
包装用箱
8か月前
三甲株式会社
容器
5か月前
三甲株式会社
容器
5か月前
株式会社新弘
容器
12か月前
株式会社新弘
容器
12か月前
三甲株式会社
容器
1か月前
個人
輸送積荷用動吸振器
5か月前
続きを見る
他の特許を見る