TOP
|
特許
|
意匠
|
商標
特許ウォッチ
Twitter
他の特許を見る
公開番号
2025142670
公報種別
公開特許公報(A)
公開日
2025-10-01
出願番号
2024042162
出願日
2024-03-18
発明の名称
画像管理装置、画像管理システム、画像管理方法、および画像管理プログラム
出願人
理想科学工業株式会社
代理人
個人
,
個人
,
個人
主分類
B65D
25/20 20060101AFI20250924BHJP(運搬;包装;貯蔵;薄板状または線条材料の取扱い)
要約
【課題】梱包体を配置することによる居住空間の意匠性の低下を軽減できる画像管理装置、画像管理システム、画像管理方法、および画像管理プログラムを提供する。
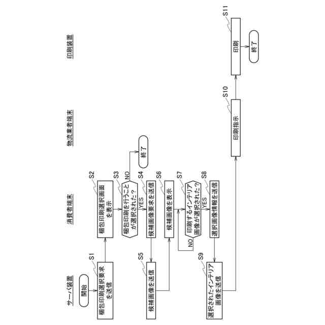
【解決手段】サーバ装置2の記憶部11は、複数のインテリア画像を記憶する。制御部13は、記憶部11に記憶されている複数のインテリア画像から、段ボール箱が配置される居住空間のデザインに応じたインテリア画像を特定し、特定したインテリア画像を、印刷装置5による段ボール箱へのインテリア画像の印刷を制御する物流業者端末4へ送信する。
【選択図】図1
特許請求の範囲
【請求項1】
複数の画像を記憶する記憶部と、
前記複数の画像から梱包体が配置される居住空間のデザインに応じた画像を特定し、特定した画像を、印刷装置による梱包体への画像の印刷を制御する端末装置へ送信する制御部と
を備えることを特徴とする画像管理装置。
続きを表示(約 800 文字)
【請求項2】
前記制御部は、前記居住空間の居住者による梱包体に印刷する画像の選択を受け付け、居住者により選択された画像を、前記居住空間のデザインに応じた画像として特定することを特徴とする請求項1に記載の画像管理装置。
【請求項3】
前記記憶部は、同じサイズの複数の梱包体にまたがる1つの画像を形成するための複数の画像、および一部の梱包体が他の梱包体とはサイズが異なる複数の梱包体にまたがる1つの画像を形成するための複数の画像の少なくともいずれかを記憶することを特徴とする請求項1または2記載の画像管理装置。
【請求項4】
画像管理装置と、印刷装置による印刷を制御する端末装置とを備え、
前記画像管理装置は、
複数の画像を記憶する記憶部と、
前記複数の画像から梱包体が配置される居住空間のデザインに応じた画像を特定し、特定した画像を前記端末装置へ送信する制御部とを備え、
前記端末装置は、
前記画像管理装置から送信された画像を梱包体に前記印刷装置により印刷させることを特徴とする画像管理システム。
【請求項5】
コンピュータが実行する画像管理方法であって、
複数の画像から梱包体が配置される居住空間のデザインに応じた画像を特定するステップと、
前記特定するステップで特定した画像を、印刷装置による画像の印刷を制御する端末装置へ送信するステップと
を含むことを特徴とする画像管理方法。
【請求項6】
複数の画像から梱包体が配置される居住空間のデザインに応じた画像を特定するステップと、
前記特定するステップで特定した画像を、印刷装置による画像の印刷を制御する端末装置へ送信するステップと
をコンピュータに実行させることを特徴とする画像管理プログラム。
発明の詳細な説明
【技術分野】
【0001】
本発明は、画像管理装置、画像管理システム、画像管理方法、および画像管理プログラムに関する。
続きを表示(約 1,200 文字)
【背景技術】
【0002】
消費者がまとめ買いした商品や、災害時用の備蓄品として購入した商品が収納された段ボール箱等の梱包体が、消費者の居住空間である自宅の部屋に置いて保管されることがある。
【先行技術文献】
【特許文献】
【0003】
特開2005-261699号公報
【発明の概要】
【発明が解決しようとする課題】
【0004】
上述のように梱包体を居住空間に配置した場合、周囲に配置されている家具等とのデザインの統一性が損なわれ、居住空間の意匠性が低下することがある。
【0005】
なお、特許文献1には、段ボールを使用して、不使用時はインテリアとしての機能も有するいすを構成する技術が開示されている。この技術は、段ボールを有効利用することができるが、上述のような梱包体を配置することによる居住空間の意匠性の低下を軽減するものではない。
【0006】
本発明は上記に鑑みてなされたもので、梱包体を配置することによる居住空間の意匠性の低下を軽減できる画像管理装置、画像管理システム、画像管理方法、および画像管理プログラムを提供することを目的とする。
【課題を解決するための手段】
【0007】
本発明の一態様によれば、複数の画像を記憶する記憶部と、前記複数の画像から梱包体が配置される居住空間のデザインに応じた画像を特定し、特定した画像を、印刷装置による梱包体への画像の印刷を制御する端末装置へ送信する制御部とを備えることを特徴とする画像管理装置が提供される。
【0008】
本発明の他の態様によれば、画像管理装置と、印刷装置による印刷を制御する端末装置とを備え、前記画像管理装置は、複数の画像を記憶する記憶部と、前記複数の画像から梱包体が配置される居住空間のデザインに応じた画像を特定し、特定した画像を前記端末装置へ送信する制御部とを備え、前記端末装置は、前記画像管理装置から送信された画像を梱包体に前記印刷装置により印刷させることを特徴とする画像管理システムが提供される。
【0009】
本発明の他の態様によれば、コンピュータが実行する画像管理方法であって、複数の画像から梱包体が配置される居住空間のデザインに応じた画像を特定するステップと、前記特定するステップで特定した画像を、印刷装置による画像の印刷を制御する端末装置へ送信するステップとを含むことを特徴とする画像管理方法が提供される。
【0010】
本発明の他の態様によれば、複数の画像から梱包体が配置される居住空間のデザインに応じた画像を特定するステップと、前記特定するステップで特定した画像を、印刷装置による画像の印刷を制御する端末装置へ送信するステップとをコンピュータに実行させることを特徴とする画像管理プログラムが提供される。
【発明の効果】
(【0011】以降は省略されています)
この特許をJ-PlatPat(特許庁公式サイト)で参照する
関連特許
理想科学工業株式会社
包装物
18日前
理想科学工業株式会社
印刷装置
12日前
理想科学工業株式会社
印刷装置
18日前
理想科学工業株式会社
印刷システム
5日前
理想科学工業株式会社
孔版印刷装置
1か月前
理想科学工業株式会社
画像処理装置
27日前
理想科学工業株式会社
ワイピング装置
1か月前
理想科学工業株式会社
不吐出検出装置
1か月前
理想科学工業株式会社
シート搬送装置
8日前
理想科学工業株式会社
メンテナンス装置
6日前
理想科学工業株式会社
印刷媒体設置装置
12日前
理想科学工業株式会社
インクジェット印刷装置
2か月前
理想科学工業株式会社
インクジェット印刷装置
19日前
理想科学工業株式会社
インクジェット印刷装置
4日前
理想科学工業株式会社
インクジェット印刷装置
1か月前
理想科学工業株式会社
油性インクジェットインク
18日前
理想科学工業株式会社
油性インクジェットインク
今日
理想科学工業株式会社
粘着シート、及び、被印刷物
18日前
理想科学工業株式会社
捺染物の製造方法および印刷装置
4日前
理想科学工業株式会社
印刷装置および捺染物の製造方法
4日前
理想科学工業株式会社
被覆ローラ及び被覆ローラの組立方法
1か月前
理想科学工業株式会社
再販支援システム、方法およびプログラム
5日前
理想科学工業株式会社
捺染物の製造方法及び捺染物の製造システム
11日前
理想科学工業株式会社
油性インクジェットインク及びその製造方法
1か月前
理想科学工業株式会社
画像処理装置、画像処理方法、及び、プログラム
1か月前
理想科学工業株式会社
情報処理装置、情報処理方法、およびプログラム
11日前
理想科学工業株式会社
印刷システム、印刷方法、および印刷プログラム
8日前
理想科学工業株式会社
画像処理装置、画像処理方法、及び、プログラム
今日
理想科学工業株式会社
予約管理装置、方法、プログラムおよびシステム
4日前
理想科学工業株式会社
学習支援装置、学習支援方法、及び、プログラム
4日前
理想科学工業株式会社
予約管理装置、方法、プログラムおよびシステム
4日前
理想科学工業株式会社
予約管理装置、方法、プログラムおよびシステム
4日前
理想科学工業株式会社
予約管理装置、方法、プログラムおよびシステム
4日前
理想科学工業株式会社
予約管理装置、方法、プログラムおよびシステム
4日前
理想科学工業株式会社
予約管理装置、方法、プログラムおよびシステム
4日前
理想科学工業株式会社
画像処理装置、画像処理方法、及び、プログラム
4日前
続きを見る
他の特許を見る