TOP
|
特許
|
意匠
|
商標
特許ウォッチ
Twitter
他の特許を見る
公開番号
2025147669
公報種別
公開特許公報(A)
公開日
2025-10-07
出願番号
2024048028
出願日
2024-03-25
発明の名称
画像処理装置、画像処理方法、及び、プログラム
出願人
理想科学工業株式会社
代理人
インフォート弁理士法人
主分類
H04N
1/60 20060101AFI20250930BHJP(電気通信技術)
要約
【課題】画像処理装置、画像処理方法、及びプログラムにおいて、ユーザが裏抜けを考慮した印刷をする場合に、インク量を減少させることに起因する印刷品質の低下を抑制する。
【解決手段】画像処理装置(印刷制御装置1)は、複数のインク色(CMYKP)への色変換を行う色変換部12と、各画素に対応する複数のインク色の総インク量が規定量Xを超える場合に、複数のインク色の比率を維持したまま総インク量を減少させ、この減少させた総インク量を維持したまま複数のインク色の比率を調整するインク量調整部(カラープロファイル変換部13)とを備える。
【選択図】図3
特許請求の範囲
【請求項1】
複数のインク色への色変換を行う色変換部と、
各画素に対応する前記複数のインク色の総インク量が規定量を超える場合に、前記複数のインク色の比率を維持したまま前記総インク量を減少させ、当該減少させた総インク量を維持したまま前記比率を調整するインク量調整部と
を備えることを特徴とする画像処理装置。
続きを表示(約 570 文字)
【請求項2】
前記インク量調整部は、前記複数のインク色のうち最もインク量が多いインク色を増加させるように前記比率を調整する
ことを特徴とする請求項1記載の画像処理装置。
【請求項3】
前記インク量調整部は、前記複数のインク色のうち同一色相の明度の高いインク色を減少させ、同一色相の明度の低いインク色を増加させるように前記比率を調整する
ことを特徴とする請求項1又は2記載の画像処理装置。
【請求項4】
コンピュータによって行われる画像処理方法であって、
複数のインク色への色変換を行うことと、
各画素に対応する前記複数のインク色の総インク量が規定量を超える場合に、前記複数のインク色の比率を維持したまま前記総インク量を減少させ、当該減少させた総インク量を維持したまま前記比率を調整することと
を含むことを特徴とする画像処理方法。
【請求項5】
複数のインク色への色変換を行う機能と、
各画素に対応する前記複数のインク色の総インク量が規定量を超える場合に、前記複数のインク色の比率を維持したまま前記総インク量を減少させ、当該減少させた総インク量を維持したまま前記比率を調整する機能と
をコンピュータに実現させるプログラム。
発明の詳細な説明
【技術分野】
【0001】
本発明は、画像処理装置、画像処理方法、及びプログラムに関する。
続きを表示(約 1,400 文字)
【背景技術】
【0002】
従来、補正後の各インクの出力階調値の組合せにおける合計インク量が上限値を超える場合に、あの大きさに応じて或いは各インクに対して重み付けすることによって、合計インク量を上限値内に減少させる手法が提案されている(例えば、特許文献1参照)。
【先行技術文献】
【特許文献】
【0003】
特開2015-015612号公報
【発明の概要】
【発明が解決しようとする課題】
【0004】
ところで、油性インクを用いたインクジェット印刷装置では、表濃度の発色性向上のために一定のインク量を打ち込む必要がある。一方で、油性インクはインク量が多ければ多いほど、印刷媒体に浸透した油性溶剤の影響で裏側から表濃度が視認できる状態、いわゆる「裏抜け」が顕著になる。ユーザの用途(例:両面印刷)によっては、裏抜けを低減させたいため、インク量を調整し一定値以下にすることが求められる。
【0005】
しかし、上述のように階調値の大きさに応じて合計インク量を減少させると、表濃度が低下することによって印刷品質が低下する。また、上述のように各インクに対して重み付けすることによって合計インク量を減少させても、入力画像の色ごとにインク構成を考慮した補正を行うわけではないため、印刷品質の低下を防止することができない。
【0006】
本発明の目的は、ユーザが裏抜けを考慮した印刷をする場合に、インク量を減少させることに起因する印刷品質の低下を抑制することができる画像処理装置、画像処理方法、及びプログラムを提供することである。
【課題を解決するための手段】
【0007】
1つの態様では、画像処理装置は、複数のインク色への色変換を行う色変換部と、前記各画素に対応する複数のインク色の総インク量が規定量を超える場合に、前記複数のインク色の比率を維持したまま前記総インク量を減少させ、当該減少させた総インク量を維持したまま前記比率を調整するインク量調整部とを備える。
【発明の効果】
【0008】
前記態様によれば、ユーザが裏抜けを考慮した印刷をする場合に、インク量を減少させることに起因する印刷品質の低下を抑制することができる。
【図面の簡単な説明】
【0009】
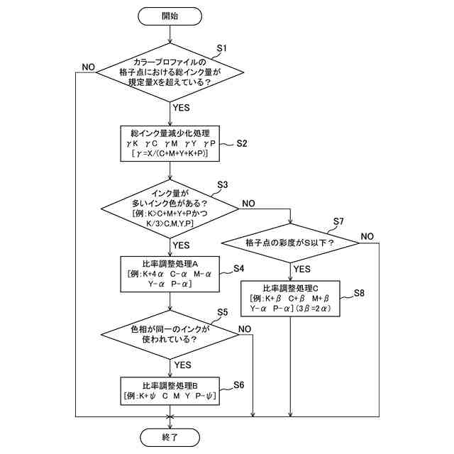
一実施の形態における印刷システムの制御構成を示すブロック図である。
一実施の形態における画像処理方法を説明するためのフローチャートである。
一実施の形態におけるインク量調整を説明するための説明図である。
一実施の形態における総インク量減少化処理を説明するための説明図である。
一実施の形態における比率調整処理Aを説明するための説明図である。
一実施の形態における比率調整処理Bを説明するための説明図である。
一実施の形態における比率調整処理Cを説明するための説明図である。
一実施の形態における比率調整処理Dを説明するための説明図である。
【発明を実施するための形態】
【0010】
以下、本発明の一実施の形態に係る画像処理装置、画像処理方法、及びプログラムについて、図面を参照しながら説明する。
(【0011】以降は省略されています)
この特許をJ-PlatPat(特許庁公式サイト)で参照する
関連特許
理想科学工業株式会社
印刷システム
5日前
理想科学工業株式会社
シート搬送装置
8日前
理想科学工業株式会社
メンテナンス装置
6日前
理想科学工業株式会社
インクジェット印刷装置
4日前
理想科学工業株式会社
油性インクジェットインク
今日
理想科学工業株式会社
捺染物の製造方法および印刷装置
4日前
理想科学工業株式会社
印刷装置および捺染物の製造方法
4日前
理想科学工業株式会社
再販支援システム、方法およびプログラム
5日前
理想科学工業株式会社
情報処理装置、情報処理方法、およびプログラム
4日前
理想科学工業株式会社
画像処理装置、画像処理方法、及び、プログラム
4日前
理想科学工業株式会社
画像処理装置、画像処理方法、及び、プログラム
4日前
理想科学工業株式会社
学習支援装置、学習支援方法、及び、プログラム
4日前
理想科学工業株式会社
画像処理装置、画像処理方法、及び、プログラム
今日
理想科学工業株式会社
予約管理装置、方法、プログラムおよびシステム
4日前
理想科学工業株式会社
予約管理装置、方法、プログラムおよびシステム
4日前
理想科学工業株式会社
予約管理装置、方法、プログラムおよびシステム
4日前
理想科学工業株式会社
予約管理装置、方法、プログラムおよびシステム
4日前
理想科学工業株式会社
予約管理装置、方法、プログラムおよびシステム
4日前
理想科学工業株式会社
予約管理装置、方法、プログラムおよびシステム
4日前
理想科学工業株式会社
予約管理装置、方法、プログラムおよびシステム
4日前
理想科学工業株式会社
手話情報生成装置、方法、プログラムおよびシステム
4日前
理想科学工業株式会社
リマインダ通知装置、方法、プログラムおよびシステム
4日前
理想科学工業株式会社
熱転写シート用インクセット及び熱転写シートの製造方法
8日前
理想科学工業株式会社
手話動画情報収集装置、方法、プログラムおよびシステム
4日前
理想科学工業株式会社
手話動画情報収集装置、方法、プログラムおよびシステム
4日前
理想科学工業株式会社
デザイン支援装置、デザイン支援方法、及び、プログラム
4日前
理想科学工業株式会社
広告管理装置、方法およびプログラム、並びに広告印刷システム
5日前
理想科学工業株式会社
広告印刷支援装置、方法およびプログラム、並びに広告印刷システム
5日前
理想科学工業株式会社
広告印刷支援装置、方法およびプログラム、並びに広告印刷システム
5日前
理想科学工業株式会社
広告画像情報生成装置、方法およびプログラム、並びに広告印刷システム
8日前
理想科学工業株式会社
画像管理装置、画像管理システム、画像管理方法、および画像管理プログラム
6日前
WHISMR合同会社
収音装置
26日前
アイホン株式会社
電気機器
20日前
キヤノン株式会社
撮像装置
1か月前
キヤノン電子株式会社
画像読取装置
27日前
個人
ワイヤレスイヤホン対応耳掛け
18日前
続きを見る
他の特許を見る