TOP
|
特許
|
意匠
|
商標
特許ウォッチ
Twitter
他の特許を見る
公開番号
2025139778
公報種別
公開特許公報(A)
公開日
2025-09-29
出願番号
2024038806
出願日
2024-03-13
発明の名称
広告画像情報生成装置、方法およびプログラム、並びに広告印刷システム
出願人
理想科学工業株式会社
代理人
個人
主分類
G06Q
30/0241 20230101AFI20250919BHJP(計算;計数)
要約
【課題】より広告効果を高めることができる広告画像情報を生成する広告画像情報生成装置、方法およびプログラム、並びに広告印刷システムを提供する。
【解決手段】商品が梱包される梱包材に印刷される広告対象の属性情報を取得する広告対象情報取得部14と、梱包材の受取人の属性情報を取得する梱包商品情報取得部13と、広告対象の属性情報に基づいて広告対象の象徴的な画像を生成し、受取人の属性情報に基づいて象徴的な画像以外の部分の非象徴的な画像を生成し、象徴的な画像および非象徴的な画像とを組み合わせて広告画像情報を生成する広告画像情報生成部16とを備える。
【選択図】図1
特許請求の範囲
【請求項1】
商品が梱包される梱包材に印刷される広告対象の属性情報を取得する広告対象情報取得部と、
前記梱包材の受取人の属性情報を取得する受取人情報取得部と、
前記広告対象の属性情報に基づいて広告対象の象徴的な画像を生成し、前記受取人の属性情報に基づいて前記象徴的な画像以外の部分の非象徴的な画像を生成し、前記象徴的な画像および前記非象徴的な画像とを組み合わせて広告画像情報を生成する広告画像情報生成部とを備えた広告画像情報生成装置。
続きを表示(約 1,000 文字)
【請求項2】
前記広告画像情報生成部が、前記広告対象の属性情報、前記受取人の属性情報および前記広告対象の属性情報に基づいて生成された広告対象の象徴的な画像と前記受取人の属性情報に基づいて生成された前記象徴的な画像以外の部分の非象徴的な画像とを組み合わせた広告画像情報と、前記受取人に対する前記広告画像情報の評価結果との関係を予め機械学習した学習済モデルに対して、前記広告対象情報取得部によって取得された広告対象の属性情報と前記受取人情報取得部によって取得された受取人の属性情報を入力することよって、前記広告対象に対応する広告画像情報を生成する請求項1記載の広告画像情報生成装置。
【請求項3】
前記広告対象情報取得部が、前記梱包材に梱包される商品の属性情報に基づいて、前記広告対象の属性情報を取得する請求項1記載の広告画像情報生成装置。
【請求項4】
前記広告対象情報取得部が、前記受取人の属性情報に基づいて、前記広告対象の属性情報を取得する請求項1記載の広告画像情報生成装置。
【請求項5】
前記広告画像情報生成部が、前記梱包材が前記受取人に到着する時期および場所に基づいて、前記広告画像情報を生成する請求項1記載の広告画像情報生成装置。
【請求項6】
請求項1から5いずれか1項記載の広告画像情報生成装置と、
前記広告画像情報生成装置において生成された広告画像情報を梱包材に印刷する印刷装置とを備えた広告印刷システム。
【請求項7】
商品が梱包される梱包材に印刷される広告対象の属性情報を取得し、
前記梱包材の受取人の属性情報を取得し、
前記広告対象の属性情報に基づいて広告対象の象徴的な画像を生成し、前記受取人の属性情報に基づいて前記象徴的な画像以外の部分の非象徴的な画像を生成し、前記象徴的な画像および前記非象徴的な画像とを組み合わせて広告画像情報を生成する広告画像情報生成方法。
【請求項8】
商品が梱包される梱包材に印刷される広告対象の属性情報を取得するステップと、
前記梱包材の受取人の属性情報を取得するステップと、
前記広告対象の属性情報に基づいて広告対象の象徴的な画像を生成し、前記受取人の属性情報に基づいて前記象徴的な画像以外の部分の非象徴的な画像を生成し、前記象徴的な画像および前記非象徴的な画像とを組み合わせて広告画像情報を生成するステップとをコンピュータに実行させる広告画像情報生成プログラム。
発明の詳細な説明
【技術分野】
【0001】
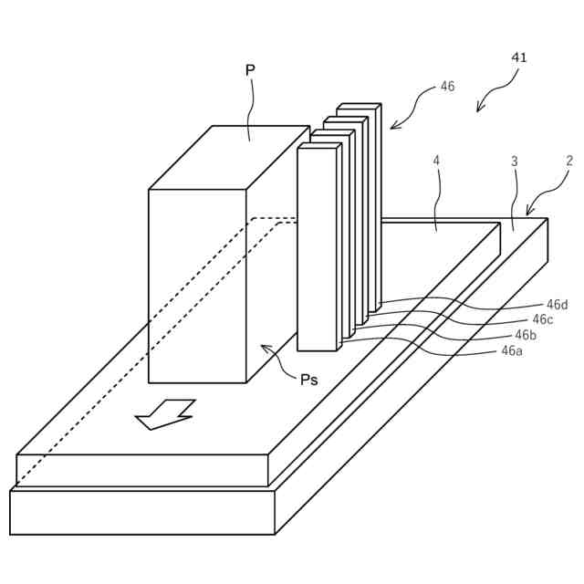
本発明は、梱包材に印刷される広告画像情報を生成する広告画像情報生成装置、方法およびプログラム、並びに広告印刷システムに関するものである。
続きを表示(約 1,200 文字)
【背景技術】
【0002】
近年、Amazon(登録商標)や楽天(登録商標)のようなEC(electronic commerce)の市場が拡大している。
【0003】
そして、ECサイトにおいて注文された商品を梱包材に梱包して受取人に発送する際に、梱包された商品以外の他商品の紹介や企業のブランドイメージをアピールする広告を同梱したり、梱包材に印刷したりすることが行われている。
【0004】
たとえば従来は、広告商品の画像を梱包材に印刷したり、広告商品の情報が掲載されたサイトへアクセスするためのコードを梱包材に印刷し、サイトへ誘導することよって広告が行われている。
【0005】
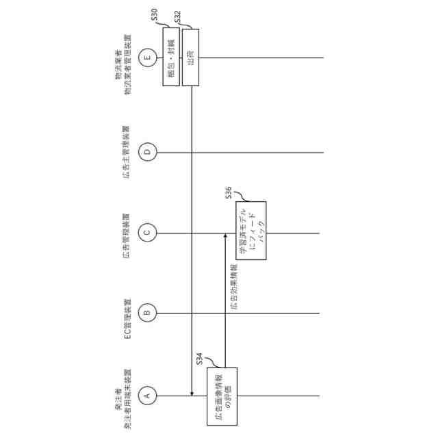
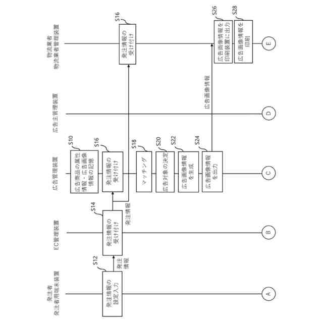
たとえば特許文献1においては、電子商取引において発注された商品の受取人の情報と広告主が指定する受取人の情報とをマッチングし、広告主が指定する受取人が発注した商品の梱包材に対して、広告主が指定する広告画像を印刷して配送するシステムが提案されている。
【0006】
また、特許文献2においては、広告に使用される画像を生成する画像生成プログラムが提案されている。特許文献2の画像生成プログラムでは、広告に使用される顔画像を広告効果指標に基づいて設定し、その顔画像と体画像とを組み合わせて、広告に使用される画像を生成することが提案されている。
【先行技術文献】
【特許文献】
【0007】
特開2023-61049号公報
特開2022-68552号公報
【発明の概要】
【発明が解決しようとする課題】
【0008】
しかしながら、特許文献1に記載のように、広告主が指定する広告画像を印刷するようにしたのでは、必ずしも受取人の興味を惹く広告画像ではない可能性がある。また、特許文献2では、広告効果指標に基づいて顔画像が設定されているが、その顔画像についても、必ずしも受取人の興味を惹く広告画像ではない可能性がある。
【0009】
本発明は、上記事情に鑑み、より広告効果を高めることができる広告画像情報を生成する広告画像情報生成装置、方法およびプログラム、並びに広告印刷システムを提供することを目的とするものである。
【課題を解決するための手段】
【0010】
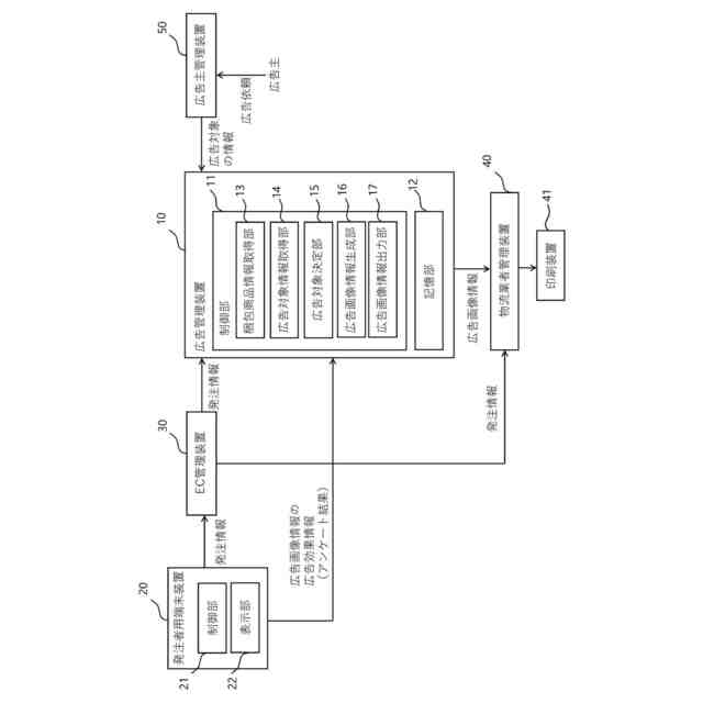
本発明の広告画像情報生成装置は、商品が梱包される梱包材に印刷される広告対象の属性情報を取得する広告対象情報取得部と、梱包材の受取人の属性情報を取得する受取人情報取得部と、広告対象の属性情報に基づいて広告対象の象徴的な画像を生成し、受取人の属性情報に基づいて象徴的な画像以外の部分の非象徴的な画像を生成し、象徴的な画像および非象徴的な画像とを組み合わせて広告画像情報を生成する広告画像情報生成部とを備える。
【発明の効果】
(【0011】以降は省略されています)
この特許をJ-PlatPat(特許庁公式サイト)で参照する
関連特許
理想科学工業株式会社
印刷システム
5日前
理想科学工業株式会社
シート搬送装置
8日前
理想科学工業株式会社
メンテナンス装置
6日前
理想科学工業株式会社
インクジェット印刷装置
4日前
理想科学工業株式会社
油性インクジェットインク
今日
理想科学工業株式会社
捺染物の製造方法および印刷装置
4日前
理想科学工業株式会社
印刷装置および捺染物の製造方法
4日前
理想科学工業株式会社
再販支援システム、方法およびプログラム
5日前
理想科学工業株式会社
捺染物の製造方法及び捺染物の製造システム
11日前
理想科学工業株式会社
情報処理装置、情報処理方法、およびプログラム
11日前
理想科学工業株式会社
印刷システム、印刷方法、および印刷プログラム
8日前
理想科学工業株式会社
画像処理装置、画像処理方法、及び、プログラム
4日前
理想科学工業株式会社
学習支援装置、学習支援方法、及び、プログラム
4日前
理想科学工業株式会社
画像処理装置、画像処理方法、及び、プログラム
今日
理想科学工業株式会社
情報処理装置、情報処理方法、およびプログラム
4日前
理想科学工業株式会社
予約管理装置、方法、プログラムおよびシステム
4日前
理想科学工業株式会社
予約管理装置、方法、プログラムおよびシステム
4日前
理想科学工業株式会社
予約管理装置、方法、プログラムおよびシステム
4日前
理想科学工業株式会社
予約管理装置、方法、プログラムおよびシステム
4日前
理想科学工業株式会社
予約管理装置、方法、プログラムおよびシステム
4日前
理想科学工業株式会社
画像処理装置、画像処理方法、及び、プログラム
4日前
理想科学工業株式会社
予約管理装置、方法、プログラムおよびシステム
4日前
理想科学工業株式会社
予約管理装置、方法、プログラムおよびシステム
4日前
理想科学工業株式会社
手話情報生成装置、方法、プログラムおよびシステム
4日前
理想科学工業株式会社
リマインダ通知装置、方法、プログラムおよびシステム
4日前
理想科学工業株式会社
印刷装置、印刷システム、印刷方法、及び、プログラム
8日前
理想科学工業株式会社
デザイン支援装置、デザイン支援方法、及び、プログラム
4日前
理想科学工業株式会社
手話動画情報収集装置、方法、プログラムおよびシステム
4日前
理想科学工業株式会社
熱転写シート用インクセット及び熱転写シートの製造方法
8日前
理想科学工業株式会社
手話動画情報収集装置、方法、プログラムおよびシステム
4日前
理想科学工業株式会社
広告管理装置、方法およびプログラム、並びに広告印刷システム
5日前
理想科学工業株式会社
広告印刷支援装置、方法およびプログラム、並びに広告印刷システム
5日前
理想科学工業株式会社
広告印刷支援装置、方法およびプログラム、並びに広告印刷システム
5日前
理想科学工業株式会社
広告画像情報生成装置、方法およびプログラム、並びに広告印刷システム
8日前
理想科学工業株式会社
広告内容設定装置、印刷システム、広告内容設定方法、及び、プログラム
8日前
理想科学工業株式会社
画像管理装置、画像管理システム、画像管理方法、および画像管理プログラム
6日前
続きを見る
他の特許を見る