TOP
|
特許
|
意匠
|
商標
特許ウォッチ
Twitter
他の特許を見る
10個以上の画像は省略されています。
公開番号
2025142612
公報種別
公開特許公報(A)
公開日
2025-10-01
出願番号
2024042061
出願日
2024-03-18
発明の名称
枕
出願人
西川株式会社
代理人
個人
,
個人
,
個人
主分類
A47G
9/10 20060101AFI20250924BHJP(家具;家庭用品または家庭用設備;コーヒーひき;香辛料ひき;真空掃除機一般)
要約
【課題】使用者の頭部の重量変動量が大きく、頸椎の長さが変動する量が大きい子供に対しても快適な寝心地を提供し続けることができる枕を提供する。
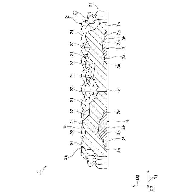
【解決手段】一実施形態に係る枕1は、第1方向D1、及び第1方向D1と交差する第2方向D2の双方に延在するとともに、第1方向D1及び第2方向D2の双方に交差する第3方向D3に厚みを有する本体部2と、本体部2の第2方向D2の中央に位置する中央部2aに配置されている第1ネックプレート3と、中央部2aに配置され、第1ネックプレート3と第1方向D1に沿って並ぶ第2ネックプレート4と、を備え、第2ネックプレート4は、第1ネックプレート3より大きく、第1ネックプレート3の硬度、及び第2ネックプレート4の硬度は、本体部2の硬度より高く、第1ネックプレート3と第2ネックプレート4との間には、中央部2aの第1方向D1の中央を第2方向D2に横断する基準線が位置する。
【選択図】図4
特許請求の範囲
【請求項1】
第1方向、及び前記第1方向と交差する第2方向の双方に延在するとともに、前記第1方向及び前記第2方向の双方に交差する第3方向に厚みを有する本体部と、
前記本体部の前記第2方向の中央に位置する中央部に配置されている第1ネックプレートと、
前記中央部に配置され、前記第1ネックプレートと前記第1方向に沿って並ぶ第2ネックプレートと、
を備え、
前記第2ネックプレートは、前記第1ネックプレートより大きく、
前記第1ネックプレートの硬度、及び前記第2ネックプレートの硬度は、前記本体部の硬度より高く、
前記第1ネックプレートと前記第2ネックプレートとの間には、前記中央部の前記第1方向の中央を前記第2方向に横断する基準線が位置する、枕。
続きを表示(約 810 文字)
【請求項2】
前記第2ネックプレートの硬度は、前記第1ネックプレートの硬度より高い、請求項1に記載の枕。
【請求項3】
前記本体部は、前記本体部の表面のうち前記第1ネックプレートの上方に位置する面に形成されている凹凸構造を有する、請求項1又は請求項2に記載の枕。
【請求項4】
前記第1ネックプレートは、前記第1ネックプレートの前記第3方向の長さが前記第1ネックプレートの前記第2方向の中央に近づくにつれて短くなる部分である窪みを有する、請求項1又は請求項2に記載の枕。
【請求項5】
前記第1ネックプレートは、前記本体部との接触面において下方に窪む溝を有し、
前記溝は、前記第1方向に延在している、請求項1又は請求項2に記載の枕。
【請求項6】
前記第1ネックプレートの反発弾性は、35%以上且つ60%以下であり、
前記本体部の反発弾性は、10%以上且つ35%以下であり、
前記本体部の40%硬度は、60N以下である、請求項1又は請求項2に記載の枕。
【請求項7】
前記第2ネックプレートは、前記第2ネックプレートの前記第3方向の長さが前記第2ネックプレートの前記第2方向の中央に近づくにつれて短くなる部分である窪みを有する、請求項1又は請求項2に記載の枕。
【請求項8】
前記第2ネックプレートは、前記本体部との接触面において下方に窪む溝を有し、
前記溝は、前記第1方向に延在している、請求項1又は請求項2に記載の枕。
【請求項9】
前記第2ネックプレートの反発弾性は、35%以上且つ60%以下であり、
前記本体部の反発弾性は、10%以上且つ35%以下であり、
前記本体部の40%硬度は、60N以下である、請求項1又は請求項2に記載の枕。
発明の詳細な説明
【技術分野】
【0001】
本開示は、枕に関する。
続きを表示(約 2,400 文字)
【背景技術】
【0002】
特許文献1には、枕が記載されている。枕は、収容溝が設けられている枕本体と、収容溝に収容される挿入棒とを備える。枕本体の上面には、高い突出部と、低い突出部とが設けられている。高い突出部は、頸椎が太い使用者が頭部を載置するのに適している。低い突出部は、頸椎が細い使用者が頭部を載置するのに適している。挿入棒の外周面には、複数の凹溝、及び複数の凸部が設けられている。頭部を挿入棒に載置すると、凹溝及び凸部が変形し、使用者の頸椎の形状に沿うように挿入棒は変形する。
【先行技術文献】
【特許文献】
【0003】
実用新案登録第3102917号公報
【発明の概要】
【発明が解決しようとする課題】
【0004】
ところで、枕の使用者が子供である場合には、数年間での使用者の頭部の重量変動量が、使用者が大人である場合における使用者の頭部の重量変動量より大きいことを考慮する必要がある。枕の使用者が子供である場合には、使用者の頸椎の長さが変動する量が、使用者が大人である場合における使用者の頸椎の長さが変動する量より大きいことを考慮する必要がある。頭部の重量が軽く、頸椎の長さが短い時期の子供に快適な寝心地を提供するためには、軽い頭部に適するように枕が変形することが求められ、枕の高さが短い頸椎に適する高さであることが求められる。頭部の重量が重く、頸椎の長さが長い時期の子供に快適な寝心地を提供するためには、重い頭部を支持できるよう適度なつぶれ難さが求められ、枕の高さが長い頸椎に適する高さであることが求められる。
【0005】
本開示は、使用者の頭部の重量変動量が大きく、頸椎の長さが変動する量が大きい子供に対しても快適な寝心地を提供し続けることができる枕を提供することを目的とする。
【課題を解決するための手段】
【0006】
本開示に係る枕は、(1)第1方向、及び第1方向と交差する第2方向の双方に延在するとともに、第1方向及び第2方向の双方に交差する第3方向に厚みを有する本体部と、本体部の第2方向の中央に位置する中央部に配置されている第1ネックプレートと、中央部に配置され、第1ネックプレートと第1方向に沿って並ぶ第2ネックプレートと、を備える。第2ネックプレートは、第1ネックプレートより大きい。第1ネックプレートの硬度、及び第2ネックプレートの硬度は、本体部の硬度より高い。第1ネックプレートと第2ネックプレートとの間には、中央部の第1方向の中央を第2方向に横断する基準線が位置する。
【0007】
この枕では、第1ネックプレート及び第2ネックプレートは、本体部の第2方向の中央に位置する中央部に配置されている。よって、使用者の頭部を本体部の第2方向の中央に載置すると、使用者の頭部は、本体部に支持されるとともに、第1ネックプレート及び第2ネックプレートの少なくとも一方に首が支持される。第1ネックプレートと第2ネックプレートとは第1方向に沿って並んでいる。第1ネックプレートと第2ネックプレートとの間には、中央部の第1方向の中央を第2方向に横断する基準線が位置する。すなわち、基準線から見て第1ネックプレートは、第2ネックプレートが位置する側とは反対に位置している。枕の第1方向の向きを変更することによって、使用者の頸椎の下方に第1ネックプレート及び第2ネックプレートのいずれを位置させるかを選択することができる。第1ネックプレートの硬度、及び第2ネックプレートの硬度は本体部の硬度より高い。よって、使用者の頭部を枕に載置した場合、本体部によって使用者は柔らかさを感じることができるとともに、第1ネックプレート及び第2ネックプレートの少なくとも一方によって使用者の首を支持することができる。
【0008】
第2ネックプレートは、第1ネックプレートより大きい。よって、頭部の重量が軽く、頸椎の長さが短い時期の子供が使用者である場合、大きさが小さい第1ネックプレートに首が載せられたときに、使用者の首が第1ネックプレートから受ける抵抗力を小さくでき、使用者の頭部に適するように枕を適度に変形させることができる。また、第1ネックプレートの大きさは小さいので、短い頸椎に適するように低い位置で使用者の首を支持することができる。一方、頭部の重量が重く、頸椎の長さが長い時期の子供が使用者である場合、大きさが大きい第2ネックプレートに首が載せられたときに、使用者の頭部が沈み込み過ぎることを抑制できる。また、第2ネックプレートの大きさは大きいので、長い頸椎に適するように高い位置で使用者の首を支持することができる。以上より、使用者の頭部の重量変動量が大きく、頸椎の長さが変動する量が大きい子供に対しても快適な寝心地を提供し続けることができる。
【0009】
(2)上記(1)において、第2ネックプレートの硬度は、第1ネックプレートの硬度より高くてもよい。この場合、重量が軽い使用者の首が第1ネックプレートに載置されたときに、第1ネックプレートを適度に変形させることができる。一方、重量が重い使用者の首が第2ネックプレートに載置されたときに、第2ネックプレートによって使用者の首をより確実に支持することができる。
【0010】
(3)上記(1)又は(2)において、本体部は、本体部の表面のうち第1ネックプレートの上方に位置する面に形成されている凹凸構造を有してもよい。この場合、使用者の頭部を枕に載置したときに、凹凸構造が適度に変形することにより、使用者は柔らかさを感じることができる。
(【0011】以降は省略されています)
この特許をJ-PlatPat(特許庁公式サイト)で参照する
関連特許
西川株式会社
枕
1か月前
西川株式会社
寝具
2か月前
西川株式会社
掛け寝具
2日前
西川株式会社
マットレス芯材およびマットレス
1か月前
個人
箸
1か月前
個人
家具
4か月前
個人
椅子
3か月前
個人
掃除機
9か月前
個人
自助箸
7か月前
個人
耳拭き棒
11か月前
個人
枕
9か月前
個人
枕
5か月前
個人
ソファー
2か月前
個人
体洗い具
10か月前
個人
掃除用具
4か月前
個人
屋外用箒
7か月前
個人
多用途紐
1か月前
個人
ハンガー
7か月前
個人
掃除道具
9か月前
個人
物品
3か月前
個人
開閉トング
6か月前
個人
掃除シート
9か月前
個人
組立式棚板
7か月前
個人
片手代替具
11か月前
個人
省煙消臭器
9か月前
個人
シャワー装置
6か月前
個人
受け皿
6か月前
個人
転倒防止装置
5か月前
個人
経典表示装置
5か月前
個人
靴ベラ
2か月前
個人
中身のない枕
7か月前
個人
紙コップ 蓋
2か月前
個人
ゴミ袋保持枠
7か月前
個人
バターナイフ
1か月前
個人
洗面台
11か月前
個人
コーナーシール
10か月前
続きを見る
他の特許を見る