TOP
|
特許
|
意匠
|
商標
特許ウォッチ
Twitter
他の特許を見る
10個以上の画像は省略されています。
公開番号
2025139782
公報種別
公開特許公報(A)
公開日
2025-09-29
出願番号
2024038811
出願日
2024-03-13
発明の名称
寝具
出願人
西川株式会社
代理人
個人
,
個人
,
個人
主分類
A47C
27/10 20060101AFI20250919BHJP(家具;家庭用品または家庭用設備;コーヒーひき;香辛料ひき;真空掃除機一般)
要約
【課題】より快適に入眠及び目覚めを促進できる寝具を提供する。
【解決手段】一実施形態に係る寝具1は、マットレス20と、マットレス20に取り付けられており、給気による膨張、及び排気による収縮を含む動作を行うエアバッグ30と、マットレス20とエアバッグ30とを収容する側地と、エアバッグ30に接続されて給気及び排気を行う空気制御装置50と、空気制御装置50の給気及び排気を制御する制御部と、を備える。エアバッグ30は、少なくとも1つの動作モードにより編成された第1コース及び第2コースに則って膨張及び収縮を行う。第1コースは人の入眠時に実行される。第2コースは人の起床時に実行される。第1コースにおいて実行される動作モードの単位時間当たりの数は、第2コースにおいて実行される動作モードの単位時間当たりの数よりも少ない。
【選択図】図2
特許請求の範囲
【請求項1】
第1方向に厚みを有し、前記第1方向に直交する平面に沿って延在するとともに人の身体が載せられる第1面を有する寝具本体と、
前記寝具本体に取り付けられており、給気による膨張、及び排気による収縮を含む動作を行う複数のエアバッグと、
前記寝具本体と前記複数のエアバッグとを収容する側地と、
前記複数のエアバッグに接続されており、前記複数のエアバッグのそれぞれに対して給気及び排気を行う空気制御装置と、
前記空気制御装置の給気及び排気を制御する制御部と、
を備え、
前記複数のエアバッグは、前記複数のエアバッグが前記動作を行う回数である動作回数、及び前記動作が行われる時間である動作時間により規定された少なくとも1つの動作モードにより編成された第1コース及び第2コースに則って前記膨張及び前記収縮を行い、
前記第1コースは前記人の入眠時に実行され、前記第2コースは前記人の起床時に実行され、
前記第1コースにおいて実行される前記動作モードの単位時間当たりの数は、前記第2コースにおいて実行される前記動作モードの単位時間当たりの数よりも少なく、
前記制御部は、
前記第1コース及び前記第2コースを実行するか否かを示す情報である実行情報を受け付ける受付部と、
前記受付部が受け付けた前記実行情報に応じて前記第1コース及び前記第2コースの少なくともいずれかを前記空気制御装置に実行させる実行部と、
を備える、
寝具。
続きを表示(約 730 文字)
【請求項2】
前記寝具本体は、
前記第1面とは反対側を向く第2面と、
前記第2面上に設けられた第1スリットと、
を有する、
請求項1に記載の寝具。
【請求項3】
前記空気制御装置は、前記複数のエアバッグのそれぞれに接続されており各前記エアバッグに空気を供給するエアホースを有し、
前記エアホースの少なくとも一部が前記第1スリット内に設けられる、
請求項2に記載の寝具。
【請求項4】
前記寝具本体は、前記第1面上に第2スリットを有する、
請求項1又は請求項2に記載の寝具。
【請求項5】
前記寝具本体の前記第1面に対向する前記側地の上部は、伸縮性素材を有し、
前記複数のエアバッグに対して前記寝具本体とは反対側に位置する前記側地の下部は、前記伸縮性素材よりも伸縮性が低い非伸縮性素材を有し、
前記空気制御装置は、前記複数のエアバッグのそれぞれに接続されており各前記エアバッグに空気を供給するエアホースを有し、
前記エアホースは、前記下部に固定されている、
請求項1から請求項3のいずれか一項に記載の寝具。
【請求項6】
前記寝具本体の厚さは、3cm以上かつ15cm以下である、
請求項1から請求項3のいずれか一項に記載の寝具。
【請求項7】
前記寝具本体は、
上寝具と、
前記上寝具と対向して配置される下寝具と、
を有し、
前記複数のエアバッグは、前記上寝具と前記下寝具との間に介在する、
請求項1から請求項3のいずれか一項に記載の寝具。
発明の詳細な説明
【技術分野】
【0001】
本開示は、寝具に関する。
続きを表示(約 2,600 文字)
【背景技術】
【0002】
特許文献1には、睡眠装置及び睡眠システムが開示されている。この睡眠装置及び睡眠システムは、使用者の身体を支持する身体支持部と、使用者の睡眠情報を検知する睡眠情報検知手段と、使用者の睡眠情報を記憶するための記憶部と、使用者の身体に運動を行わせる運動付与手段と、使用者の睡眠情報に基づいて、使用者の睡眠状態を評価する睡眠状態評価手段と、睡眠状態評価手段の評価結果に基づいて、運動付与手段の制御方法を出力することが可能な制御手段と、を備える。
【0003】
睡眠装置は、身体支持部に相当するマットレスと、マイク及び体動センサを含む睡眠情報検知手段と、空気の供給によって膨らむ複数のエアセル、及びポンプを含む運動付与手段と、睡眠装置全体を制御する制御ユニットと、を備える。この睡眠装置は、使用者の起床時に実行するストレッチコースである「おはようコース」と、使用者が睡眠する前に実行するストレッチコースである「おやすみコース」と、を有する。「おはようコース」及び「おやすみコース」のそれぞれには、体を揺らす動作、下半身を中心としたウェーブ動作、腰及び肩をひねる動作、並びに、体を起こす動作等が含まれる。
【先行技術文献】
【特許文献】
【0004】
特開2019-150134号公報
【発明の概要】
【発明が解決しようとする課題】
【0005】
前述した複数のエアセルを有する睡眠装置のように、複数のエアバッグを有し、複数のエアバッグに対する空気の供給を制御して複数のストレッチコースを実行する寝具が知られている。しかしながら、このような寝具は、複数のストレッチコースを実行可能であるものの、各ストレッチコースにおけるエアバッグの膨張及び収縮の精度の点で改善の余地がある。この種の寝具では、エアバッグの膨張及び収縮をより高精度に行って、より快適に入眠及び目覚めを促進できることが求められる。
【0006】
本開示は、より快適に入眠及び目覚めを促進できる寝具を提供することを目的とする。
【課題を解決するための手段】
【0007】
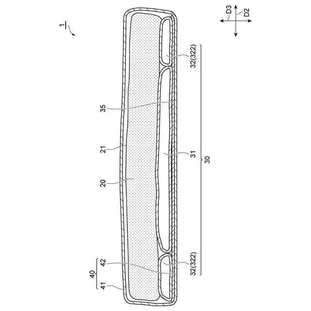
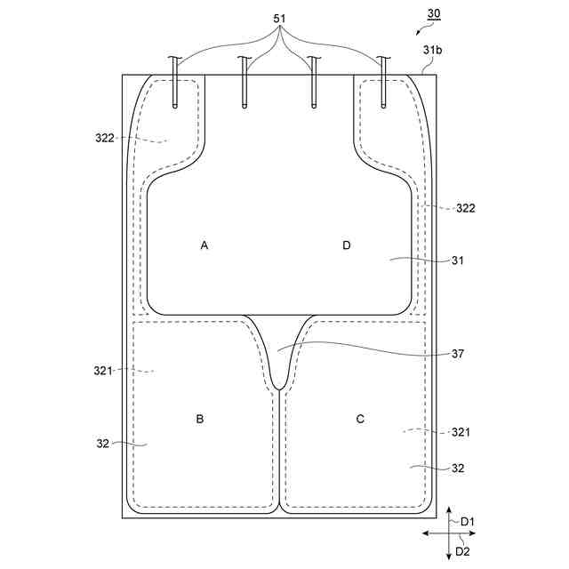
本開示に係るストレッチ寝具は、(1)第1方向に厚みを有し、第1方向に直交する平面に沿って延在するとともに人の身体が載せられる第1面を有する寝具本体と、寝具本体に取り付けられており、給気による膨張、及び排気による収縮を含む動作を行う複数のエアバッグと、寝具本体と複数のエアバッグとを収容する側地と、複数のエアバッグに接続されており、複数のエアバッグのそれぞれに対して給気及び排気を行う空気制御装置と、空気制御装置の給気及び排気を制御する制御部と、を備える。複数のエアバッグは、複数のエアバッグが動作を行う回数である動作回数、及び動作が行われる時間である動作時間により規定された少なくとも1つの動作モードにより編成された第1コース及び第2コースに則って膨張及び収縮を行う。第1コースは人の入眠時に実行される。第2コースは人の起床時に実行される。制御部は、第1コース及び第2コースを実行するか否かを示す情報である実行情報を受け付ける受付部と、受付部が受け付けた実行情報に応じて第1コース及び第2コースの少なくともいずれかを空気制御装置に実行させる実行部と、を備える。第1コースにおいて実行される動作モードの単位時間当たりの数は、第2コースにおいて実行される動作モードの単位時間当たりの数よりも少ない。
【0008】
この寝具において、寝具本体にはエアバッグが取り付けられている。エアバッグには空気制御装置が接続されており、エアバッグは給気による膨張、及び排気による収縮といった動作を行う。空気制御装置は、制御部によってエアバッグへの給気及び排気を制御される。エアバッグが動作を行う回数である動作回数、及び動作が行われる時間である動作時間によって、動作モードが規定されている。この寝具が備えるエアバッグは、動作回数及び動作時間が規定された動作モードに従って動作するので、エアバッグの膨張及び収縮の精度を高くすることができる。そして、動作モードにより第1コース及び第2コースが編成される。第1コースは人の入眠時に実行され、第2コースは人の起床時に実行される。第1コースにおいて実行される動作モードの単位時間当たりの数は、第2コースにおいて実行される動作モードの単位時間当たりの数よりも少ない。これにより、入眠時に実行される第1コースでは、ゆっくりとした動きにより人にリラックスを促進する刺激を提供し、人の副交感神経を活性化させることができ、人をスムーズに睡眠に導くことができる。一方、起床時に実行される第2コースでは、活発な動きにより人に刺激を提供し、人の交感神経を活性化させることができる。よって、人が目覚めたときにすぐに活動を開始できるように支援でき、人の目覚めを促進することができる。従って、この寝具によれば、より快適に入眠及び目覚めを促進できる。
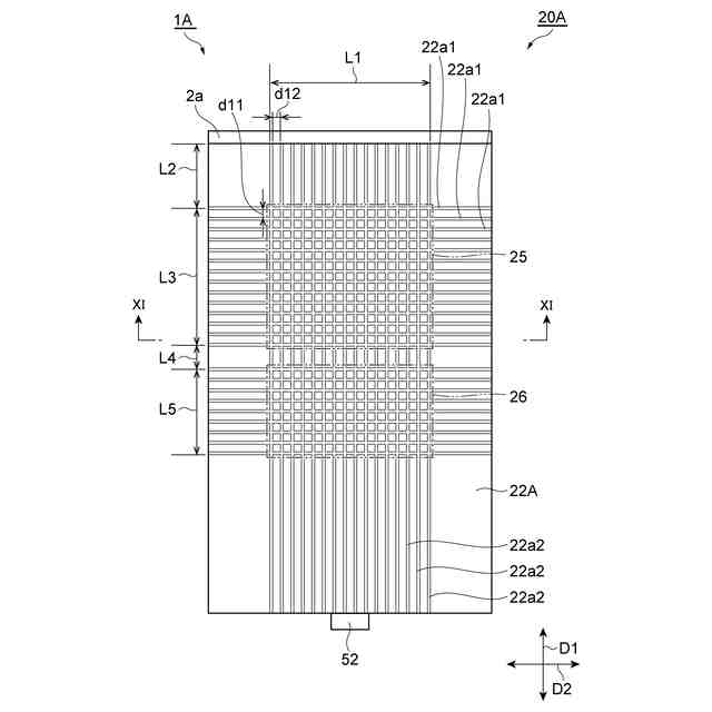
【0009】
(2)上記(1)において、寝具本体は、第1面とは反対側を向く第2面と、第2面上に設けられた第1スリットと、を有してもよい。この場合、寝具本体において、人の身体が載せられる第1面とは反対側の第2面に第1スリットが設けられることにより、寝具本体を局所的に変形させることができる。これにより、寝具本体は柔軟に局所的に変形するので、寝具本体の変形がエアバッグの膨張に追従しやすくなる。例えば、寝具本体を、膨張したエアバッグを取り囲むような状態とすることができる。よって、寝具本体に載った人における不快感をより確実に軽減し、より快適に入眠及び目覚めを促進できる。
【0010】
(3)上記(2)において、空気制御装置は、複数のエアバッグのそれぞれに接続されており各エアバッグに空気を供給するエアホースを有してもよい。エアホースの少なくとも一部が第1スリット内に設けられてもよい。この場合、エアホースの少なくとも一部がスリット内に設けられることにより、寝具本体の表面におけるエアホースの露出量を低減できる。これにより、第2面に露出したエアホースによる寝具本体の変形を防止できるので、人に違和感を感じさせにくくすることができ、より快適に入眠及び目覚めを促進できる。
(【0011】以降は省略されています)
この特許をJ-PlatPat(特許庁公式サイト)で参照する
関連特許
西川株式会社
枕
1か月前
西川株式会社
寝具
2か月前
西川株式会社
掛け寝具
2日前
西川株式会社
マットレス芯材およびマットレス
1か月前
個人
箸
1か月前
個人
家具
4か月前
個人
椅子
3か月前
個人
掃除機
9か月前
個人
自助箸
7か月前
個人
耳拭き棒
11か月前
個人
枕
9か月前
個人
枕
5か月前
個人
ソファー
2か月前
個人
体洗い具
10か月前
個人
掃除用具
4か月前
個人
屋外用箒
7か月前
個人
多用途紐
1か月前
個人
ハンガー
7か月前
個人
掃除道具
9か月前
個人
物品
3か月前
個人
開閉トング
6か月前
個人
掃除シート
9か月前
個人
組立式棚板
7か月前
個人
片手代替具
11か月前
個人
省煙消臭器
9か月前
個人
シャワー装置
6か月前
個人
受け皿
6か月前
個人
転倒防止装置
5か月前
個人
経典表示装置
5か月前
個人
靴ベラ
2か月前
個人
中身のない枕
7か月前
個人
紙コップ 蓋
2か月前
個人
ゴミ袋保持枠
7か月前
個人
バターナイフ
1か月前
個人
洗面台
11か月前
個人
コーナーシール
10か月前
続きを見る
他の特許を見る