TOP
|
特許
|
意匠
|
商標
特許ウォッチ
Twitter
他の特許を見る
10個以上の画像は省略されています。
公開番号
2025141813
公報種別
公開特許公報(A)
公開日
2025-09-29
出願番号
2025023300
出願日
2025-02-17
発明の名称
細胞の生存能に関する情報を取得する情報取得方法、情報取得システム、情報取得プログラム、及び記録媒体
出願人
キヤノン株式会社
,
キヤノンメディカルシステムズ株式会社
代理人
個人
,
個人
,
個人
,
個人
主分類
C12Q
1/02 20060101AFI20250919BHJP(生化学;ビール;酒精;ぶどう酒;酢;微生物学;酵素学;突然変異または遺伝子工学)
要約
【課題】経時的に撮影した細胞画像中の各細胞のトラッキング情報と生細胞領域判定結果をもとに、細胞の生存能に関する情報を取得できる。
【解決手段】複数の異なる撮影タイミングに撮影された複数の細胞画像を取得する画像取得工程と、前記複数の細胞画像に存在する細胞領域について、生細胞を含む生細胞領域か否かを判定する生細胞領域判定工程と、第二のタイミングに撮影された細胞画像に存在する生細胞領域を起点として、前記複数の異なる撮影タイミングに撮影された複数の細胞画像のそれぞれに存在する、同じ細胞領域に由来する生細胞領域同士の対応付けを第一のタイミングまで時系列を遡って行うトラッキング工程と、前記第一のタイミングに撮影された細胞画像に存在する細胞領域のうち、前記トラッキング工程においてトラッキングできた生細胞領域を生存能ありと判定する生存能判定工程を有することを特徴とする、情報取得方法。
【選択図】なし
特許請求の範囲
【請求項1】
第一のタイミング及び第二のタイミングを含む複数の異なる撮影タイミングに撮影された複数の細胞画像を取得する画像取得工程と、
前記複数の細胞画像のそれぞれに存在する細胞領域について、生細胞を含む生細胞領域か否かを判定する生細胞領域判定工程と、
前記第二のタイミングに撮影された細胞画像に存在する生細胞領域を起点として、前記複数の異なる撮影タイミングに撮影された複数の細胞画像のそれぞれに存在する、同じ細胞領域に由来する生細胞領域同士の対応付けを前記第一のタイミングまで時系列を遡って行うことで、同じ細胞領域に由来する生細胞領域をトラッキングするトラッキング工程と、
前記第一のタイミングに撮影された細胞画像に存在する細胞領域のうち、前記トラッキング工程においてトラッキングできた生細胞領域を生存能ありと判定する生存能判定工程を有することを特徴とする、細胞の生存能に関する情報を取得する情報取得方法。
続きを表示(約 1,100 文字)
【請求項2】
前記第一のタイミングに撮影された細胞画像に存在する細胞領域のうち、前記生存能判定工程において生存能ありと判定された生細胞領域の数及びその割合の少なくとも何れか一方を算出する生存能定量算出工程をさらに含む、請求項1に記載の情報取得方法。
【請求項3】
前記画像取得工程において、前記細胞画像が、生細胞と死細胞の少なくとも何れか一方を染色する試薬によって染色操作を行った細胞を撮影した細胞画像であり、
前記生細胞領域判定工程において、前記細胞領域の前記試薬による染色度合の違いに基づいて生細胞領域か否かを判定することを特徴とする、請求項1に記載の情報取得方法。
【請求項4】
前記生細胞領域判定工程において、前記細胞画像のうちの対象とする細胞領域を含む少なくとも一部、及び前記細胞画像のうちの対象とする細胞領域を含む少なくとも一部より算出される画像特徴量の少なくとも何れか一方を入力として、生細胞領域か否かを判定した結果を出力とするよう学習させた分類器を用いて判定することを特徴とする、請求項1に記載の情報取得方法。
【請求項5】
前記トラッキング工程において、前記第一のタイミングと前記第二のタイミングとの間で融合又は分離が起きた生細胞領域を同じ細胞領域に由来する生細胞領域であるとして対応付けることを特徴とする、請求項1に記載の情報取得方法。
【請求項6】
請求項1乃至5のいずれか一項に記載の情報取得方法を、コンピュータに実行させるための情報取得プログラム。
【請求項7】
請求項6に記載の情報取得プログラムをコンピュータで読み取り可能な形式で保存した記録媒体。
【請求項8】
第一のタイミング及び第二のタイミングを含む複数の異なる撮影タイミングに撮影された複数の細胞画像を取得する画像取得部と、
前記複数の細胞画像のそれぞれに存在する細胞領域について、生細胞を含む生細胞領域か否かを判定する生細胞領域判定部と、
前記第二のタイミングに撮影された細胞画像に存在する生細胞領域を起点として、前記複数の異なる撮影タイミングに撮影された複数の細胞画像のそれぞれに存在する、同じ細胞領域に由来する生細胞領域同士の対応付けを前記第一のタイミングまで時系列を遡って行うことで、同じ細胞領域に由来する生細胞領域をトラッキングするトラッキング部と、
前記第一のタイミングに撮影された細胞画像に存在する細胞領域のうち、前記トラッキング部によりトラッキングできた生細胞領域を生存能ありと判定する生存能判定部を有することを特徴とする、細胞の生存能に関する情報を取得する情報取得システム。
発明の詳細な説明
【技術分野】
【0001】
本明細書の開示は、細胞の生存能に関する情報を取得する情報取得方法、情報取得システム、情報取得プログラム、及び記録媒体に関する。
続きを表示(約 2,800 文字)
【背景技術】
【0002】
細胞培養・細胞製造の分野においては、細胞の生死状態の判別や生細胞数の計数が非常に重要で、培養・製造工程、品質検査工程においてルーチン的に行われている。
現在、最も普及している手法は、トリパンブルー等の死細胞染色試薬で染色した評価用細胞サンプルの画像を撮影し、染色されていないものを生細胞、染色されたものを死細胞と判定し、それぞれの数を計数するというものである。
【0003】
細胞の状態が時々刻々と変化し、生細胞と死細胞の数が経時的に変化することを踏まえて、特許文献1には、細胞の経時画像を撮影し、各細胞領域について生死判定を行う技術が開示されている。さらには、各画像の細胞領域同士の対応付けを行って、死細胞判定された割合が一定以上の場合に死細胞と判定する技術が開示されている。
また、特許文献2には、異なる2つのタイミングで細胞の経時画像を撮影し、それぞれのタイミングで細胞死イベントの頻度を解析して比較する技術が開示されている。
【先行技術文献】
【特許文献】
【0004】
特開2006-314214号公報
特開2017-023055号公報
【発明の概要】
【発明が解決しようとする課題】
【0005】
従来技術では細胞の生存能に関する情報を取得することが困難であった。
本発明は、上記の課題に鑑み、細胞ストック等に含まれる細胞の生存能に関する情報を取得する情報取得方法、情報取得システム、情報取得プログラム、及び記録媒体の提供を目的とする。
【課題を解決するための手段】
【0006】
本発明によれば、第一のタイミング及び第二のタイミングを含む複数の異なる撮影タイミングに撮影された複数の細胞画像を取得する画像取得工程と、
前記複数の細胞画像のそれぞれに存在する細胞領域について、生細胞を含む生細胞領域か否かを判定する生細胞領域判定工程と、
前記第二のタイミングに撮影された細胞画像に存在する生細胞領域を起点として、前記複数の異なる撮影タイミングに撮影された複数の細胞画像のそれぞれに存在する、同じ細胞領域に由来する生細胞領域同士の対応付けを前記第一のタイミングまで時系列を遡って行うことで、同じ細胞領域に由来する生細胞領域をトラッキングするトラッキング工程と、
前記第一のタイミングに撮影された細胞画像に存在する細胞領域のうち、前記トラッキング工程においてトラッキングできた生細胞領域を生存能ありと判定する生存能判定工程を有することを特徴とする、細胞の生存能に関する情報を取得する情報取得方法が提供される。
【0007】
また、本発明によれば、上記情報取得方法をコンピュータに実行させるための情報取得プログラムが提供される。また、本発明によれば、上記情報取得プログラムをコンピュータで読み取り可能な形式で保存した記録媒体が提供される。
【0008】
また、本発明によれば、第一のタイミング及び第二のタイミングを含む複数の異なる撮影タイミングに撮影された複数の細胞画像を取得する画像取得部と、
前記複数の細胞画像のそれぞれに存在する細胞領域について、生細胞を含む生細胞領域か否かを判定する生細胞領域判定部と、
前記第二のタイミングに撮影された細胞画像に存在する生細胞領域を起点として、前記複数の異なる撮影タイミングに撮影された複数の細胞画像のそれぞれに存在する、同じ細胞領域に由来する生細胞領域同士の対応付けを前記第一のタイミングまで時系列を遡って行うことで、同じ細胞領域に由来する生細胞領域をトラッキングするトラッキング部と、
前記第一のタイミングに撮影された細胞画像に存在する細胞領域のうち、前記トラッキング部によりトラッキングできた生細胞領域を生存能ありと判定する生存能判定部を有することを特徴とする、細胞の生存能に関する情報を取得する情報取得システムが提供される。
【発明の効果】
【0009】
本明細書の開示によれば、経時的に撮影した細胞画像中の各細胞のトラッキング情報と生細胞領域判定結果をもとに、細胞の生存能に関する情報を取得できる。これにより、特に細胞ストック等の大ロットの細胞の品質検査において、細胞の使用者に対しより有用な情報を提供することができる。
【図面の簡単な説明】
【0010】
本発明にかかる情報取得方法の例を示すフロー。
本発明にかかる情報取得システムの構成例を示す図。
本発明にかかる情報取得システムのハードウェア構成例を示す図。
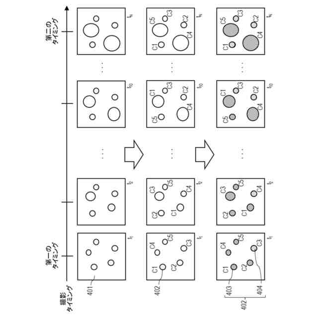
生細胞領域判定工程の処理方法の例を示す図。
生細胞領域判定工程で出力されたデータの例を示す図。
細胞領域抽出工程の例を示すフロー。
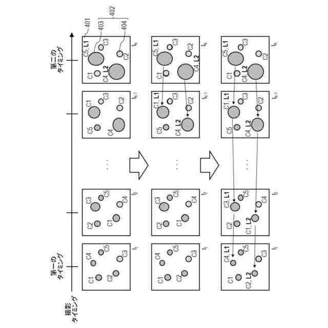
トラッキング工程の処理方法の第一例を示すフロー。
トラッキング工程の処理方法の第一例を示す図。
トラッキング工程で出力されたデータの第一例を示す図。
トラッキング工程の処理方法の第二例を示す図。
トラッキング工程で出力されたデータの第二例を示す図。
生細胞又は死細胞に対して染色操作を行い、可視光を吸収する試薬を添加して撮影した細胞画像の生細胞領域判定工程の例を示す図。
生細胞領域判定工程で出力されたデータの例を示す図。
生細胞又は死細胞に対して染色操作を行い、蛍光を発する試薬を添加して撮影した細胞画像の生細胞領域判定工程の例を示す図。
事前学習済みの分類器を用いた生細胞領域判定工程の例を示す図。
生細胞領域判定工程で出力されたデータの例を示す図。
(a)~(f)細胞領域の融合や分離が起こる場合のトラッキング工程の処理方法の第一例を示す図。
(a)~(f)細胞領域の融合や分離が起こる場合のトラッキング工程の処理方法の第二例を示す図。
生存能の判定結果を画像データとともに表示するUI画面の第一例を示す図。
生存能の判定結果を画像データとともに表示するUI画面の第二例を示す図。
生存能の判定結果を画像データとともに表示するUI画面の第三例を示す図。
実施例と参考例における、生存率とコンフルエンシーの相関と、生細胞率とコンフルエンシーの相関との比較結果を示す図。
実施例と参考例における、生存数とコンフルエンシーの相関を示す図。
【発明を実施するための形態】
(【0011】以降は省略されています)
この特許をJ-PlatPat(特許庁公式サイト)で参照する
関連特許
キヤノン株式会社
記録装置
14日前
キヤノン株式会社
電子機器
6日前
キヤノン株式会社
電子機器
14日前
キヤノン株式会社
撮像装置
14日前
キヤノン株式会社
定着装置
21日前
キヤノン株式会社
定着装置
21日前
キヤノン株式会社
定着装置
21日前
キヤノン株式会社
撮像装置
13日前
キヤノン株式会社
記録装置
13日前
キヤノン株式会社
撮像装置
12日前
キヤノン株式会社
電子機器
6日前
キヤノン株式会社
電子機器
2日前
キヤノン株式会社
電子機器
今日
キヤノン株式会社
定着装置
6日前
キヤノン株式会社
定着装置
12日前
キヤノン株式会社
表示装置
5日前
キヤノン株式会社
撮像装置
6日前
キヤノン株式会社
発光装置
5日前
キヤノン株式会社
収容装置
6日前
キヤノン株式会社
電子機器
21日前
キヤノン株式会社
半導体装置
今日
キヤノン株式会社
画像形成装置
2日前
キヤノン株式会社
有機発光素子
12日前
キヤノン株式会社
画像形成装置
2日前
キヤノン株式会社
画像形成装置
5日前
キヤノン株式会社
画像形成装置
2日前
キヤノン株式会社
映像表示装置
2日前
キヤノン株式会社
画像形成装置
6日前
キヤノン株式会社
画像形成装置
2日前
キヤノン株式会社
画像形成装置
2日前
キヤノン株式会社
撮像システム
14日前
キヤノン株式会社
画像形成装置
2日前
キヤノン株式会社
画像形成装置
5日前
キヤノン株式会社
画像形成装置
2日前
キヤノン株式会社
画像記録装置
14日前
キヤノン株式会社
画像形成装置
2日前
続きを見る
他の特許を見る