TOP
|
特許
|
意匠
|
商標
特許ウォッチ
Twitter
他の特許を見る
公開番号
2025141184
公報種別
公開特許公報(A)
公開日
2025-09-29
出願番号
2024040995
出願日
2024-03-15
発明の名称
実験支援システム、実験支援方法、および実験支援プログラム
出願人
株式会社レゾナック
代理人
個人
,
個人
,
個人
,
個人
主分類
G16C
20/30 20190101AFI20250919BHJP(特定の用途分野に特に適合した情報通信技術)
要約
【課題】組成物を効率的に探索する実験支援システム並びに実験支援方法及びプログラムを提供する。
【解決手段】実験支援システムは、目的組成物を生成するための条件を示すパラメータセットと、該パラメータセットに基づく実験によって得られた該目的組成物の特性値との関係を信頼区間と共に示す計算モデルを、パラメータセットと特性値との1以上のペアを含むサンプルデータでの該ペアの個数を増やしながら、該サンプルデータを用いた回帰分析によって繰り返し更新し、計算モデルが更新される度に、該更新された計算モデルに基づいて新たなパラメータセットを決定し、新たなパラメータセットに基づく実験によって目的組成物の新たな特性値が得られなかった場合に、該新たなパラメータセットに対応する信頼区間に基づいて仮の特性値を設定し、該新たなパラメータセットと該仮の特性値との新たなペアを更に含むサンプルデータを用いて計算モデルを更新する。
【選択図】図3
特許請求の範囲
【請求項1】
少なくとも一つのプロセッサを備え、
前記少なくとも一つのプロセッサが、
目的組成物を生成するための条件を示す1以上のパラメータの集合であるパラメータセットと、該パラメータセットに基づく実験によって得られた該目的組成物の特性値との関係を信頼区間と共に示す計算モデルを、前記パラメータセットと前記特性値との1以上のペアを含むサンプルデータでの該ペアの個数を増やしながら、該サンプルデータを用いた回帰分析によって繰り返し更新し、
前記計算モデルが更新される度に、該更新された計算モデルに基づいて新たなパラメータセットを決定し、
前記新たなパラメータセットに基づく前記実験によって前記目的組成物の新たな特性値が得られなかった場合に、該新たなパラメータセットに対応する前記信頼区間に基づいて仮の特性値を設定し、該新たなパラメータセットと該仮の特性値との新たなペアを更に含む前記サンプルデータを用いて前記計算モデルを更新する、
実験支援システム。
続きを表示(約 1,600 文字)
【請求項2】
前記少なくとも一つのプロセッサが、前記計算モデルの前記更新において、
前記実験によって得られた前記特性値を含む1以上のペアを実験サンプルグループとして前記サンプルデータから特定し、
前記実験サンプルグループを用いた前記回帰分析によって前記計算モデルを仮に更新し、
前記実験によって前記特性値が得られなかった1以上のパラメータセットのそれぞれについて、前記仮に更新された計算モデルにおいて該パラメータセットに対応する前記信頼区間に基づいて前記仮の特性値を設定し、該パラメータセットと該仮の特性値とのペアを生成し、
前記実験サンプルグループと、前記生成された1以上のペアにより構成される非実験サンプルグループとによって構成される前記サンプルデータを用いた前記回帰分析によって、前記計算モデルを更新する、
請求項1に記載の実験支援システム。
【請求項3】
前記少なくとも一つのプロセッサが、
前記更新された計算モデルに基づく最適化手法によって前記新たなパラメータセットを決定し、
前記新たなパラメータセットに基づいて前記新たな特性値が得られなかった場合に、前記新たなパラメータセットに対応する前記信頼区間と、前記最適化手法の目標値とに基づいて、前記仮の特性値を設定する、
請求項1または2に記載の実験支援システム。
【請求項4】
前記少なくとも一つのプロセッサが、前記新たなパラメータセットに対応する前記信頼区間において、前記目標値に対応する限界値から最も離れた値を、前記仮の特性値として設定する、
請求項3に記載の実験支援システム。
【請求項5】
少なくとも一つのプロセッサを備える実験支援システムによって実行される実験支援方法であって、
目的組成物を生成するための条件を示す1以上のパラメータの集合であるパラメータセットと、該パラメータセットに基づく実験によって得られた該目的組成物の特性値との関係を信頼区間と共に示す計算モデルを、前記パラメータセットと前記特性値との1以上のペアを含むサンプルデータでの該ペアの個数を増やしながら、該サンプルデータを用いた回帰分析によって繰り返し更新するステップと、
前記計算モデルが更新される度に、該更新された計算モデルに基づいて新たなパラメータセットを決定するステップと、
前記新たなパラメータセットに基づく前記実験によって前記目的組成物の新たな特性値が得られなかった場合に、該新たなパラメータセットに対応する前記信頼区間に基づいて仮の特性値を設定し、該新たなパラメータセットと該仮の特性値との新たなペアを更に含む前記サンプルデータを用いて前記計算モデルを更新するステップと、
を含む実験支援方法。
【請求項6】
目的組成物を生成するための条件を示す1以上のパラメータの集合であるパラメータセットと、該パラメータセットに基づく実験によって得られた該目的組成物の特性値との関係を信頼区間と共に示す計算モデルを、前記パラメータセットと前記特性値との1以上のペアを含むサンプルデータでの該ペアの個数を増やしながら、該サンプルデータを用いた回帰分析によって繰り返し更新するステップと、
前記計算モデルが更新される度に、該更新された計算モデルに基づいて新たなパラメータセットを決定するステップと、
前記新たなパラメータセットに基づく前記実験によって前記目的組成物の新たな特性値が得られなかった場合に、該新たなパラメータセットに対応する前記信頼区間に基づいて仮の特性値を設定し、該新たなパラメータセットと該仮の特性値との新たなペアを更に含む前記サンプルデータを用いて前記計算モデルを更新するステップと、
をコンピュータに実行させる実験支援プログラム。
発明の詳細な説明
【技術分野】
【0001】
本開示の一側面は、実験支援システム、実験支援方法、および実験支援プログラムに関する。
続きを表示(約 1,900 文字)
【背景技術】
【0002】
組成物に関する実験を支援するためのコンピュータシステムが知られている。例えば特許文献1には、1以上のモノクローナル抗体(mAb)に関連する実験データおよび計算導出データに基づいて複数の候補予測モデルを決定することと、複数の候補予測モデルから最適な予測モデルを決定することとを含む方法を実施するように構成された計算デバイスと、予測モデルの出力を表示するように構成されたユーザデバイスとを備えるシステムが記載されている。
【先行技術文献】
【特許文献】
【0003】
特表2023-548364号公報
【発明の概要】
【発明が解決しようとする課題】
【0004】
組成物を生成するための条件を示すパラメータと該組成物の特性値との関係を示す計算モデルを更新しながら実験を繰り返す場合に、パラメータによっては実際には特性値が得られないことがある。このような状況が発生した場合にも組成物を効率的に探索するための仕組みが望まれている。
【課題を解決するための手段】
【0005】
本開示の一側面に係る実験支援システムは、少なくとも一つのプロセッサを備え、少なくとも一つのプロセッサが、目的組成物を生成するための条件を示す1以上のパラメータの集合であるパラメータセットと、該パラメータセットに基づく実験によって得られた該目的組成物の特性値との関係を信頼区間と共に示す計算モデルを、パラメータセットと特性値との1以上のペアを含むサンプルデータでの該ペアの個数を増やしながら、該サンプルデータを用いた回帰分析によって繰り返し更新し、計算モデルが更新される度に、該更新された計算モデルに基づいて新たなパラメータセットを決定し、新たなパラメータセットに基づく実験によって目的組成物の新たな特性値が得られなかった場合に、該新たなパラメータセットに対応する信頼区間に基づいて仮の特性値を設定し、該新たなパラメータセットと該仮の特性値との新たなペアを更に含むサンプルデータを用いて計算モデルを更新する。
【0006】
回帰分析によって得られる計算モデルではパラメータセットと特性値との関係が数学的に示される。しかし、実際には、パラメータセットに基づいて実験を行っても特性値を得られない場合があり得る。上記の側面においては、計算モデルの信頼区間を用いて仮の特性値を設定してサンプルデータを増やした上で計算モデルを更新することで、実験のための新たなパラメータセットを決定できる。その結果、組成物を効率的に探索できる。
【発明の効果】
【0007】
本開示の一側面によれば、組成物を効率的に探索できる。
【図面の簡単な説明】
【0008】
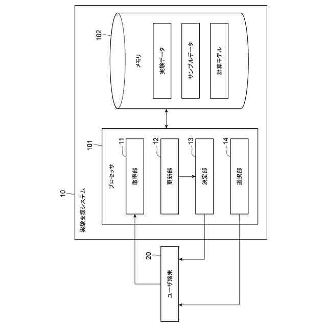
実験支援システムの機能構成の例を示す図である。
実験支援システムによる処理の例を示すフローチャートである。
計算モデルの更新に関する第1の例を示すフローチャートである。
計算モデルの更新に関する第2の例を示すフローチャートである。
第1の例における計算モデルの更新の一場面を示す図である。
第2の例における計算モデルの更新の一場面を示す図である。
【発明を実施するための形態】
【0009】
以下、添付図面を参照しながら本開示での様々な例を詳細に説明する。図面の説明において同一または同等の要素には同一の符号を付し、重複する説明を省略する。
【0010】
[システムの構成]
本開示に係る実験支援システムは、目的組成物を生成するための実験を支援するコンピュータシステムである。本開示において、目的組成物とは、実験者が所望の組成物を得るために生成を試みる組成物をいう。最終的には或る目的組成物が所望の組成物として採用され得る。実験支援システムは実験を支援するためにパラメータセットを決定する。パラメータセットとは、目的組成物を生成するための条件を示す1以上のパラメータの集合をいう。個々のパラメータは、組成物を生成するための原料の属性を示してもよいし、実験で行われるプロセスの条件を示してもよい。実験支援システムは、実験者が望むかもしれない目的組成物の生成が期待されるパラメータセットを自動で生成および提供する。このパラメータセットを用いることで、組成物を効率的に探索できると期待される。
(【0011】以降は省略されています)
この特許をJ-PlatPat(特許庁公式サイト)で参照する
関連特許
個人
支援システム
4か月前
個人
医療のAI化
22日前
個人
管理装置
4か月前
個人
対話システム
4か月前
個人
通知ぬいぐるみAIシステム
29日前
個人
情報システムおよび方法
6か月前
株式会社タカゾノ
薬剤秤量装置
2か月前
株式会社タカゾノ
薬剤秤量装置
2か月前
株式会社タカゾノ
薬剤秤量装置
3か月前
株式会社タカゾノ
薬剤秤量装置
2か月前
株式会社タカゾノ
薬剤秤量装置
2か月前
株式会社タカゾノ
薬剤秤量装置
2か月前
株式会社リコー
投薬管理システム
23日前
個人
診療の管理装置及び診療システム
2か月前
ゾーン株式会社
コンピュータシステム
5か月前
株式会社M-INT
情報処理システム
5か月前
株式会社CureApp
プログラム
2か月前
大王製紙株式会社
作業管理システム
6か月前
株式会社サンクスネット
情報提供システム
4か月前
株式会社 137
健康観察管理システム
4か月前
株式会社ミラボ
情報処理装置、及びプログラム
2か月前
歯っぴー株式会社
口内状態の画像診断方法
1か月前
株式会社タカゾノ
薬剤秤量装置及び調剤システム
3か月前
合同会社フォース
オンライン診療システム
5か月前
西川株式会社
サービス出力システム
4か月前
株式会社エフアンドエフ
在宅健康チェックシステム
4か月前
株式会社サンクスネット
健康医療情報管理システム
1か月前
HITOTSU株式会社
手術管理システム1
5か月前
株式会社SECRET MEDICINE
管理装置
23日前
二九精密機械工業株式会社
健康管理要素評価支援システム
3か月前
株式会社ジーシー
予測方法および予測システム
4か月前
株式会社メディファーム
代替候補品目付き相互作用禁忌DB
6か月前
日本光電工業株式会社
医療支援装置
5か月前
まちなかMEセンター株式会社
生体情報管理システム
2か月前
日本光電工業株式会社
医療支援装置
5か月前
株式会社HJ Link‐do
オンライン診療システム
5か月前
続きを見る
他の特許を見る