TOP
|
特許
|
意匠
|
商標
特許ウォッチ
Twitter
他の特許を見る
10個以上の画像は省略されています。
公開番号
2025141169
公報種別
公開特許公報(A)
公開日
2025-09-29
出願番号
2024040980
出願日
2024-03-15
発明の名称
スピンドル装置、荷重センサの校正方法および加工荷重の算出方法
出願人
NTN株式会社
代理人
弁理士法人深見特許事務所
主分類
G01L
25/00 20060101AFI20250919BHJP(測定;試験)
要約
【課題】加工荷重を正確に算出することが可能なスピンドル装置、荷重センサの校正方法および加工荷重の算出方法を提供する。
【解決手段】スピンドル装置100は、軸受ユニット1を備える。軸受ユニット1は荷重センサ11を搭載している。スピンドル装置100は、演算部31と記憶部32と有する。演算部31は、荷重センサ11から出力される出力情報Sから軸受ユニット1に加わる加工荷重Fを算出する。軸受ユニット1は、回転可能な主軸4を有する。記憶部32には、計測荷重F1と第1出力情報S1との第1関係R1が記憶されている。計測荷重F1は、主軸4の静止状態において軸受ユニット1に加えられる。第1出力情報S1は、計測荷重F1が軸受ユニット1に加えられた際に荷重センサ11から出力される。演算部31は、第1関係R1を基に出力情報Sから加工荷重Fを算出する。
【選択図】図2
特許請求の範囲
【請求項1】
軸受ユニットを備えたスピンドル装置であって、
前記軸受ユニットは荷重センサを搭載し、
前記スピンドル装置は、
前記荷重センサから出力される出力情報から前記軸受ユニットに加わる加工荷重を算出する演算部と、
記憶部とを有し、
前記軸受ユニットは、回転可能な主軸を有し、
前記記憶部には、
前記主軸の静止状態において前記軸受ユニットに加えられる計測荷重と、
前記計測荷重が前記軸受ユニットに加えられた際に前記荷重センサから出力される第1出力情報と、の第1関係が記憶されており、
前記演算部は、前記第1関係を基に前記出力情報から前記加工荷重を算出する、スピンドル装置。
続きを表示(約 1,200 文字)
【請求項2】
前記記憶部には、
前記主軸の回転状態における前記主軸の回転数と、
前記主軸の回転状態における前記荷重センサから出力される第2出力情報と、の第2関係が記憶されており、
前記演算部は、前記第1関係および前記第2関係を基に前記出力情報から前記加工荷重を算出する、請求項1に記載のスピンドル装置。
【請求項3】
前記荷重センサは、複数の荷重センサ素子を含み、
複数の前記荷重センサ素子は、前記主軸が伸びる中心軸に対して同一円周上に配置されている、請求項1または請求項2に記載のスピンドル装置。
【請求項4】
荷重計測用治具を更に備え、
前記計測荷重は、前記軸受ユニットが前記荷重計測用治具を押圧した状態で計測される、請求項1または請求項2に記載のスピンドル装置。
【請求項5】
前記主軸が伸びる方向を軸方向とすると、
前記計測荷重は、前記軸受ユニットが前記荷重計測用治具を前記軸方向に押圧した状態で計測される、請求項4に記載のスピンドル装置。
【請求項6】
前記主軸が伸びる方向に対して垂直な方向を径方向とすると、
前記計測荷重は、前記軸受ユニットが前記荷重計測用治具を前記径方向に押圧した状態で計測される、請求項4に記載のスピンドル装置。
【請求項7】
軸受ユニットと荷重計測用治具とを有するスピンドル装置を準備する工程と、
記憶する工程とを備え、
前記軸受ユニットは荷重センサを搭載し、
前記軸受ユニットは、回転可能な主軸を有し、
前記記憶する工程は、前記軸受ユニットに加わる加工荷重を算出するために用いられる第1関係を記憶する工程を含み、
前記第1関係を記憶する工程において、
前記主軸の静止状態において前記軸受ユニットが前記荷重計測用治具を押圧した状態で計測される計測荷重と、
前記計測荷重が計測された際に前記荷重センサから出力される第1出力情報と、の前記第1関係を記憶する、荷重センサの校正方法。
【請求項8】
前記記憶する工程は、前記加工荷重を算出するために用いられる第2関係を記憶する工程を含み、
前記第2関係を記憶する工程において、
前記主軸の回転状態における前記主軸の回転数と、
前記主軸の回転状態における前記荷重センサから出力される第2出力情報と、の前記第2関係を記憶する、請求項7に記載の荷重センサの校正方法。
【請求項9】
軸受ユニットを有するスピンドル装置を準備する工程と、
前記軸受ユニットを用いて加工する工程とを備え、
前記加工する工程において、
請求項7または請求項8に記載の荷重センサの校正方法を用いて得られた前記第1関係を基に前記荷重センサから出力される出力情報から前記軸受ユニットに加わる前記加工荷重を算出する、加工荷重の算出方法。
発明の詳細な説明
【技術分野】
【0001】
本開示は、スピンドル装置、荷重センサの校正方法および加工荷重の算出方法に関する。
続きを表示(約 1,800 文字)
【背景技術】
【0002】
工作機械等のスピンドル装置では、加工精度および効率の向上のため、加工荷重や軸受の予圧荷重の管理が求められている。スピンドル装置は、軸受に異常が起こる前にその予兆を検出して、軸受の異常を未然に防ぐことも求められている。
【0003】
特開2023-47505号公報(特許文献1)には、間座を介して背面合わせした1対のアンギュラ玉軸受において、間座にひずみセンサを取り付け、間座のひずみ量から軸受の予圧量を計測するスピンドル装置が開示されている。
【先行技術文献】
【特許文献】
【0004】
特開2023-47505号公報
【発明の概要】
【発明が解決しようとする課題】
【0005】
しかしながら、ひずみセンサなどの荷重センサの出力と荷重との関係を得るために、当該荷重センサ単体で校正試験が行われることが一般的である。加工時において荷重センサで検出される荷重は、主軸に加わる加工荷重だけでなく、主軸の回転に伴って発生する負荷が含まれる。そのため、荷重センサ単体の校正試験で得られた荷重センサの出力と荷重との関係から、実際に主軸に加わる加工荷重を正確に算出することは困難であった。
【0006】
本開示は、上記の課題を解決するためになされたものであって、その目的は、加工荷重を正確に算出することが可能なスピンドル装置、荷重センサの校正方法および加工荷重の算出方法を提供することである。
【課題を解決するための手段】
【0007】
本開示に従ったスピンドル装置は、軸受ユニットを備える。軸受ユニットは荷重センサを搭載している。スピンドル装置は、演算部と記憶部と有する。演算部は、荷重センサから出力される出力情報から軸受ユニットに加わる加工荷重を算出する。軸受ユニットは、回転可能な主軸を有する。記憶部には、計測荷重と第1出力情報との第1関係が記憶されている。計測荷重は、主軸の静止状態において軸受ユニットに加えられる。第1出力情報は、計測荷重が軸受ユニットに加えられた際に荷重センサから出力される。演算部は、第1関係を基に出力情報から加工荷重を算出する。
【0008】
本開示に従った荷重センサの校正方法は、軸受ユニットと荷重計測用治具とを有するスピンドル装置を準備する工程と、記憶する工程とを備える。軸受ユニットは荷重センサを搭載している。軸受ユニットは、回転可能な主軸を有する。記憶する工程は、軸受ユニットに加わる加工荷重を算出するために用いられる第1関係を記憶する工程を含む。第1関係を記憶する工程において、計測荷重と第1出力情報との第1関係を記憶する。計測荷重は、主軸の静止状態において軸受ユニットが荷重計測用治具を押圧した状態で計測される。第1出力情報は、計測荷重が計測された際に荷重センサから出力される。
【発明の効果】
【0009】
本開示によれば、加工荷重を正確に算出することが可能なスピンドル装置、荷重センサの校正方法および加工荷重の算出方法を提供することができる。
【図面の簡単な説明】
【0010】
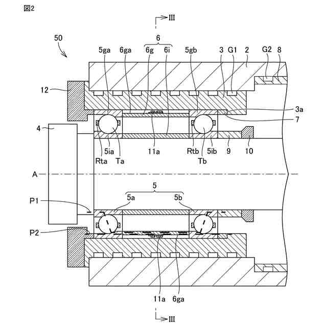
実施の形態1の軸受ユニットの概略構成を示す断面図である。
図1の左側主要部の部分拡大断面図である。
図2の線分III-IIIにおける断面図である。
荷重センサの模式的な構造図である。
荷重センサの概略構成を示す図である。
荷重センサの出力情報を処理するデータ処理部の機能ブロック図である。
荷重センサの校正方法を示すフローチャートである。
軸方向の計測荷重が計測されるスピンドル装置の側面図である。
複数の荷重センサ素子から出力された第1出力情報と軸方向の計測荷重との関係を示すグラフである。
径方向の計測荷重が計測されるスピンドル装置の側面図である。
径方向の計測荷重が計測されるスピンドル装置の平面図である。
複数の荷重センサ素子から出力された第1出力情報と径方向の計測荷重との関係を示すグラフである。
第1関係と第2関係とを示すグラフである。
実施の形態2の軸受ユニットの断面図である。
実施の形態3の軸受ユニットの断面図である。
【発明を実施するための形態】
(【0011】以降は省略されています)
この特許をJ-PlatPat(特許庁公式サイト)で参照する
関連特許
個人
メジャー文具
7日前
日本精機株式会社
位置検出装置
13日前
日本精機株式会社
位置検出装置
13日前
ユニパルス株式会社
ロードセル
6日前
日本精機株式会社
位置検出装置
13日前
大和製衡株式会社
組合せ秤
18日前
大和製衡株式会社
組合せ秤
18日前
アズビル株式会社
圧力センサ
12日前
トヨタ自動車株式会社
監視装置
5日前
株式会社ユーシン
操作検出装置
15日前
ダイキン工業株式会社
監視装置
4日前
株式会社東芝
センサ
18日前
株式会社東芝
センサ
18日前
トヨタ自動車株式会社
表示装置
27日前
株式会社ヨコオ
ソケット
5日前
エイブリック株式会社
磁気センサ回路
12日前
株式会社チノー
放射光測温装置
6日前
トヨタ自動車株式会社
検査装置
15日前
株式会社ヨコオ
ソケット
6日前
TDK株式会社
ガスセンサ
6日前
株式会社ナリス化粧品
角層細胞採取用具
25日前
TDK株式会社
磁気センサ
5日前
個人
粘塑性を用いた有限要素法の定式化
27日前
TDK株式会社
ガスセンサ
12日前
TDK株式会社
ガスセンサ
11日前
株式会社東芝
重量測定装置
11日前
東レエンジニアリング株式会社
計量装置
15日前
日本特殊陶業株式会社
センサ
4日前
三菱マテリアル株式会社
温度センサ
25日前
日本特殊陶業株式会社
センサ
4日前
日本特殊陶業株式会社
センサ
4日前
日本特殊陶業株式会社
センサ
4日前
日本特殊陶業株式会社
センサ
4日前
中国電力株式会社
電柱管理システム
4日前
ダイハツ工業株式会社
移動支援装置
5日前
中国電力株式会社
異常箇所検出装置
26日前
続きを見る
他の特許を見る