TOP
|
特許
|
意匠
|
商標
特許ウォッチ
Twitter
他の特許を見る
公開番号
2025140409
公報種別
公開特許公報(A)
公開日
2025-09-29
出願番号
2024039795
出願日
2024-03-14
発明の名称
機械式継手、該機械式継手が鋼管端部に設けられた鋼管同士の接合方法
出願人
JFEスチール株式会社
代理人
個人
主分類
E02D
5/24 20060101AFI20250919BHJP(水工;基礎;土砂の移送)
要約
【課題】簡単な構造と部品のみで施工時における鋼管の傾斜を修正できる機械式継手、該機械式継手が鋼管端部に設けられた鋼管同士の接合方法を得る。
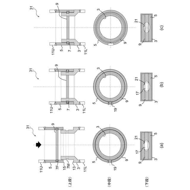
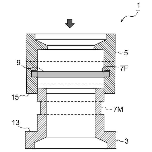
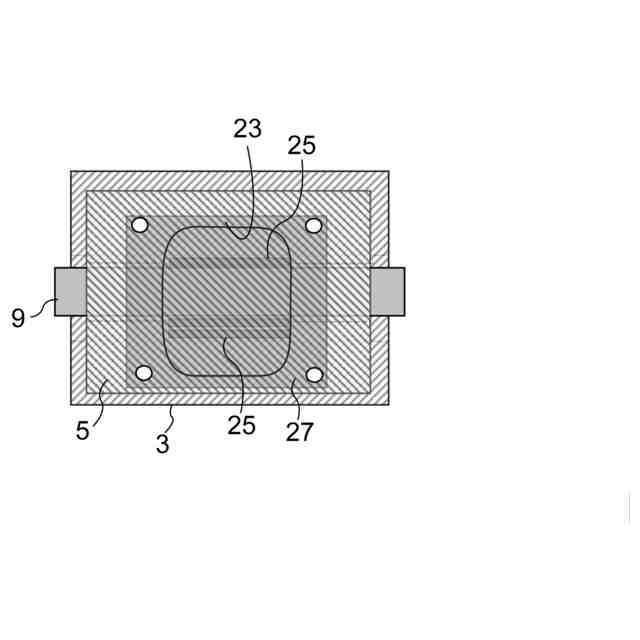
【解決手段】本発明に係る機械式継手1は、PIN継手3とBOX継手5と、環状溝7と、C型リング部材9と、BOX継手5の環状溝7の幅がC型リング部材9の幅と略同一に設定され、PIN継手3の環状溝7の幅はBOX継手5の環状溝7よりも幅広に設定されており、BOX継手5の周方向に略等間隔に3カ所以上、挿入が完了した状態において幅広に設定されたPIN継手33の環状溝7の全幅が見えるようなシム挿入用開口部23が設けられ、シム挿入用開口部23から幅広に設定された環状溝7とC型リング部材9の隙間にシム25を挿入できるようにした。
【選択図】 図1
特許請求の範囲
【請求項1】
管状のPIN継手と、該PIN継手が挿入されるBOX継手と、前記PIN継手の外周面と前記BOX継手の内周面のそれぞれに対向するように形成された一段以上の環状溝と、前記BOX継手又は前記PIN継手の前記環状溝に前記PIN継手の前記BOX継手への挿入を妨げないように格納可能、かつ前記挿入状態において前記環状溝内で前記BOX継手側と前記PIN継手側に跨るように配置可能なC型リング部材と、を備え、鋼管端部に取り付けられて鋼管同士を接合する機械式継手であって、
前記BOX継手環状溝の幅が前記C型リング部材の幅と略同一に設定され、前記PIN継手の環状溝の幅は前記BOX継手の環状溝よりも幅広に設定されており、
前記BOX継手の周方向に略等間隔に3カ所以上、前記挿入が完了した状態において幅広に設定された前記PIN継手の環状溝の全幅が見えるようなシム挿入用開口部が設けられ、該シム挿入用開口部から前記PIN継手の環状溝と前記C型リング部材の隙間にシムを挿入できるようにした機械式継手。
続きを表示(約 280 文字)
【請求項2】
請求項1に記載の機械式継手が鋼管端部に設けられた鋼管同士の接合方法であって、
前記PIN継手をBOX継手に挿入完了状態にした後、C型リング部材をBOX継手とPIN継手に跨るように配置し、その後に上側の鋼管を垂直方向に向けて角度調整し、その後、前記シム挿入用開口部から幅広に設定された環状溝と前記C型リング部材の隙間にシムを挿入して、上側の鋼管の下側の鋼管に対する角度を固定する鋼管同士の接合方法。
【請求項3】
前記シムの挿入後、前記シム挿入用開口部を覆う板部材を設置する請求項2に記載の鋼管同士の接合方法。
発明の詳細な説明
【技術分野】
【0001】
鋼管杭や鋼管矢板等の鋼管同士を接合する機械式継手、該機械式継手が鋼管端部に設けられた鋼管同士の接合方法に関する。
続きを表示(約 1,500 文字)
【背景技術】
【0002】
鋼管杭・鋼管矢板の接合については、従来から現場溶接主体で行われてきたが、近年は技能者減少、工期短縮、品質管理などから機械式継手による接合が増加してきている。
鋼管杭・鋼管矢板では、管状の継手部材を鋼管とは別に製造し、接合する鋼管の端部にそれぞれ継手部材を溶接によって取り付け、継手部材同士を接合する方式が一般的である。
【0003】
鋼管杭や鋼管矢板は地盤中への施工が行われるため、鉛直精度に留意して施工したとしても、わずかに傾斜してしまう場合がある。傾斜した場合、溶接での接合においては、上側鋼管を鉛直方向に姿勢修正し、それによって下側鋼管と上側鋼管の間に生じた隙間を溶接によって調節する。これによって、下側鋼管が傾斜している場合でも上側鋼管を鉛直に接合することが可能である。
【0004】
しかし、機械式継手を用いた接合では、下側鋼管の傾斜に合わせて上側鋼管を設置しなければならないため、上側鋼管を鉛直に接合することができないという問題があり、それに対応する技術として、以下のようなものが考案されている。
【0005】
特許文献1は、傾斜に対応した連結部材を介して上側継手と下側継手を繋ぐものであり、特許文献2は継手自身に傾斜を調整できる姿勢調整機構を組み込んだものである。
【先行技術文献】
【特許文献】
【0006】
特開2016-121452号公報
特開2016-151131号公報
【発明の概要】
【発明が解決しようとする課題】
【0007】
鋼管杭や鋼管矢板の施工現場で発生する傾斜は現場状況によって異なり、施工が完了するまで確定しない。そのため、特許文献1の方法では、傾斜に応じた様々な連結部材を事前に準備しておく必要がある上、発生した傾斜が想定外の場合には適用できない連結部材も発生し、非常にコストが掛かるという問題がある。
【0008】
特許文献2は、現場の傾斜状況に応じた対応が可能になっている継手であるが、姿勢調整機構を組み込むために、複雑な加工と特殊な部品が必要となり、コストが掛かるという問題がある。
【0009】
本発明はかかる課題を解決するためになされたものであり、簡単な構造と部品のみで施工時における鋼管の傾斜を修正できる機械式継手、該機械式継手が鋼管端部に設けられた鋼管同士の接合方法を得ることを目的としている。
【課題を解決するための手段】
【0010】
(1)本発明に係る機械式継手は、管状のPIN継手と、該PIN継手が挿入されるBOX継手と、前記PIN継手の外周面と前記BOX継手の内周面のそれぞれに対向するように形成された一段以上の環状溝と、前記BOX継手又は前記PIN継手の前記環状溝に前記PIN継手の前記BOX継手への挿入を妨げないように格納可能、かつ前記挿入状態において前記環状溝内で前記BOX継手側と前記PIN継手側に跨るように配置可能なC型リング部材と、を備え、鋼管端部に取り付けられて鋼管同士を接合する機械式継手であって、
前記BOX継手環状溝の幅が前記C型リング部材の幅と略同一に設定され、前記PIN継手の環状溝の幅は前記BOX継手の環状溝よりも幅広に設定されており、
前記BOX継手の周方向に略等間隔に3カ所以上、前記挿入が完了した状態において幅広に設定された前記PIN継手の環状溝の全幅が見えるようなシム挿入用開口部が設けられ、該シム挿入用開口部から前記PIN継手の環状溝と前記C型リング部材の隙間にシムを挿入できるようにしたものである。
(【0011】以降は省略されています)
この特許をJ-PlatPat(特許庁公式サイト)で参照する
関連特許
個人
鋼管
17日前
FKS株式会社
擁壁
6日前
鈴健興業株式会社
敷板部材
2日前
株式会社クボタ
作業車
4日前
株式会社奥村組
ケーソン工法
9日前
株式会社クボタ
作業車
4日前
個人
擁壁用ブロックおよび擁壁
3日前
株式会社ネクステリア
平板基礎
2日前
株式会社奥村組
ケーソン刃口金物
9日前
株式会社大林組
建物の構造
3日前
株式会社武井工業所
積みブロック
26日前
株式会社熊谷組
密度計測方法
4日前
株式会社大林組
袋体付き排水パイプ
16日前
株式会社大林組
袋体付き排水パイプ
16日前
日立建機株式会社
作業機械
24日前
日立建機株式会社
建設機械
2日前
日立建機株式会社
作業機械
6日前
ヤマト発動機株式会社
浮遊型消波装置
6日前
大和ハウス工業株式会社
杭抜き先端具
10日前
ゼニヤ海洋サービス株式会社
通船ゲート
16日前
株式会社フジタ
掘削機
25日前
鹿島建設株式会社
接続方法および接続構造
16日前
日立建機株式会社
電動式作業機械
2日前
株式会社フジタ
建築物とその施工方法
16日前
JFEスチール株式会社
鋼管矢板の継手構造
18日前
JFEスチール株式会社
鋼管矢板の継手構造
18日前
JFEスチール株式会社
鋼管矢板の継手構造
6日前
有限会社 櫂設計事務所
掘削・撹拌具
1か月前
株式会社大林組
建物の構築方法及び建物
16日前
株式会社武井工業所
積みブロック用基礎ブロック
26日前
浙江工業大学
多機能土柱モデル装置及び使用方法
2日前
株式会社熊谷組
杭頭処理構造、杭頭処理方法
6日前
株式会社小松製作所
作業機械
26日前
日立建機株式会社
作業機械
1か月前
住友建機株式会社
作業機械、操作支援システム
10日前
日立建機株式会社
作業機械
3日前
続きを見る
他の特許を見る