TOP
|
特許
|
意匠
|
商標
特許ウォッチ
Twitter
他の特許を見る
10個以上の画像は省略されています。
公開番号
2025139844
公報種別
公開特許公報(A)
公開日
2025-09-29
出願番号
2024038897
出願日
2024-03-13
発明の名称
診断装置、および診断方法
出願人
NTN株式会社
代理人
弁理士法人深見特許事務所
主分類
G05B
23/02 20060101AFI20250919BHJP(制御;調整)
要約
【課題】回転機械に設置するセンサに関するセンサ情報を自動的に出力する。
【解決手段】診断装置100は、部品群21を有する風力発電装置20を診断する。診断装置100の演算装置102は、異常情報を用いて、部品群21から異常部品を特定する。演算装置102は、風力発電装置20への設置を推奨するセンサを示すセンサ情報を、異常部品に基づいて生成する。そして、インタフェース106は、センサ情報を出力する。
【選択図】図1
特許請求の範囲
【請求項1】
少なくとも1つの部品を有する回転機械の診断装置であって、
インタフェースと、
演算装置とを備え、
前記インタフェースは、前記少なくとも1つの部品から異常部品を特定するための異常情報を取得し、
前記演算装置は、
前記異常情報に基づいて、前記異常部品を特定し、
前記回転機械への設置を推奨するセンサを示すセンサ情報を、前記異常部品に基づいて生成し、
前記インタフェースは、前記センサ情報を出力する、診断装置。
続きを表示(約 1,000 文字)
【請求項2】
前記センサ情報は、
前記異常部品に応じた第1センサを示す第1センサ情報と、
前記回転機械に標準で設置される第2センサを示す第2センサ情報と、
前記第1センサ情報が特定可能となる特定情報を含む、請求項1に記載の診断装置。
【請求項3】
前記センサ情報は、前記センサの種別と、該センサの設置位置とのうちの少なくとも1つを含む情報である、請求項1または請求項2に記載の診断装置。
【請求項4】
前記センサ情報は、前記回転機械を示す画像情報を含み、
前記センサの種別と、該センサの設置位置とのうちの少なくとも1つを含む情報は、前記画像情報に対応付けられている、請求項3に記載の診断装置。
【請求項5】
前記センサ情報は、前記センサを前記回転機械に設置する作業の見積額を含む、請求項1または請求項2に記載の診断装置。
【請求項6】
前記センサ情報は、前記センサを前記回転機械に設置する作業の開始時期を含む、請求項1または請求項2に記載の診断装置。
【請求項7】
前記センサ情報は、前記センサを前記回転機械に設置する理由を示す理由情報を含む、請求項1または請求項2に記載の診断装置。
【請求項8】
前記センサ情報は、前記異常部品の種別を含む、請求項1または請求項2に記載の診断装置。
【請求項9】
前記異常情報は、
前記回転機械への作業者による点検結果を示す第1異常情報と、
前記回転機械に既に設置されている設置済センサにより検出された物理量の計測データである第2異常情報と、
前記回転機械の機種情報を示す第3異常情報とのうちの少なくとも1つを含む、請求項1または請求項2に記載の診断装置。
【請求項10】
前記回転機械は風力発電装置であり、
前記第2異常情報により示される計測データと、該計測データが検出された期間における前記回転機械が設置された場所の風速データとに基づいて第1相関係数を算出し、
前記センサ情報は、前記第1相関係数の絶対値が第1閾値よりも大きい場合に、前記センサとして風速センサを前記回転機械に設置することを推奨する風速センサ情報を含む、請求項9に記載の診断装置。
(【請求項11】以降は省略されています)
発明の詳細な説明
【技術分野】
【0001】
本開示は、診断装置、および診断方法に関する。
続きを表示(約 1,500 文字)
【背景技術】
【0002】
たとえば、特開2013-185507号公報には、状態監視システムが開示されている。状態監視システムは、風力発電装置の主軸および増速機などの状態を監視する。風力発電装置の所定の診断箇所には、振動値を検出する振動センサなどが設置されている。状態監視システムは、該振動センサからの振動データなどの運転条件に関する計測データを収集する。そして、状態監視システムは、該計測データに基づいて、風力発電装置の異常診断を実施する。
【先行技術文献】
【特許文献】
【0003】
特開2013-185507号公報
【発明の概要】
【発明が解決しようとする課題】
【0004】
上述の状態監視システムによる異常診断の精度を向上させるために、技術者は、風力発電装置などの回転機械に設置するセンサの種別などを示す適切なプランを作成することが好ましい。しかしながら、このようなプランを作成する作業には、技術者による多大な負担が必要となる。つまり、従来の状態監視システムにおいては、回転機械に設置するセンサに関するセンサ情報を作成することが困難であるという問題が生じ得る。
【0005】
本開示は、上記課題を解決するためになされたものであり、その目的は、回転機械に設置するセンサに関するセンサ情報を自動的に出力することである。
【課題を解決するための手段】
【0006】
本開示の診断装置は、少なくとも1つの部品を有する回転機械の診断装置である。診断装置は、インタフェースと、演算装置とを備える。インタフェースは、少なくとも1つの部品から異常部品を特定するための異常情報を取得する。演算装置は、異常情報に基づいて、異常部品を特定する。演算装置は、回転機械への設置を推奨するセンサを示すセンサ情報を、異常部品に基づいて生成する。インタフェースは、センサ情報を出力する。
【0007】
本開示の診断方法は、少なくとも1つの部品を有する回転機械の診断方法である。診断方法は、少なくとも1つの部品から異常部品を特定するための異常情報を取得することを備える。診断方法は、異常情報に基づいて、異常部品を特定することを備える。診断方法は、回転機械への設置を推奨するセンサを示すセンサ情報を、異常部品に基づいて生成することを備える。診断方法は、センサ情報を出力することを備える。
【発明の効果】
【0008】
本開示によれば、回転機械に設置するセンサに関するセンサ情報を自動で出力することができる。
【図面の簡単な説明】
【0009】
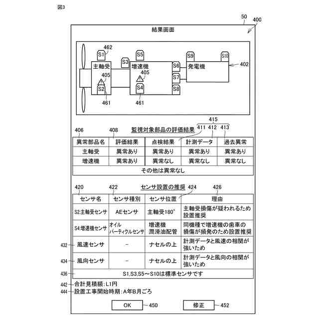
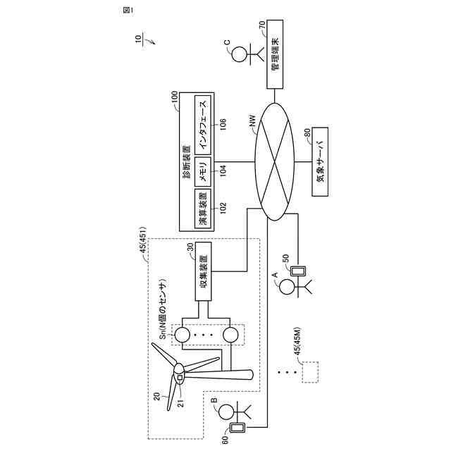
本実施の形態の診断システムの構成例を示す図である。
ユーザ端末が表示する入力画面の一例を示す図である。
ユーザ端末が表示するセンサ情報の一例を示す図である。
ユーザDBの一例である。
異常事例DBの一例である。
センサDBの一例である。
管理DBの一例である。
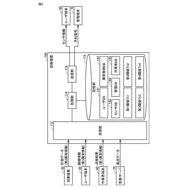
診断装置の機能ブロック図である。
診断装置の主な処理を示すフローチャートである。
図9のステップS2の処理の詳細を示すフローチャートである。
図10のステップS24の処理を示すフローチャートである。
【発明を実施するための形態】
【0010】
以下、本発明の実施の形態について図面を参照しつつ説明する。なお、以下の図面において同一または相当する部分には同一の参照番号を付し、その説明は繰り返さない。
(【0011】以降は省略されています)
この特許をJ-PlatPat(特許庁公式サイト)で参照する
関連特許
NTN株式会社
基板
14日前
NTN株式会社
玉軸受
22日前
NTN株式会社
玉軸受
1日前
NTN株式会社
玉軸受
15日前
NTN株式会社
玉軸受
23日前
NTN株式会社
ハンド
9日前
NTN株式会社
把持装置
9日前
NTN株式会社
軸受装置
1日前
NTN株式会社
焼結軸受
1日前
NTN株式会社
密封装置
1か月前
NTN株式会社
軸受装置
1日前
NTN株式会社
作業装置
7日前
NTN株式会社
軸受装置
1日前
NTN株式会社
密封装置
7日前
NTN株式会社
把持装置
9日前
NTN株式会社
軸受装置
1日前
NTN株式会社
軸受装置
21日前
NTN株式会社
転がり軸受
15日前
NTN株式会社
深溝玉軸受
1か月前
NTN株式会社
転がり軸受
2日前
NTN株式会社
荷積込装置
2日前
NTN株式会社
転がり軸受
1日前
NTN株式会社
転がり軸受
9日前
NTN株式会社
状態監視装置
8日前
NTN株式会社
円筒ころ軸受
23日前
NTN株式会社
回転伝達装置
7日前
NTN株式会社
シール付軸受
7日前
NTN株式会社
等速自在継手
21日前
NTN株式会社
軸受用保持器
1か月前
NTN株式会社
基板取付構造
21日前
NTN株式会社
回転伝達装置
2日前
NTN株式会社
回転伝達装置
2日前
NTN株式会社
モータユニット
11日前
NTN株式会社
リンク作動装置
3日前
NTN株式会社
車輪用軸受装置
23日前
NTN株式会社
車輪用軸受装置
1か月前
続きを見る
他の特許を見る