TOP
|
特許
|
意匠
|
商標
特許ウォッチ
Twitter
他の特許を見る
10個以上の画像は省略されています。
公開番号
2025127965
公報種別
公開特許公報(A)
公開日
2025-09-02
出願番号
2024024989
出願日
2024-02-21
発明の名称
車輪用軸受装置
出願人
NTN株式会社
代理人
弁理士法人矢野内外国特許事務所
主分類
B60B
35/14 20060101AFI20250826BHJP(車両一般)
要約
【課題】フェイススプラインを圧接支持するときに、仮止め用部品を用いて仮組みすることで、締結ボルトを容易に螺合することができる車輪用軸受装置1を提供する。
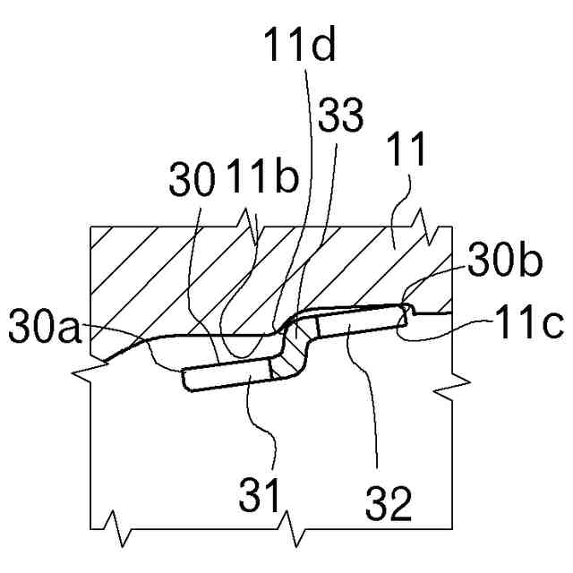
【解決手段】外輪2と、ハブ輪3及び内輪4と、ボール5と、等速自在継手20と、を備える車輪用軸受装置1であって、ハブ輪3のインナー側端部には、加締部11が設けられ、加締部11のインナー側端面と、等速自在継手20の肩部25には、フェイススプライン11a・25aが形成されており、等速自在継手20のアウター側に連結部26を設け、加締部11の内径と等速自在継手20の連結部26外径との間に備えられる仮止め用部品30を設け、仮止め用部品30は、等速自在継手20の連結部26のアウター側端部の外径の軸径よりも径が小さい第一の段差部26bと、加締部11のインナー側端部の内径よりも径が大きい第二の段差部11cと、によって軸方向移動が制限される。
【選択図】図1
特許請求の範囲
【請求項1】
内周に外側軌道面を有する外方部材と、
前記外側軌道面に対向する内側軌道面を有する内方部材と、
前記外側軌道面と前記内側軌道面との間に転動自在に収容された転動体と、前記内方部材に連結される等速自在継手と、を備える車輪用軸受装置であって、
前記内方部材のインナー側端部には、加締部が設けられており、
前記加締部のインナー側端面と、前記等速自在継手の肩部には、フェイススプラインが形成されており、
前記等速自在継手のアウター側に連結部を設け、
前記加締部の内径と前記等速自在継手の連結部外径との間に備えられる仮止め用部品を設け、
前記仮止め用部品は、前記等速自在継手の連結部のアウター側端部の外径の軸径よりも径が小さい第一の段差部と、前記加締部のインナー側端部の内径よりも径が大きい第二の段差部と、によって軸方向移動が制限される、
ことを特徴とする車輪用軸受装置。
続きを表示(約 950 文字)
【請求項2】
前記仮止め用部品は、前記等速自在継手の前記第一の段差部によってアウター側への軸方向移動が制限される第一の筒部と、前記加締部内径の前記第二の段差部によってインナー側への軸方向移動が制限される第二の筒部と、前記第一の筒部と前記第二の筒部とを連結する中間部と、を有する、
ことを特徴とする請求項1に記載の車輪用軸受装置。
【請求項3】
前記加締部の内径面及び前記等速自在継手の連結部の外径面は、軸芯に対して傾斜する、
ことを特徴とする請求項1に記載の車輪用軸受装置。
【請求項4】
前記加締部の内径面及び前記等速自在継手の連結部の外径面の傾斜角度は15度以下である、
ことを特徴とする請求項3に記載の車輪用軸受装置。
【請求項5】
前記第一の筒部及び第二の筒部には、少なくとも1以上の軸方向に延びるスリットが設けられている、
ことを特徴とする請求項2に記載の車輪用軸受装置。
【請求項6】
前記仮止め用部品は、軸方向一方端から他方端にかけての切込み部を有する、
ことを特徴とする請求項2に記載の車輪用軸受装置。
【請求項7】
前記第一の段差部と当接する前記第一の筒部及び前記第二の段差部と当接する前記第二の筒部は、先細り形状または先太り形状で形成される、
ことを特徴とする請求項2に記載の車輪用軸受装置。
【請求項8】
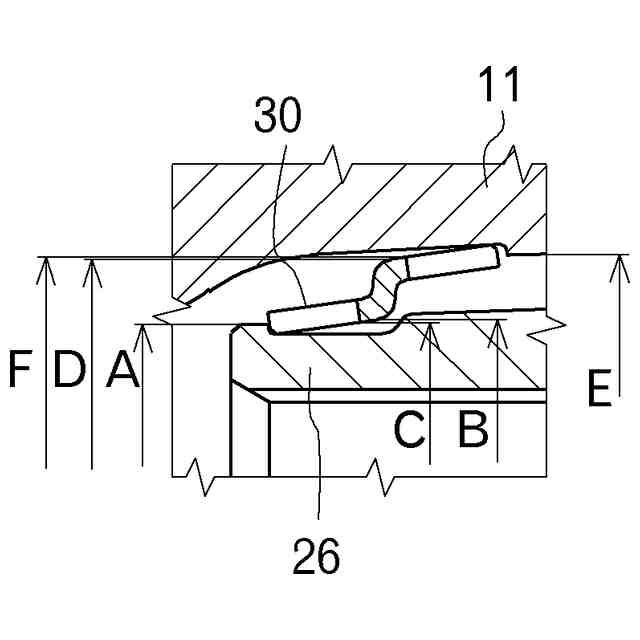
前記仮止め用部品の前記第一の筒部の内径Bは、前記等速自在継手の連結部のアウター側端部の外径面の外径Aよりも大きい、
ことを特徴とする請求項2に記載の車輪用軸受装置。
【請求項9】
前記仮止め用部品の前記等速自在継手の連結部外径に装着される前記第一の筒部に設けられたスリットの径Cについて、
B>C>A
である、
ことを特徴とする請求項8に記載の車輪用軸受装置。
【請求項10】
前記加締部内径の段差部の内径Eは、前記仮止め用部品の前記第二の筒部の外径Dよりも大きい、
ことを特徴とする請求項2に記載の車輪用軸受装置。
(【請求項11】以降は省略されています)
発明の詳細な説明
【技術分野】
【0001】
本発明は、車輪用軸受装置の技術に関する。
続きを表示(約 1,800 文字)
【背景技術】
【0002】
従来、自動車の車輪用軸受装置として、複列のアンギュラ玉軸受が一般に用いられている。前記車輪用軸受装置は、外方部材と、内方部材と、外方部材及び内方部材にそれぞれ形成される軌道面に保持されるボールと、を備える。
【0003】
内方部材の一端にはフランジ部が形成されており、フランジ部に図示しないタイヤのホイールやブレーキディスクなどが取り付けられる。また、外方部材の外周面には車両の懸架装置に支持された車体側部材(図示せず)に取り付けるための固定フランジが形成されている。
【0004】
内方部材には、等速自在継手を介してドライブシャフトの回転駆動力が伝達される。回転駆動力を伝達する一方法として、内方部材を固定するための加締部にスプライン歯部(フェイススプライン)を形成し、このスプライン歯部と、等速ジョイントの外輪の端面に形成された歯部(フェイススプライン)とを噛み合わせる方法が知られている(例えば、特許文献1参照)。二つのフェイススプラインの組立方法として、締結ボルトにて両方のフェイススプラインを圧接支持されることで組立を行う。従来の等速自在継手においては、軸部(ステム部)にスプラインを形成したが、フェイススプラインは、内方部材の加締部に形成するため、等速自在継手の軸部(ステム部)が不要になる。これにより、等速自在継手においては、締結ボルトが螺合する部分のみの長さがあれば良く、軸方向長さの短縮を図ることができ、軽量化を図ることができる。
【先行技術文献】
【特許文献】
【0005】
特許第5556509号公報
【発明の概要】
【発明が解決しようとする課題】
【0006】
しかし、二つのフェイススプラインの組立において、等速自在継手のフェイススプラインが加締部のフェイススプラインに当接した状態で、締結ボルトが螺合するまで等速自在継手を支えておく必要がある。等速自在継手の軸部(ステム部)にスプラインを形成する一般的な構造の場合、等速自在継手の軸部が内方部材のハブ輪内径のスプラインに嵌合することで仮組みが完了するので、等速自在継手自体を支持する必要はなく、スピンドルナットを規定トルクで締め付けることで組立が完了する。
【0007】
しかし、フェイススプラインは両方のフェイススプラインが当接しても、その状態で仮組みされないので、等速自在継手自体を支持しながら、締結ボルトで等速自在継手の軸部の雌ねじを螺合する必要がある。
【0008】
本発明は以上の如き状況に鑑みてなされたものであり、両方のフェイススプラインを締結ボルトにて圧接支持するときに、仮組みすることで、等速自在継手を支えることなく締結ボルトを容易に螺合することができる車輪用軸受装置を提供することを課題とする。
【課題を解決するための手段】
【0009】
即ち、内周に外側軌道面を有する外方部材と、
前記外側軌道面に対向する内側軌道面を有する内方部材と、
前記外側軌道面と前記内側軌道面との間に転動自在に収容された転動体と、前記内方部材に連結される等速自在継手と、を備える車輪用軸受装置であって、
前記内方部材のインナー側端部には、加締部が設けられており、
前記加締部のインナー側端面と、前記等速自在継手の肩部には、フェイススプラインが形成されており、
前記加締部の内径と前記等速自在継手の連結部外径との間に備えられる仮止め用部品が設けられ、
前記仮止め用部品は、前記等速自在継手の連結部のアウター側端部の外径の軸径よりも径が小さい第一の段差部と、前記加締部のインナー側端部の内径よりも径が大きい第二の段差部と、によって軸方向移動が制限されるものである。
【発明の効果】
【0010】
本発明の効果として、以下に示すような効果を奏する。
即ち、本発明の車輪用軸受装置によれば、両方のフェイススプラインを締結ボルトにて圧接支持するときに、仮止め用部品を用いて仮組みすることで、等速自在継手を支えることなく締結ボルトを容易に螺合することができることができる。
【図面の簡単な説明】
(【0011】以降は省略されています)
この特許をJ-PlatPat(特許庁公式サイト)で参照する
関連特許
NTN株式会社
焼成軸受
9日前
NTN株式会社
焼成軸受
9日前
NTN株式会社
転がり軸受の設計方法
2日前
NTN株式会社
転がり軸受の耐電食性能評価方法
2日前
NTN株式会社
転がり軸受の耐電食性能評価方法
2日前
NTN株式会社
損傷状態診断システムおよび損傷状態診断方法
4日前
NTN株式会社
車輪用軸受装置
2日前
個人
タイヤレバー
3か月前
個人
前輪キャスター
2か月前
個人
上部一体型自動車
29日前
個人
タイヤ脱落防止構造
2か月前
個人
空間形成装置
2日前
個人
ルーフ付きトライク
2か月前
個人
ホイルのボルト締結
4か月前
個人
マスタシリンダ
1か月前
個人
車両通過構造物
3か月前
井関農機株式会社
作業車両
4か月前
井関農機株式会社
作業車両
4か月前
日本精機株式会社
表示装置
3か月前
日本精機株式会社
表示装置
3か月前
日本精機株式会社
表示装置
3か月前
日本精機株式会社
表示装置
2か月前
個人
キャンピングトライク
4か月前
個人
乗合路線バスの客室装置
3か月前
個人
車両用スリップ防止装置
4か月前
個人
アクセルのソフトウェア
4か月前
個人
キャンピングトレーラー
4か月前
個人
常設収納型サンバイザー
8日前
株式会社ニフコ
保持装置
4か月前
日本精機株式会社
車載表示装置
3日前
日本精機株式会社
車載表示装置
1か月前
日本精機株式会社
車載表示装置
10日前
日本精機株式会社
車載表示装置
4か月前
個人
円湾曲ホイール及び球体輪
3か月前
日本精機株式会社
車載表示装置
5日前
個人
車載小物入れ兼雨傘収納具
4か月前
続きを見る
他の特許を見る