TOP
|
特許
|
意匠
|
商標
特許ウォッチ
Twitter
他の特許を見る
公開番号
2025139811
公報種別
公開特許公報(A)
公開日
2025-09-29
出願番号
2024038855
出願日
2024-03-13
発明の名称
デジタルアナログ変換装置、表示ドライバ及び表示装置
出願人
ローム株式会社
代理人
弁理士法人レクスト国際特許事務所
主分類
H03M
1/66 20060101AFI20250919BHJP(基本電子回路)
要約
【目的】本発明は、ノイズを抑制して高品質なアナログの出力電圧を生成することが可能なデジタルアナログ変換装置、表示ドライバ及び表示装置を提供することを目的とする。
【構成】本発明は、バイナリーコードからなるデジタルデータ片中の上位NビットをNビットのグレイコードに変換し、Nビットのグレイコードと、デジタルデータ片から上位Nビットを省いたKビットのバイナリーコードと、からなる変換デジタルデータ片を出力するグレイコード変換回路と、互いに異なる電圧値を有する複数の参照電圧のうちから、変換デジタルデータ片中のNビットのグレイコードに基づく2つの参照電圧を選択する第1のデコーダと、変換デジタルデータ片中のKビットのバイナリーコードに基づき、夫々が2つの参照電圧のうちの一方又は他方を有する(K+1)個の電圧を出力する第2のデコーダと、当該(K+1)個の電圧の平均電圧を増幅することでアナログの電圧を生成する増幅回路と、を有する。
【選択図】図2
特許請求の範囲
【請求項1】
バイナリーコードからなるデジタルデータ片をアナログの電圧に変換するデジタルアナログ変換装置であって、
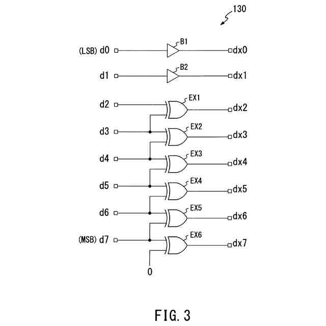
前記デジタルデータ片を受け、前記デジタルデータ片中の上位N(Nは2以上の整数)ビットをNビットのグレイコードに変換し、前記Nビットのグレイコードと、前記デジタルデータ片から前記上位Nビットを省いたK(Kは2以上の整数)ビットのバイナリーコードと、からなる変換デジタルデータ片を出力するグレイコード変換回路と、
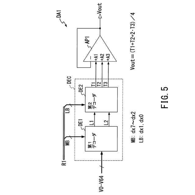
互いに異なる電圧値を有する複数の参照電圧を受け、前記複数の参照電圧のうちから、前記変換デジタルデータ片中の前記Nビットのグレイコードに基づく2つの参照電圧を選択する第1のデコーダと、
前記変換デジタルデータ片中の前記Kビットのバイナリーコードに基づき、夫々が前記2つの参照電圧のうちの一方又は他方を有する(K+1)個の電圧を出力する第2のデコーダと、
前記(K+1)個の電圧を受け、前記(K+1)個の電圧の平均電圧を増幅することで前記アナログの電圧を生成する増幅回路と、を有することを特徴とするデジタルアナログ変換装置。
続きを表示(約 1,700 文字)
【請求項2】
前記第1のデコーダは、前記複数の参照電圧のうちから、前記グレイコードに対応した大きさを有する、互いに隣接する一対の参照電圧を前記2つの参照電圧として選択することを特徴とする請求項1に記載のデジタルアナログ変換装置。
【請求項3】
前記増幅回路は、自身の出力端子及び反転入力端子同士が接続されており且つ前記(K+1)個の電圧を個別に受ける(K+1)個の非反転入力端子を備えた、内挿機能を有するオペアンプであり、
前記(K+1)個の電圧を所定の重み付け比をもって平均化することで、前記2つの参照電圧を線形補間した2
K
個の電圧のうちの1の電圧を、前記アナログの電圧として出力することを特徴とする請求項1又は2に記載のデジタルアナログ変換装置。
【請求項4】
映像信号に基づく各画素の輝度レベルをバイナリーコードで表す画素データ片の系列を受け、前記画素データ片の系列に含まれるn(nは2以上の整数)個の前記画素データ片毎に、前記画素データ片の各々を前記輝度レベルに対応した電圧値を有する第1~第nの出力電圧に変換して表示パネルの第1~第nのデータ線に供給する第1~第nのデジタルアナログ変換回路を含む表示ドライバであって、
前記画素データ片中の上位N(Nは2以上の整数)ビットをNビットのグレイコードに変換し、前記Nビットのグレイコードと、前記画素データ片から前記上位Nビットを省いたK(Kは2以上の整数)ビットのバイナリーコードと、からなる変換画素データ片を出力するグレイコード変換回路を含み、
前記第1~第nのデジタルアナログ変換回路の各々は、
互いに異なる電圧値を有する複数の参照電圧を受け、前記複数の参照電圧のうちから、前記変換画素データ片中の前記Nビットのグレイコードに基づく2つの参照電圧を選択する第1のデコーダと、
前記変換画素データ片中の前記Kビットのバイナリーコードに基づき、夫々が前記2つの参照電圧のうちの一方又は他方を有する(K+1)個の電圧を出力する第2のデコーダと、
前記(K+1)個の電圧を受け、前記(K+1)個の電圧の平均電圧を増幅することで前記アナログの電圧を生成する増幅回路と、を有することを特徴とする表示ドライバ。
【請求項5】
夫々に複数の表示セルが形成されている第1~第n(nは2以上の整数)のデータ線が配置されている表示パネルと、
映像信号に基づく各画素の輝度レベルをバイナリーコードで表す画素データ片の系列を受け、前記画素データ片の系列に含まれるn(nは2以上の整数)個の前記画素データ片毎に、前記画素データ片の各々を前記輝度レベルに対応した電圧値を有する第1~第nの出力電圧に変換して前記表示パネルの前記第1~第nのデータ線に供給する第1~第nのデジタルアナログ変換回路を含む表示ドライバと、を有する表示装置であって、
前記表示ドライバは、
前記画素データ片中の上位N(Nは2以上の整数)ビットをNビットのグレイコードに変換し、前記Nビットのグレイコードと、前記画素データ片から前記上位Nビットを省いたK(Kは2以上の整数)ビットのバイナリーコードと、からなる変換画素データ片を出力するグレイコード変換回路を含み、
前記第1~第nのデジタルアナログ変換回路の各々は、
互いに異なる電圧値を有する複数の参照電圧を受け、前記複数の参照電圧のうちから、前記変換画素データ片中の前記Nビットのグレイコードに基づく2つの参照電圧を選択する第1のデコーダと、
前記変換画素データ片中の前記Kビットのバイナリーコードに基づき、夫々が前記2つの参照電圧のうちの一方又は他方を有する(K+1)個の電圧を出力する第2のデコーダと、
前記(K+1)個の電圧を受け、前記(K+1)個の電圧の平均電圧を増幅することで前記アナログの電圧を生成する増幅回路と、を有することを特徴とする表示装置。
発明の詳細な説明
【技術分野】
【0001】
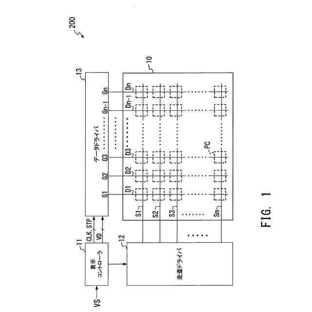
本発明は、デジタルアナログ変換装置、表示パネルを駆動する表示ドライバ及び表示装置に関する。
続きを表示(約 1,100 文字)
【背景技術】
【0002】
液晶表示装置として、複数のデータ線と複数の走査線が交叉して配置され、各交叉部に画素を担う表示セルが形成されている表示パネルと共に、当該表示パネルを駆動するソースドライバ及びゲートドライバを含むものが知られている(例えば特許文献1参照)。
【0003】
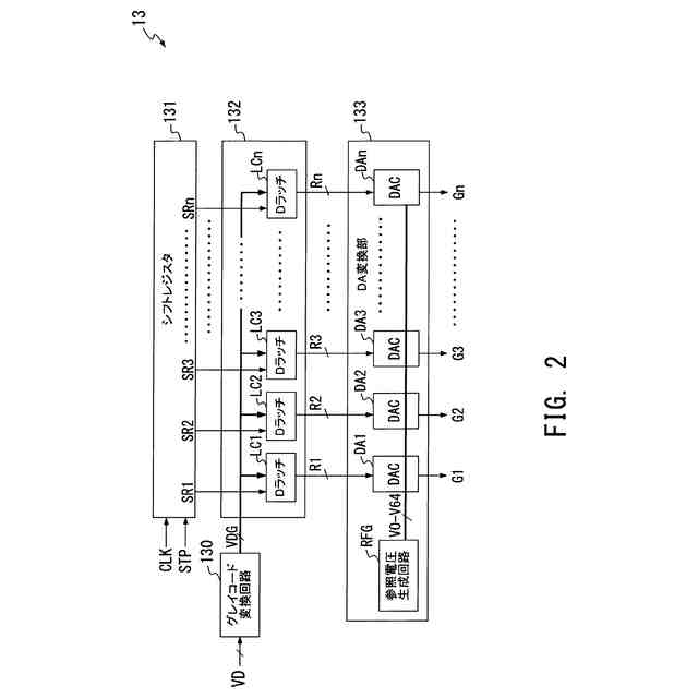
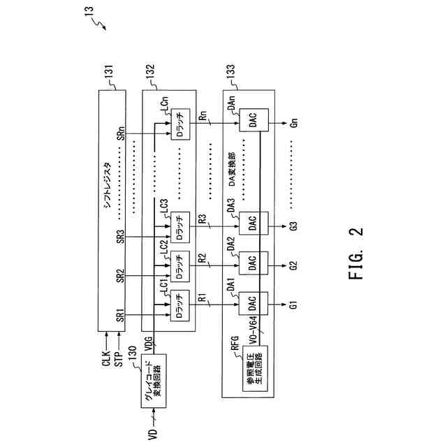
ソースドライバは、シフトレジスタ、レベルシフタ、データレジスタラッチ、DA(digital to analog)変換部、出力アンプ部を含む。
【0004】
シフトレジスタは、クロック信号に同期してラッチの選択を行う為の複数のラッチタイミング信号を生成し、データレジスタラッチに供給する。
【0005】
データレジスタラッチは、シフトレジスタから供給されたラッチタイミング信号の各々に基づき、映像信号に基づく各表示セルに対応した、例えば8ビットの表示データ片をn個毎取り込む。レベルシフタは、n個の表示データ片の各々に対して、各ビットに対応した信号レベルの振幅を増加するレベルシフト処理を施し、得られたレベルシフト後のn個の表示データ片の各々をDA変換部に供給する。
【0006】
DA変換部は、ガンマ回路と、n個の表示データ片の各々に対応して設けられたn個の選択回路(デコーダ)を含む。ガンマ回路は、互いに異なる電圧値を有する例えば256個の電圧を参照電圧として生成してn個の選択回路の各々に供給する。選択回路の各々は、256個の参照電圧のうちから、自身が受けた8ビットの表示データ片にて示される値に対応した参照電圧を選択する。かかる構成により、DA変換部は、上記したn個の選択回路の各々によって選択したn個の参照電圧をn個の階調電圧として出力アンプ部に供給する。
【0007】
出力アンプ部は、n個の階調電圧を夫々個別に増幅したものを出力電圧として表示パネルのn本のデータ線に供給する。
【先行技術文献】
【特許文献】
【0008】
特開2009-145492号公報
【発明の概要】
【発明が解決しようとする課題】
【0009】
近年、表示パネルの大画面化及び高解像度化に伴い、ソースドライバが表示パネルに出力する出力電圧の波形として高い表示品質が要求されている。
【0010】
ところで、映像信号に基づく表示データ片は、一般的にバイナリーコードである。よって、1水平走査期間毎にDA変換部に供給される表示データ片の輝度レベルが1階調分だけ変化しただけで、表示データ片を担う複数のビットのうちの多数のビットで論理反転が生じる場合がある。
(【0011】以降は省略されています)
この特許をJ-PlatPat(特許庁公式サイト)で参照する
関連特許
ローム株式会社
RAM
1日前
ローム株式会社
RAM
1日前
ローム株式会社
電源装置
1日前
ローム株式会社
発振回路
1日前
ローム株式会社
半導体装置
1日前
ローム株式会社
半導体装置
2日前
ローム株式会社
半導体装置
1日前
ローム株式会社
暗号化装置
2日前
ローム株式会社
半導体装置
2日前
ローム株式会社
テスト回路
2日前
ローム株式会社
半導体装置
1日前
ローム株式会社
半導体装置
1日前
ローム株式会社
半導体装置
2日前
ローム株式会社
半導体装置
1日前
ローム株式会社
無線通信装置
2日前
ローム株式会社
静電気保護素子
1日前
ローム株式会社
異常検知システム
1日前
ローム株式会社
検証装置及び検証方法
1日前
ローム株式会社
半導体装置及び補正方法
1日前
ローム株式会社
半導体装置及び半導体チップ
2日前
ローム株式会社
信号伝達装置、電子機器、車両
1日前
ローム株式会社
半導体装置、および通信システム
2日前
ローム株式会社
半導体装置、および通信システム
2日前
ローム株式会社
半導体装置及びレギュレータ装置
1日前
ローム株式会社
レギュレータ回路を備えた集積回路
1日前
ローム株式会社
スイッチ装置及び負荷駆動システム
2日前
ローム株式会社
音波処理装置、ソナー装置及び車両
2日前
ローム株式会社
映像処理装置および映像処理システム
1日前
ローム株式会社
バッテリ制御装置及びバッテリ制御方法
2日前
ローム株式会社
過電流保護回路、半導体装置、電源装置
2日前
ローム株式会社
半導体回路及び半導体回路のテスト方法
1日前
ローム株式会社
半導体装置、検査方法及び半導体チップ
2日前
ローム株式会社
パルス幅測定回路、パルス幅の測定方法
1日前
ローム株式会社
音波センサ駆動回路、音波センサ及び車両
1日前
ローム株式会社
LCDパネル駆動装置、及び液晶表示装置
1日前
ローム株式会社
過電流保護回路、半導体チップ、電源装置
2日前
続きを見る
他の特許を見る