TOP
|
特許
|
意匠
|
商標
特許ウォッチ
Twitter
他の特許を見る
10個以上の画像は省略されています。
公開番号
2025139617
公報種別
公開特許公報(A)
公開日
2025-09-29
出願番号
2024038553
出願日
2024-03-13
発明の名称
面発光レーザ、アレイ光源及び投光装置
出願人
株式会社リコー
代理人
個人
,
個人
主分類
H01S
5/183 20060101AFI20250919BHJP(基本的電気素子)
要約
【課題】高次の横モードの発振を抑制できる面発光レーザを提供する。
【解決手段】面発光レーザは、第1反射鏡20と、第1導電型半導体層31と、活性層34と、第2導電型半導体層32と、透明電極36と、第2反射鏡40と、を順に備え、前記第2導電型半導体層32における前記透明電極36側の面は、外周部52に対し中央部50が突出し、前記透明電極36の前記中央部50における厚さは、前記透明電極36の前記外周部52における厚さより小さい。
【選択図】図2
特許請求の範囲
【請求項1】
第1反射鏡と、第1導電型半導体層と、活性層と、第2導電型半導体層と、透明電極と、第2反射鏡と、を順に備え、
前記第2導電型半導体層における前記透明電極側の面は、外周部に対し中央部が突出し、
前記透明電極の前記中央部における厚さは、前記透明電極の前記外周部における厚さより小さい、
面発光レーザ。
続きを表示(約 770 文字)
【請求項2】
前記透明電極における前記第2反射鏡側の面は、前記外周部に対し前記中央部が突出する、または、前記外周部と前記中央部とが平坦である、請求項1に記載の面発光レーザ。
【請求項3】
前記中央部において、前記第2導電型半導体層と前記透明電極とは接触する、請求項1または2に記載の面発光レーザ。
【請求項4】
前記外周部において、前記第2導電型半導体層と前記透明電極との間に設けられた絶縁層を備える、請求項3に記載の面発光レーザ。
【請求項5】
前記外周部において、前記透明電極上に、前記透明電極に電気的に接触する電極が配置される、請求項1または2に記載の面発光レーザ。
【請求項6】
前記外周部において、前記第2導電型半導体層における前記透明電極側の面は平坦な部分を含み、該平坦な部分の上の前記透明電極の厚さが、前記透明電極の前記中央部における厚さよりも大きい、請求項1または2に記載の面発光レーザ。
【請求項7】
前記第1導電型半導体層、前記活性層及び前記第2導電型半導体層は、窒化物半導体層であり、
前記第1反射鏡は、誘電体層である請求項1または2に記載の面発光レーザ。
【請求項8】
前記透明電極の吸収係数は前記第2導電型半導体層の吸収係数より大きい請求項1または2に記載の面発光レーザ。
【請求項9】
請求項1または2に記載の面発光レーザを複数備える、アレイ光源。
【請求項10】
請求項1または2に記載の面発光レーザと、
前記面発光レーザから射出された光が入射する光学素子と、
を備え、
前記光を投光する、投光装置。
(【請求項11】以降は省略されています)
発明の詳細な説明
【技術分野】
【0001】
本発明は、面発光レーザ、アレイ光源及び投光装置に関する。
続きを表示(約 1,700 文字)
【背景技術】
【0002】
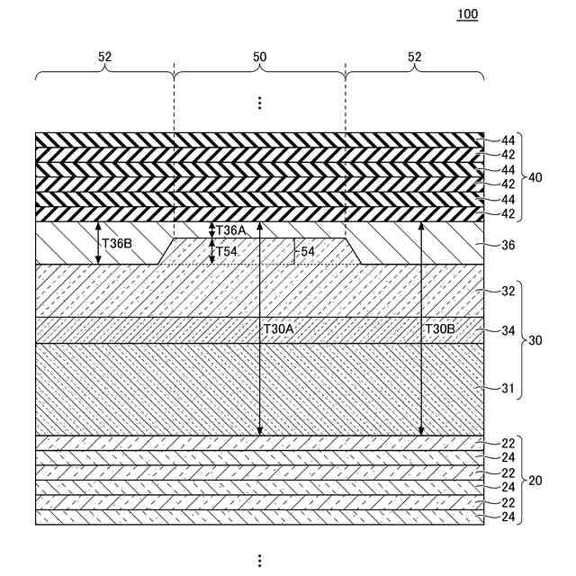
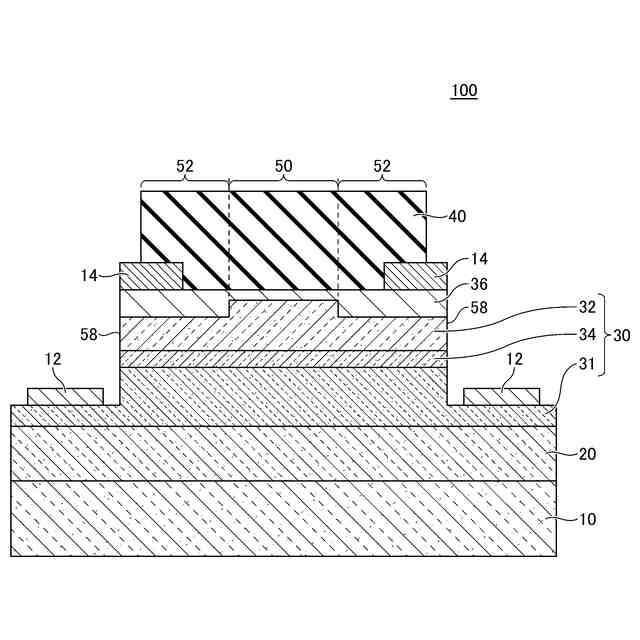
窒化物半導体層を用いる面発光レーザなどの面発光レーザでは、活性層上の半導体層と上部の反射鏡との間に透明電極を用いることが知られている。
【0003】
特許文献1には、活性層上の半導体層における透明電極側の面に、外周部に対して中央部を突出させる凸部を設ける場合に、凸部の側面の透明電極が薄くなる。これを抑制するため、凸部の高さを透明電極の厚さより小さくすることが記載されている。
【発明の概要】
【発明が解決しようとする課題】
【0004】
特許文献1には、凸部の上面に設けられた透明電極の厚さと、外周部の透明電極の厚さとの関係について記載されておらず、図面からは、中央部と外周部との透明電極の厚さは同じに図示されている。この場合、高次の横モードが生じる可能性がある。
【0005】
本発明は、高次の横モードの発振を抑制できる面発光レーザ、アレイ光源及び投光装置を提供することを目的とする。
【課題を解決するための手段】
【0006】
本発明の実施形態によれば、第1反射鏡と、第1導電型半導体層と、活性層と、第2導電型半導体層と、透明電極と、第2反射鏡と、を順に備え、前記第2導電型半導体層における前記透明電極側の面は、外周部に対し中央部が突出し、前記透明電極の前記中央部における厚さは、前記透明電極の前記外周部における厚さより小さい。
【発明の効果】
【0007】
本発明によれば、高次の横モードの発振を抑制できる面発光レーザ、アレイ光源び投光装置を提供することができる。
【図面の簡単な説明】
【0008】
図1は、本発明の第1実施形態に係る面発光レーザを示す断面図である。
図2は、本発明の第1実施形態に係る面発光レーザの主要部の断面図である。
図3(a)及び図3(b)は、本発明の第1実施形態における透明電極を示す平面図である。
図4は、参考例に係る面発光レーザの主要部の断面図である。
図5(a)及び図5(b)は、本発明の第1実施形態に係る面発光レーザにおける位置に対する光強度及び屈折率を示す図である。
図6は、本発明の第1実施形態の変形例1に係る面発光レーザの主要部の断面図である。
図7は、本発明の第1実施形態の変形例2に係る面発光レーザの主要部の断面図である。
図8は、本発明の第1実施形態の変形例3に係る面発光レーザの主要部の断面図である。
図9は、各サンプルに対するΔn/nAを示す図である。
図10は、本発明の第2実施形態に係るアレイ光源を示す平面図である。
図11は、本発明の第3本実施形態に係る投影装置を示す図である。
図12は、本発明の第4実施形態に係るヘッドマウントディスプレイを示す斜視図である。
図13は、本発明の第4実施形態に係るヘッドマウントディスプレイにおけるフロント及びテンプル内の断面図である。
図14は、本発明の第5実施形態に係るバイオメトリック認証装置を示す図である。
図15は、本発明の第6実施形態に係る投光装置を示す図である。
【発明を実施するための形態】
【0009】
以下、図面を参照して本発明を実施するための形態について詳細に説明する。下記の実施形態は、発明の技術思想を具体化するための例示であり、本発明を記載された構成や数値に限定するものではない。なお、各図面において、同一構成部分には同一符号を付し、重複した説明を適宜省略する場合がある。各図面が示す各部材の大きさ、位置関係等は、発明の理解を容易にするために誇張して描かれている場合がある。
【0010】
(第1実施形態)
まず、第1実施形態について説明する。第1実施形態は面発光レーザに関する。図1は、本発明の第1実施形態に係る面発光レーザを示す断面図である。
(【0011】以降は省略されています)
この特許をJ-PlatPat(特許庁公式サイト)で参照する
関連特許
株式会社リコー
液体塗布装置
7日前
株式会社リコー
画像形成装置
6日前
株式会社リコー
印刷システム
3日前
株式会社リコー
画像形成装置
3日前
株式会社リコー
画像形成装置
3日前
株式会社リコー
画像形成装置
3日前
株式会社リコー
画像形成装置
14日前
株式会社リコー
感熱記録媒体
今日
株式会社リコー
印刷応答補償機構
7日前
株式会社リコー
生体情報測定装置
今日
株式会社リコー
拡張アンテナ装置
6日前
株式会社リコー
画像投射システム
14日前
株式会社リコー
マーキングシステム
6日前
株式会社リコー
液体を吐出する装置
今日
株式会社リコー
電極及びその製造方法
3日前
株式会社リコー
電極及びその製造方法
1日前
株式会社リコー
多孔質構造体の製造方法
3日前
株式会社リコー
定着装置及び画像形成装置
7日前
株式会社リコー
定着装置及び画像形成装置
13日前
株式会社リコー
液吐出装置、及び液吐出方法
7日前
株式会社リコー
センサ素子及びセンサアレイ
13日前
株式会社リコー
センサ素子及びセンサアレイ
13日前
株式会社リコー
ファイル分析・保存システム
3日前
株式会社リコー
液体塗布装置および洗浄方法
3日前
株式会社リコー
塗装システム、及び塗装方法
3日前
株式会社リコー
パルスバルブおよび塗布装置
3日前
株式会社リコー
定着装置、及び、画像形成装置
3日前
株式会社リコー
定着装置、及び、画像形成装置
3日前
株式会社リコー
後処理装置および画像形成装置
3日前
株式会社リコー
液体吐出装置、及び液体吐出方法
3日前
株式会社リコー
レーザ照射装置、レーザ照射方法
3日前
株式会社リコー
パーソナライズビデオメカニズム
1日前
株式会社リコー
mRNA発現量の免疫学的評価方法
今日
株式会社リコー
媒体処理装置及び画像形成システム
今日
株式会社リコー
液体吐出ヘッドおよび液体吐出装置
今日
株式会社リコー
見積書作成装置、方法、プログラム
3日前
続きを見る
他の特許を見る