TOP
|
特許
|
意匠
|
商標
特許ウォッチ
Twitter
他の特許を見る
公開番号
2025139163
公報種別
公開特許公報(A)
公開日
2025-09-26
出願番号
2024037959
出願日
2024-03-12
発明の名称
分光測定装置及びこれを備えた物品検査装置
出願人
アンリツ株式会社
代理人
弁理士法人日誠国際特許事務所
主分類
G01N
21/85 20060101AFI20250918BHJP(測定;試験)
要約
【課題】光検出部における受光量を増加させることができる分光測定装置及び物品検査装置を提供すること。
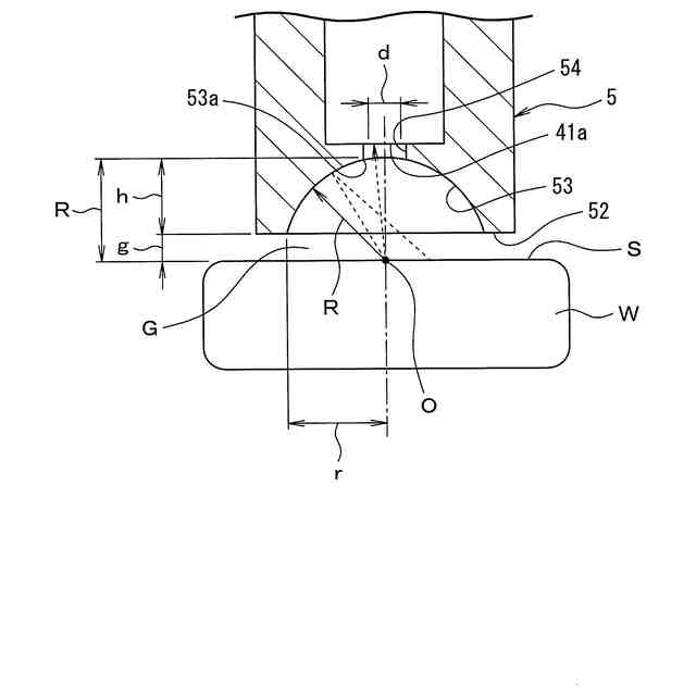
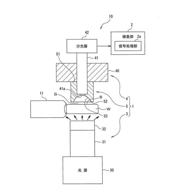
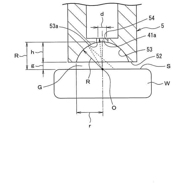
【解決手段】搬送中の錠剤Wに光を照射する光源部と、光源部から照射され錠剤Wを透過した透過光が光ファイバ41に入射され、光ファイバ41を通過した透過光の分光特性を分光器で測定する光検出部と、錠剤Wの表面Sとの間に所定の隙間Gを介して配置され、錠剤Wを透過した光を錠剤Wの表面Sへ反射させる反射面53を有する反射カバー5と、を備え、反射カバー5は、反射面53が光ファイバ41の入射端面41aから錠剤Wに向かって広がる半球未満の球冠形状の曲面によって構成されている。
【選択図】図2
特許請求の範囲
【請求項1】
搬送中の物品(W)に光を照射する光源部(3)と、
前記光源部から照射され前記物品を透過した透過光が光ファイバ(41)に入射され、前記光ファイバを通過した前記透過光の分光特性を分光器(42)で測定する光検出部(4)と、
前記光ファイバの入射端面(41a)に対向する前記物品の表面(S)との間に所定の隙間(G)を介して配置され、前記物品を透過した光を前記物品の表面へ反射させる反射面(53)を有する反射カバー(5)と、を備え、
前記反射カバーは、前記反射面が前記入射端面から前記物品に向かって広がる半球未満の球冠形状の曲面によって構成されている、分光測定装置。
続きを表示(約 180 文字)
【請求項2】
前記反射カバーは、前記反射面からの距離が同一となる中心点(O)が前記物品の表面上に位置するように配置されている請求項1に記載の分光測定装置。
【請求項3】
請求項1又は請求項2に記載の分光測定装置(1)と、
前記分光器で測定された分光特性に基づき前記物品の品質を検査する検査部(2)と、を備える物品検査装置。
発明の詳細な説明
【技術分野】
【0001】
本発明は、分光測定装置及び物品検査装置に関する。
続きを表示(約 1,400 文字)
【背景技術】
【0002】
特許文献1には、被測定物が載置された載置面に対し、光源から広帯域の光をライトガイドを介して照射する光照射部と、被測定物を透過した光が光ファイバを介して分光器に入射され、分光器にて分光特性を測定する光検出部とを備える分光測定装置において、被測定物を透過した光を受ける光ファイバの入射面から被測定物の表面に向かって広がる形状で、被測定物を透過した光を被測定物の表面へ反射させる反射面を有する反射カバーを有するものが開示されている。
【先行技術文献】
【特許文献】
【0003】
特許第7270582号公報
【発明の概要】
【発明が解決しようとする課題】
【0004】
しかしながら、特許文献1に記載の分光測定装置にあっては、搬送中の被測定物を測定する場合に次のような課題が生じる。搬送中の被測定物を測定する場合には、被測定物と反射カバーとが接触して被測定物が摩耗しないようにするために、被測定物と反射カバーとの間に隙間を設ける必要がある。このように、被測定物と反射カバーとの間に隙間を設けると、反射カバーが被測定物の表面から離隔してしまい、当該反射カバーによる効果が低下するという課題があった。
【0005】
本発明は、上述のような事情に鑑みてなされたもので、光検出部における受光量を増加させることができる分光測定装置及び物品検査装置を提供することを目的としている。
【課題を解決するための手段】
【0006】
本発明に係る分光測定装置は、搬送中の物品に光を照射する光源部と、前記光源部から照射され前記物品を透過した透過光が光ファイバに入射され、前記光ファイバを通過した前記透過光の分光特性を分光器で測定する光検出部と、前記光ファイバの入射端面に対向する前記物品の表面との間に所定の隙間を介して配置され、前記物品を透過した光を前記物品の表面へ反射させる反射面を有する反射カバーと、を備え、前記反射カバーは、前記反射面が前記入射端面から前記物品に向かって広がる半球未満の球冠形状の曲面によって構成されている。
【0007】
この構成により、本発明に係る分光測定装置は、物品を透過した光を物品の表面へ反射させる反射面を有する反射カバーを備え、当該反射カバーの反射面が入射端面から物品に向かって広がる半球未満の球冠形状の曲面によって構成されているので、物品の表面と反射カバーとの間に隙間がある場合であっても、光ファイバの入射端面に入射する光量を増やすことができ、光検出部における受光量を増加させることができる。
【0008】
本発明に係る分光測定装置において、前記反射カバーは、前記反射面からの距離が同一となる中心点が前記物品の表面上に位置するように配置されていることが好ましい。
【0009】
この構成により、本発明に係る分光測定装置は、反射面からの距離が同一となる中心点が物品の表面上に位置するように反射カバーが配置されているので、光ファイバの入射端面に入射する光量をさらに増やすことができる。
【0010】
本発明に係る物品検査装置は、請求項1又は請求項2に記載の分光測定装置と、前記分光器で測定された分光特性に基づき前記物品の品質を検査する検査部と、を備える。
(【0011】以降は省略されています)
この特許をJ-PlatPat(特許庁公式サイト)で参照する
関連特許
アンリツ株式会社
計量装置
今日
アンリツ株式会社
検査装置
3日前
アンリツ株式会社
物品検査装置
3日前
アンリツ株式会社
物品検査装置
6日前
アンリツ株式会社
物品検査装置
7日前
アンリツ株式会社
物品検査装置
7日前
アンリツ株式会社
X線管及びX線検査装置
1日前
アンリツ株式会社
真空管、X線管及びX線検査装置
1日前
アンリツ株式会社
誤り率測定装置及び信号検出方法
3日前
アンリツ株式会社
ADC校正装置およびADC校正方法
3日前
アンリツ株式会社
分光測定装置及びこれを備えた物品検査装置
6日前
アンリツ株式会社
分光測定装置及びこれを備えた物品検査装置
13日前
アンリツ株式会社
分光測定装置及びこれを備えた物品検査装置
13日前
アンリツ株式会社
ハイブリッド回路とそれを備えるバトラーマトリクス
3日前
アンリツ株式会社
伝送線路の交差構造とそれを備えるバトラーマトリクス
3日前
個人
計量スプーン
23日前
個人
微小振動検出装置
1か月前
株式会社イシダ
X線検査装置
1か月前
日本精機株式会社
位置検出装置
1日前
日本精機株式会社
位置検出装置
1日前
日本精機株式会社
位置検出装置
1日前
大和製衡株式会社
組合せ秤
6日前
大和製衡株式会社
組合せ秤
6日前
アズビル株式会社
圧力センサ
今日
トヨタ自動車株式会社
表示装置
15日前
アンリツ株式会社
分光器
29日前
アンリツ株式会社
分光器
29日前
株式会社東芝
センサ
1か月前
ダイハツ工業株式会社
測定用具
27日前
トヨタ自動車株式会社
検査装置
3日前
株式会社東芝
センサ
6日前
株式会社東芝
センサ
6日前
エイブリック株式会社
磁気センサ回路
今日
株式会社ユーシン
操作検出装置
3日前
株式会社ヨコオ
コンタクタ
27日前
TDK株式会社
磁気センサ
23日前
続きを見る
他の特許を見る