TOP
|
特許
|
意匠
|
商標
特許ウォッチ
Twitter
他の特許を見る
10個以上の画像は省略されています。
公開番号
2025138157
公報種別
公開特許公報(A)
公開日
2025-09-25
出願番号
2024037070
出願日
2024-03-11
発明の名称
物品検査装置
出願人
アンリツ株式会社
代理人
弁理士法人栄光事務所
主分類
G01N
21/88 20060101AFI20250917BHJP(測定;試験)
要約
【課題】検査精度の向上を図った物品検査装置を提供する。
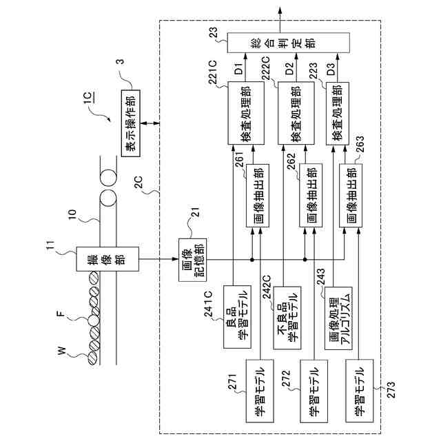
【解決手段】検査処理部221が、物品Wの良品を撮像した良品画像のみを学習させた良品学習モデル241を用いて物品Wの良品判定結果を示す判定データD1を出力する。検査処理部222が、物品Wの不良品を撮像した撮像画像のみを学習させた不良品学習モデル242を用いて判定データD2を出力する。総合判定部23が、複数の検査処理部221~223から出力された判定データD1~D3に基づいて撮像画像に撮像された物品Wの品質状態を総合判定する。
【選択図】図1
特許請求の範囲
【請求項1】
撮像部により撮像した物品(W)の撮像画像を記憶する画像記憶部(21)と、
前記撮像画像に対して検査処理を行うことにより、前記撮像画像に撮影された前記物品の品質状態を示す判定データを出力する複数の検査処理部(221~223,221B,222B,221C,222C)と、
複数の前記検査処理部から出力された前記判定データに基づいて前記撮像画像に撮像された前記物品の品質状態を総合判定する総合判定部(23,23B)と、を備えた、
物品検査装置(1,1B,1C)であって、
複数の前記検査処理部の1つが、前記物品の良品を撮像した良品画像のみを学習させた良品学習モデル(241,2411~241n)を用いて前記判定データを出力し、
複数の前記検査処理部の1つが、前記物品の不良品を撮像した不良品画像のみを学習させた不良品学習モデル(242,2421~242m)を用いて前記判定データを出力する、
物品検査装置。
続きを表示(約 1,100 文字)
【請求項2】
請求項1に記載の物品検査装置において、
複数の前記検査処理部のうち1つ以上を選択する第1選択部(R61)を備え、
前記総合判定部は、前記第1選択部により選択された前記検査処理部から出力された前記判定データに基づいて前記撮像画像に撮像された前記物品の品質状態を総合判定する、
物品検査装置。
【請求項3】
請求項1に記載の物品検査装置において、
前記良品学習モデル又は前記不良品学習モデルは、学習内容が異なる学習モデルが複数設けられ、
複数の前記良品学習モデル又は複数の前記不良品学習モデルの1つ以上を選択する第2選択部(R62)を備え、
前記総合判定部は、前記第2選択部により選択された前記良品学習モデル又は前記不良品学習モデルから出力された前記判定データに基づいて前記撮像画像に撮像された前記物品の品質状態を総合判定する、
物品検査装置。
【請求項4】
請求項1に記載の物品検査装置において、
複数の前記検査処理部の1つは、入力された前記撮像画像を所定の画像処理アルゴリズム(243)を用いて画像処理を実施し、前記判定データを出力する、
物品検査装置。
【請求項5】
請求項1に記載の物品検査装置において、
前記総合判定部が判定するルールを設定する判定ルール設定部を有し、
前記総合判定部は、設定された前記ルールに従って前記品質状態を前記総合判定する、
物品検査装置。
【請求項6】
請求項1に記載の物品検査装置において、
前記撮像画像から前記物品が撮像されている部分を抽出する画像抽出部(261,262,263)を有し、
前記検査処理部には、前記画像抽出部により抽出された部分の抽出画像が入力される、
物品検査装置。
【請求項7】
請求項6に記載の物品検査装置において、
前記画像抽出部は、前記撮像画像を入力し、前記物品の撮像画像が学習された学習モデル(271,272,273)を用いて抽出する、
物品検査装置。
【請求項8】
請求項1に記載の物品検査装置において、
前記不良品学習モデルは、異種物の種類毎に別々に学習されて複数設けられ、
前記異種物の種類を選択する第3選択部(R63)と、
前記検査処理部は、前記第3選択部により選択された前記異種物が学習された前記不良品学習モデルに基づいて前記判定データを出力する、
物品検査装置。
発明の詳細な説明
【技術分野】
【0001】
本発明は、物品検査装置に関する。
続きを表示(約 3,700 文字)
【背景技術】
【0002】
物品の良否(品質状態)を判定する物品検査装置として、例えば、特許文献1に記載された検査装置が提案されている。特許文献1に記載された物品検査装置は、被検査物(物品)を撮像した検査画像を入力すると、画素毎に品質不良度合を出力する学習モデルを用いて、検査を行っている。学習モデルとしては、良品画像と品質不良のみの画像を合成した学習用品質不良合成画像を学習させている。
【0003】
しかしながら、上述した特許文献1の検査装置では、学習した品質不良に対しては精度よく検査できるが、学習していない品質不良に対しては、良品として誤判定される虞があった。
【先行技術文献】
【特許文献】
【0004】
特開2023-114828号公報
【発明の概要】
【発明が解決しようとする課題】
【0005】
本発明は、上述した事情に鑑みてなされたものであり、その目的は、検査精度の向上を図った物品検査装置を提供することにある。
【課題を解決するための手段】
【0006】
前述した目的を達成するために、本発明に係る物品検査装置は、下記[1]~[8]を特徴としている。
[1]
撮像部により撮像した物品(W)の撮像画像を記憶する画像記憶部(21)と、
前記撮像画像に対して検査処理を行うことにより、前記撮像画像に撮影された前記物品の品質状態を示す判定データを出力する複数の検査処理部(221~223,221B,222B,221C,222C)と、
複数の前記検査処理部から出力された前記判定データに基づいて前記撮像画像に撮像された前記物品の品質状態を総合判定する総合判定部(23,23B)と、を備えた、
物品検査装置(1,1B,1C)であって、
複数の前記検査処理部の1つが、前記物品の良品を撮像した良品画像のみを学習させた良品学習モデル(241,2411~241n)を用いて前記判定データを出力し、
複数の前記検査処理部の1つが、前記物品の不良品を撮像した不良品画像のみを学習させた不良品学習モデル(242,2421~242m)を用いて前記判定データを出力する、
物品検査装置であること。
[2]
[1]に記載の物品検査装置において、
複数の前記検査処理部のうち1つ以上を選択する第1選択部(R61)を備え、
前記総合判定部は、前記第1選択部により選択された前記検査処理部から出力された前記判定データに基づいて前記撮像画像に撮像された前記物品の品質状態を総合判定する、
物品検査装置であること。
[3]
[1]に記載の物品検査装置において、
前記良品学習モデル又は前記不良品学習モデルは、学習内容が異なる学習モデルが複数設けられ、
複数の前記良品学習モデル又は複数の前記不良品学習モデルの1つ以上を選択する第2選択部(R62)を備え、
前記総合判定部は、前記第2選択部により選択された前記良品学習モデル又は前記不良品学習モデルから出力された前記判定データに基づいて前記撮像画像に撮像された前記物品の品質状態を総合判定する、
物品検査装置であること。
[4]
[1]に記載の物品検査装置において、
複数の前記検査処理部の1つは、入力された前記撮像画像を所定の画像処理アルゴリズム(243)を用いて画像処理を実施し、前記判定データを出力する、
物品検査装置であること。
[5]
[1]に記載の物品検査装置において、
前記総合判定部が判定するルールを設定する判定ルール設定部を有し、
前記総合判定部は、設定された前記ルールに従って前記品質状態を前記総合判定する、
物品検査装置であること。
[6]
[1]に記載の物品検査装置において、
前記撮像画像から前記物品が撮像されている部分を抽出する画像抽出部(261,262,263)を有し、
前記検査処理部には、前記画像抽出部により抽出された部分の抽出画像が入力される、
物品検査装置であること。
[7]
[6]に記載の物品検査装置において、
前記画像抽出部は、前記撮像画像を入力し、前記物品の撮像画像が学習された学習モデル(271,272,273)を用いて抽出する、
物品検査装置であること。
[8]
[1]に記載の物品検査装置において、
前記不良品学習モデルは、異種物の種類毎に別々に学習されて複数設けられ、
前記異種物の種類を選択する第3選択部(R63)と、
前記検査処理部は、前記第3選択部により選択された前記異種物が学習された前記不良品学習モデルに基づいて前記判定データを出力する、
物品検査装置であること。
【0007】
上記[1]の構成によれば、予め想定できる不良品については学習を行うことにより、不良品学習モデルを用いる検査処理部で精度よく不良品であると判定することができ、想定外であり学習されていない不良品については、良品学習モデルを用いる検査処理部で不良品であると判定することができる。このため、検査精度向上を図ることができる。
上記[2]の構成によれば、精度の悪い検査処理部があった場合、その検査処理部による判定データを総合判定から外すことができるため、より一層精度よく、検査を行うことができる。また、選択されていない検査処理部は検査処理を行う必要がなく、処理負荷を軽減して、検査を迅速に行うことができる。
上記[3]の構成によれば、撮影条件や物品Wの種類にあった良品学習モデル又は不良品学習モデルを選択することにより、より一層精度よく、検査を行うことができる。
上記[4]の構成によれば、良品学習モデルを用いる検査処理部でも不良品と判定することができなかった想定外の不良品について、所定の画像処理アルゴリズムを用いて画像処理を実施する検査処理部で不良品と判定でき、より一層、検査精度向上を図ることができる。
上記[5]の構成によれば、複数の検査処理部それぞれの精度に合わせた総合判定のルールを設定することができ、より一層、検査精度向上を図ることができる。
上記[6]の構成によれば、撮像画像のうち物品が撮像されていない部分は、検査処理部に入力されないため、より一層精度よく、検査を行うことができる。
上記[7]の構成によれば、精度よく、物品が撮像されている部分を抽出することができる。
上記[8]の構成によれば、精度の悪い不良品学習モデルがあった場合、その不良品学習モデルを外すことができるため、より一層精度よく、検査を行うことができる。また、選択されていない異種物に対応する不良品学習モデルは処理を行う必要がなく、処理負荷を軽減して、検査を迅速に行うことができる。
【発明の効果】
【0008】
本発明に係る物品検査装置によれば、検査精度の向上を図る、との効果を奏する。
【0009】
以上、本発明について簡潔に説明した。更に、以下に説明される発明を実施するための形態(以下、「実施形態」という。)を添付の図面を参照して通読することにより、本発明の詳細は更に明確化されるであろう。
【図面の簡単な説明】
【0010】
図1は、第1実施形態における本発明の物品検査装置のブロック図である。
図2は、図1に示す良品学習モデルに学習させる学習用画像を示す図である。
図3は、図1に示す不良品学習モデルに学習させる学習用画像と、学習用ラベルを示す図である。
図4は、図1に示す表示操作部に表示される運転中画面を示す図である。
図5は、図1に示す物品検査装置の効果を説明するための説明図である。
図6は、第2実施形態における本発明の物品検査装置のブロック図である。
図7は、図6に示す各不良品学習モデルの構成を示すブロック図である。
図8は、図6に示す表示操作部に表示される停止中画面を示す図である。
図9は、第3実施形態における本発明の物品検査装置のブロック図である。
図10は、図9に示す画像抽出部に用いられる学習モデルに学習させる学習用画像と、学習用ラベルと、抽出画像とを示す図である。
図11は、図9に示す良品学習モデルに学習させる学習用画像を示す図である。
図12は、図9に示す不良品学習モデルに学習させる学習用画像と、学習用ラベルとを示す図である。
【発明を実施するための形態】
(【0011】以降は省略されています)
この特許をJ-PlatPat(特許庁公式サイト)で参照する
関連特許
アンリツ株式会社
計量装置
3日前
アンリツ株式会社
検査装置
6日前
アンリツ株式会社
測定システム
2日前
アンリツ株式会社
物品検査装置
6日前
アンリツ株式会社
物品検査装置
9日前
アンリツ株式会社
物品検査装置
10日前
アンリツ株式会社
X線管及びX線検査装置
4日前
アンリツ株式会社
予知保全装置及び予知保全方法
2日前
アンリツ株式会社
真空管、X線管及びX線検査装置
4日前
アンリツ株式会社
誤り率測定装置及び信号検出方法
6日前
アンリツ株式会社
ADC校正装置およびADC校正方法
6日前
アンリツ株式会社
分光測定装置及びこれを備えた物品検査装置
9日前
アンリツ株式会社
ハイブリッド回路とそれを備えるバトラーマトリクス
6日前
アンリツ株式会社
伝送線路の交差構造とそれを備えるバトラーマトリクス
6日前
個人
計量スプーン
26日前
個人
微小振動検出装置
1か月前
株式会社イシダ
X線検査装置
1か月前
日本精機株式会社
位置検出装置
4日前
日本精機株式会社
位置検出装置
4日前
日本精機株式会社
位置検出装置
4日前
大和製衡株式会社
組合せ秤
9日前
大和製衡株式会社
組合せ秤
9日前
アズビル株式会社
圧力センサ
3日前
アンリツ株式会社
分光器
1か月前
トヨタ自動車株式会社
検査装置
6日前
株式会社東芝
センサ
1か月前
トヨタ自動車株式会社
表示装置
18日前
株式会社ユーシン
操作検出装置
6日前
株式会社東芝
センサ
9日前
アンリツ株式会社
分光器
1か月前
エイブリック株式会社
磁気センサ回路
3日前
株式会社東芝
センサ
9日前
ダイハツ工業株式会社
測定用具
1か月前
TDK株式会社
磁気センサ
1か月前
TDK株式会社
ガスセンサ
2日前
TDK株式会社
磁気センサ
26日前
続きを見る
他の特許を見る