TOP
|
特許
|
意匠
|
商標
特許ウォッチ
Twitter
他の特許を見る
10個以上の画像は省略されています。
公開番号
2025138835
公報種別
公開特許公報(A)
公開日
2025-09-25
出願番号
2025113047,2022051328
出願日
2025-07-03,2022-03-28
発明の名称
荷電粒子顕微鏡で使用するためのサンプル担体、およびそのようなサンプル担体を荷電粒子顕微鏡で使用する方法
出願人
エフ イー アイ カンパニ
,
FEI COMPANY
代理人
弁理士法人ITOH
主分類
G01N
1/28 20060101AFI20250917BHJP(測定;試験)
要約
【課題】荷電粒子顕微鏡においてサンプルを調製する方法の提供。
【解決手段】本開示は、荷電粒子顕微鏡においてサンプルを調製する方法に関する。この方法は、機械的サポート輪郭およびそれに接続されたグリッド部材を有するサンプル担体を提供するステップを含む。この方法は、前記サンプル担体を荷電粒子顕微鏡の機械的ステージデバイスに接続するステップを含む。さらに、この方法は、サンプル、例えば、チャンク形状またはラメラ形状のサンプルを提供し、前記サンプルをサンプル担体のグリッド部材に接続するステップを含む。この方法は、一実施形態では、バルクサンプルとサンプル担体との間のサンプルの容易で信頼性の高い移送を可能にする。
【選択図】図5
特許請求の範囲
【請求項1】
荷電粒子顕微鏡でサンプルを調製する方法であって、当該方法は、
- 機械的サポート輪郭およびそれに接続されたグリッド部材を有するサンプル担体を提供するステップと、
- 前記サンプル担体を前記荷電粒子顕微鏡の機械的ステージデバイスに接続するステップと、
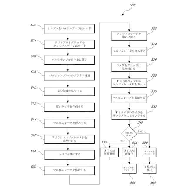
- サンプルを提供するステップであって、バルクステージ及びグリッドステージが同じベースに取り付けられた状態において、収束イオンビーム処理によってサンプル処理されたサンプルが、前記バルクステージから前記グリッドステージにマニピュレータにより移動され、前記グリッドステージに固定される、ステップと、
- 前記機械的サポート輪郭と前記グリッド部材が互いに事前接続されている状態で、前記サンプルを前記サンプル担体の前記グリッド部材に接続するステップと、を含み、
前記サンプル担体は、該サンプル担体によって画定される平面が、前記バルクステージに接続されるバルクサンプルによって画定される平面に対して垂直に配置されるように、前記グリッドステージに接続される、
荷電粒子顕微鏡でサンプルを調製する方法。
発明の詳細な説明
【技術分野】
【0001】
本実施形態は、荷電粒子顕微鏡で使用するためのサンプル担体(sample carrier)、およびそのようなサンプル担体を荷電粒子顕微鏡で使用する方法に関する。本実施形態はさらに、画像化システムのためのサンプル調製のデバイスおよびその方法に関する。より具体的には、本実施形態は、その場でのサンプル調製および画像化(imaging)を可能にする複数の自由度を有するサンプル調製ステージに関する。
続きを表示(約 2,500 文字)
【背景技術】
【0002】
荷電粒子顕微鏡法は、特に電子顕微鏡法の形態で、顕微鏡対象物を画像化するためのよく知られた、ますます重要な技術である。歴史的に、電子顕微鏡の基本的な種数は、透過型電子顕微鏡(TEM)、走査型電子顕微鏡(SEM)、および走査型透過電子顕微鏡(STEM)などの多くの周知の装置種に、ならびに、例えば、イオンビームミリングまたはイオンビーム誘起蒸着(IBID)などの支援活動を可能にする、「機械加工」集束イオンビーム(FIB)をさらに使用するいわゆる「二重ビーム」装置(例えば、FIB-SEM)などの様々な副種に進化している。
【0003】
電子顕微鏡の画像化用のサンプルは、透過光または電子放射下で観察するための特定の調製が必要である。例えば、サンプルの薄いスライス(またはセクション)は、通常、グリッドまたはチューブ内のバルクサンプルからカットまたはミリングされる。カットまたはミリングは、集束イオンビーム(FIB)システムによって、またはFIBと電子顕微鏡の両方を含む二重ビームシステム内で実行できる。このような二重ビームシステムの例には、FEI社(米国オレゴン州ヒルズボロ)のQuanta 3D DualBeamシステムが含まれる。ただし、FIBを使用して薄いスライスを調製した後、サンプルを画像化に適したプラットフォームに移送する必要がある。走査型透過電子顕微鏡(STEM)などの顕微鏡による画像化では、適切な画像をキャプチャするために、複数の自由度に沿った位置決めが必要になる場合がある。
【0004】
その他は、複数の自由度を持つSTEM画像化のステージを調製している。例えば、米国特許第7,474,419号は、基準点の近くにサンプルを配置するためのステージアセンブリを記載している。ステージアセンブリは、サンプルを取り付けることができるサンプルテーブルと、基準面に垂直なX軸、基準面に平行なY軸、および基準面に平行なZ軸に実質的に平行な方向に沿ってサンプルテーブルの並進をもたらすように配置された一組のアクチュエータを含む。X軸、Y軸、Z軸は相互に直交しており、基準点を通過する。さらに、米国特許第6,963,068号は、3つの垂直方向の並進と2つの回転で5つの自由度で移動できるテーブルを備えたマニピュレータについて説明する。
【0005】
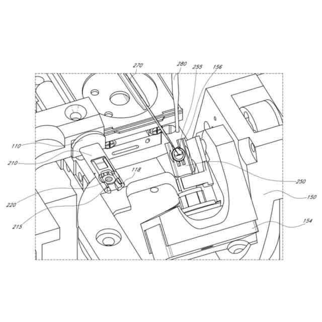
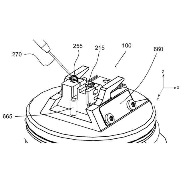
ただし、STEMまたはTEM分析用のサンプルを操作する手法はより複雑である。これらの手法では、FIBのミリングとカービングの両方でサンプルを操作し、その後のSTEM分析を特定の臨界温度で実行して、サンプル内の氷晶の形成を防止したり、操作間のサンプルの望ましくない解凍を防止したりする必要がある。さらに、ラメラサポートで必要な配向にラメラを配置することは非常に困難である。特に、薄いラメラは、さらなる検査のためにラメラを(S)TEMに正しく配置できることを確認するため、ラメラサポートと(ほぼ)同じ平面にある必要がある。さらに、サンプルから前記サポートへのラメラの移送は、溶接(welding:溶着)および非溶接操作を伴い得、これは、サンプル部分を損傷する可能性があり、その損失にさえつながる可能性がある。例えば、ラメラが針から落ちたり、サポートから落ちたりする可能性がある。
【0006】
従って、必要なのは、サンプルが破壊されるほど多くのサンプル処理を必要とせずに、STEMまたはTEM画像化用のサンプルの複雑な操作を可能にするシステムおよび方法である。
【0007】
米国特許出願公開第2008/173813 A1号では、サンプルホルダーを回転および移動させるためのマニピュレータが開示されている。ここで、サンプルが配置されるグリッドを有するサンプルホルダーは、2つの先細りシリンダーの形態の2つの部材を含むマニピュレータによって保持される。
【0008】
米国特許出願公開第2020/273659 A1号は、荷電粒子顕微鏡用のサンプルホルダーを説明しており、サンプルを含むサンプル担体を解放可能に受け入れるためのくぼみのあるホルダー本体を備える。
【発明の概要】
【0009】
一態様によれば、請求項1に定義されるように、荷電粒子顕微鏡においてサンプルを調製する方法が提供される。この方法は、機械的サポート輪郭およびそれに接続されたグリッド部材を有するサンプル担体を提供し、前記サンプル担体を前記荷電粒子顕微鏡の機械的ステージデバイスに接続するステップを含む。本明細書で定義されるように、この方法は、ラメラ形状またはチャンク形状のサンプルなどのサンプルを提供し、前記サンプルをサンプル担体のグリッド部材に接続するステップをさらに含む。前記サンプルをサンプル担体のグリッド部材に接続するステップは、機械的サポート輪郭とグリッド部材がすでに互いに接続されている状態で実行される。換言すれば、前記サンプルをサンプル担体のグリッド部材に接続するステップは、機械的サポート輪郭を有するサンプル担体と、それに接続されたグリッド部材を提供するステップの後に実行される。
【0010】
従来技術の方法とは対照的に、サンプルは、グリッド部材および機械的サポート輪郭の事前接続状態でグリッド部材に接続されている。ラメラまたはチャンクをグリッド部材に配置し、グリッド部材をラメラで機械的サポートに接続するという間接的な移送の代わりに、直接的な移送が可能である。これは時間を節約し、例えばグリッド部材を機械的サポートに配置する際に、ラメラまたはチャンクを損傷するリスクを低減する。これは、サンプルが最初にグリッド部材に接続され、次にグリッド部材とサンプルの組み合わせが機械的サポート輪郭に接続される従来技術の方法とは対照的である。
(【0011】以降は省略されています)
この特許をJ-PlatPat(特許庁公式サイト)で参照する
関連特許
エフ イー アイ カンパニ
試料支持グリッド認識
28日前
エフ イー アイ カンパニ
顕微鏡検査におけるビーム同期
1日前
エフ イー アイ カンパニ
放射線感受性試料のドリフト補正
2日前
エフ イー アイ カンパニ
物理的サンプルの微視的成分の分類
3日前
エフ イー アイ カンパニ
荷電粒子検出器を有する荷電粒子顕微鏡
29日前
エフ イー アイ カンパニ
顕微鏡検査におけるビーム位置合わせ及び同期
1日前
エフ イー アイ カンパニ
顕微鏡検査におけるビーム位置合わせ及び同期
1日前
ザ・ボーイング・カンパニー
ワイヤを搬送するためのワイヤキャリア、エンドエフェクタ、及び方法
16日前
エフ イー アイ カンパニ
荷電粒子顕微鏡用の電気的及び熱的接続ケーブル
7日前
エフ イー アイ カンパニ
積分制約フィッティングを介したスペクトル画像解析
1か月前
エフ イー アイ カンパニ
荷電粒子顕微鏡検査における発振器信号の時間的特性評価
1日前
エフ イー アイ カンパニ
電子ホログラフィにおけるハイブリッドバックグラウンド抽出
1か月前
エフ イー アイ カンパニ
走査電子顕微鏡における固体電池のエアレス移送及び電気的試験
1か月前
イーライ リリー アンド カンパニー
タンパク質チロシンキナーゼ7抗体及び抗体-薬物コンジュゲート
14日前
エフ イー アイ カンパニ
複数の傾斜角度で試料の傾斜シリーズの画像を取得するための方法
29日前
エフ イー アイ カンパニ
粒子ビームシステムにおける、構成変更に起因したエネルギー依存デフォーカスの自動補正
1か月前
個人
採尿及び採便具
22日前
日本精機株式会社
検出装置
16日前
個人
アクセサリー型テスター
1か月前
個人
高精度同時多点測定装置
1か月前
個人
計量機能付き容器
11日前
甲神電機株式会社
電流検出装置
16日前
株式会社カクマル
境界杭
1日前
株式会社ミツトヨ
測定器
28日前
アズビル株式会社
電磁流量計
1か月前
ダイキン工業株式会社
監視装置
1か月前
大成建設株式会社
風洞実験装置
11日前
トヨタ自動車株式会社
監視装置
1か月前
日本特殊陶業株式会社
ガスセンサ
9日前
個人
計量具及び計量機能付き容器
11日前
長崎県
形状計測方法
1か月前
ローム株式会社
半導体装置
1か月前
個人
システム、装置及び実験方法
1か月前
愛知電機株式会社
軸部材の外観検査装置
25日前
個人
非接触による電磁パルスの測定方法
14日前
日本信号株式会社
距離画像センサ
14日前
続きを見る
他の特許を見る