TOP
|
特許
|
意匠
|
商標
特許ウォッチ
Twitter
他の特許を見る
10個以上の画像は省略されています。
公開番号
2025172036
公報種別
公開特許公報(A)
公開日
2025-11-20
出願番号
2025078350
出願日
2025-05-09
発明の名称
荷電粒子顕微鏡検査における発振器信号の時間的特性評価
出願人
エフ イー アイ カンパニ
,
FEI COMPANY
代理人
弁理士法人ITOH
主分類
H01J
37/20 20060101AFI20251113BHJP(基本的電気素子)
要約
【課題】様々な信号を同期させるために荷電粒子顕微鏡システムを提供する。
【解決手段】 荷電粒子カラム内で光ビームの特性評価のための方法であって、荷電粒子カラム内でサンプルに向かって光ビームパルスを指向することと、サンプルに向かって荷電粒子ビームパルスを指向することと、少なくとも部分的に光ビームパルス及び荷電粒子ビームパルスに基づいて、サンプルと相互作用した荷電粒子を検出することと、少なくとも部分的に荷電粒子に基づいて、荷電粒子ビームパルスと光ビームパルスとの間の時間遅延を決定することと、少なくとも部分的に時間遅延に基づいて、光ビームパルスの少なくとも1つの特性を決定することと、を含む、方法。
【選択図】図5
特許請求の範囲
【請求項1】
荷電粒子カラム内の光ビームの特性評価のための方法であって、
前記荷電粒子カラム内でサンプルに向かって光ビームパルスを指向することと、
前記サンプルに向かって荷電粒子ビームパルスを指向することと、
少なくとも部分的に前記光ビームパルス及び前記荷電粒子ビームパルスに基づいて、前記サンプルと相互作用した荷電粒子を検出することと、
少なくとも部分的に前記荷電粒子に基づいて、前記荷電粒子ビームパルスと前記光ビームパルスとの間の時間遅延を決定することと、
少なくとも部分的に前記時間遅延に基づいて、前記光ビームパルスの少なくとも1つの特性を決定することと、を含む、方法。
続きを表示(約 1,700 文字)
【請求項2】
前記荷電粒子ビームパルスが、荷電粒子ビームパルスであり、前記光ビームが、光ビームパルスであり、前記時間遅延を決定することが、
前記荷電粒子ビームパルスを前記光ビームパルスと同期させることと、
複数の時間ステップを決定することと、を更に含み、前記複数の時間ステップのうちの時間ステップが、前記光ビームパルスに対する前記荷電粒子ビームパルスの時間的オフセットを表す、請求項1に記載の方法。
【請求項3】
前記荷電粒子ビームパルスが、荷電粒子ビームパルスであり、前記光ビームが、光ビームパルスであり、前記時間遅延を決定することが、
前記荷電粒子ビームパルスを前記光ビームパルスと同期させることと、
複数の時間ステップを決定することと、を更に含み、前記複数の時間ステップのうちの時間ステップが、前記光ビームパルスに対する前記荷電粒子ビームパルスの位相遅延を表す、請求項1に記載の方法。
【請求項4】
前記光ビームが、時間的パルスプロファイルを含む光ビームパルスであり、前記方法が、
前記荷電粒子ビームパルスのエネルギー分布を表す検出器データを生成するように構成されたエネルギー分散分光器の中に荷電粒子ビームを指向することと、
対応する複数の時間ステップの複数のエネルギー分布を表す検出器データのセットを生成することと、
前記検出器データのセットを使用して、プロファイルデータであって、時間的パルスプロファイルを表すプロファイルデータを生成することと、を更に含む、請求項1に記載の方法。
【請求項5】
前記検出器データのセットを生成することが、前記光ビーム及び前記荷電粒子ビームの相互作用の期間と同時に生成された検出器データをサンプリングすることを含み、前記検出器データが、少なくとも1つの特性によって表されるパルス持続時間よりも約1桁小さいサンプリング期間を特徴とし、前記少なくとも1つの特性が、前記光ビームの強度の前記時間的パルスプロファイルである、請求項4に記載の方法。
【請求項6】
前記荷電粒子ビームが、荷電粒子ビームパルスであり、前記検出器データのセットを生成することが、複数の荷電粒子のパルスを使用して、所与の時間ステップの検出器データを統合することを含む、請求項4に記載の方法。
【請求項7】
前記少なくとも1つの特性に対応する動作パラメータスキームを生成することを更に含み、前記動作パラメータスキームが、荷電粒子ビームシステムの1つ以上の動作パラメータを表し、前記少なくとも1つの特性が、前記光ビームの強度の時間的パルスプロファイルを含む、請求項1に記載の方法。
【請求項8】
前記光ビームの前記少なくとも1つの特性を決定することが、
光子誘起近接場電子顕微鏡検査(PINEM)スペクトルを使用して、前記光ビームの有効パルス持続時間を測定することを更に含む、請求項1に記載の方法。
【請求項9】
少なくとも部分的に前記有効パルス持続時間に基づいて、前記光ビームの時間的強度分布を特性評価することを更に含む、請求項8に記載の方法。
【請求項10】
実行可能命令を記憶する1つ以上の機械可読記憶媒体であって、前記実行可能命令が実行されると、荷電粒子ビームシステムに、
荷電粒子カラム内でサンプルに向かって光ビームパルスを指向することと、
前記サンプルに向かって荷電粒子ビームパルスを指向することと、
少なくとも部分的に前記光ビームパルス及び前記荷電粒子ビームパルスに基づいて、前記サンプルと相互作用した荷電粒子を検出することと、
少なくとも部分的に前記荷電粒子に基づいて、前記荷電粒子ビームパルスと前記光ビームパルスとの間の時間遅延を決定することと、
少なくとも部分的に前記時間遅延に基づいて、前記光ビームパルスの少なくとも1つの特性を決定することと、を含む、動作を実施させる、1つ以上の機械可読記憶媒体。
(【請求項11】以降は省略されています)
発明の詳細な説明
【技術分野】
【0001】
[関連出願の相互参照]
本出願は、その全内容があらゆる目的のために参照により本明細書に組み込まれる、2024年5月10日に提出された米国仮出願番号63/645,747の優先権を主張する。
続きを表示(約 1,800 文字)
【0002】
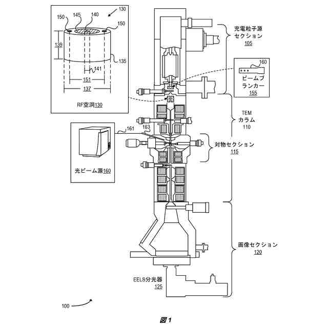
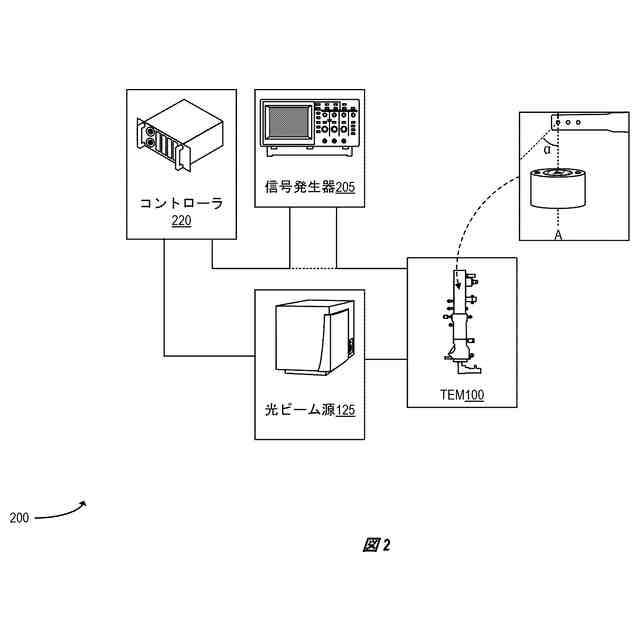
本開示の実施形態は、荷電粒子顕微鏡システムを対象とする。より具体的には、本開示は、荷電粒子顕微鏡検査におけるビーム同期技術を記載している。
【背景技術】
【0003】
荷電粒子顕微鏡検査は、本質的に生物学的又は無機的のいずれかである材料及び構造を研究するために使用され得る。走査型及び透過型電子顕微鏡(SEM/TEM)は、電子及び/又は光子のビームをタンパク質又は半導体ウェハなどの標的に集束させることにより画像を形成する。一部の粒子は、標的と相互作用し、顕微鏡のユーザに標的に関する情報を伝え得る。一部の顕微鏡検査技術は、荷電粒子ビームと併せてレーザーベースの技術を追加的に使用し得る。レーザーベースの技術を使用する場合、フォトエミッタの緩和時間特性、飽和効果、及び残留放出は、典型的には、ビームチョッピング方法によって対処される。TEMでのチョッパー/ビームブランカーの使用は、順に、本質的に各々、独自のクロックを有する、2つの供給源(ポンプ及びプローブ)間のアクティブな同期を伴う。ピコ秒時間尺度での同期は、重大な課題を提示する。
【発明の概要】
【0004】
ある特定の実施形態によれば、荷電粒子カラム内の光ビームの特性評価のための方法であって、荷電粒子カラム内でサンプルに向かって光ビームパルスを指向することと、サンプルに向かって荷電粒子ビームパルスを指向することと、少なくとも部分的に光ビームパルス及び荷電粒子ビームパルスに基づいて、サンプルと相互作用した荷電粒子を検出することと、少なくとも部分的に荷電粒子に基づいて、荷電粒子ビームパルスと光ビームパルスとの間の時間遅延を決定することと、少なくとも部分的に時間遅延に基づいて、光ビームパルスの少なくとも1つの特性を決定することと、を含む、方法。
【0005】
いくつかの実施形態によれば、荷電粒子ビームは、荷電粒子ビームパルスであり、光ビームは、光ビームパルスであり、時間遅延を決定することは、荷電粒子ビームパルスを光ビームパルスと同期させることと、複数の時間ステップを決定することと、を更に含み、複数の時間ステップのうちの時間ステップは、光ビームパルスに対する荷電粒子ビームパルスの時間的オフセットを表す。
【0006】
いくつかの実施形態によれば、光ビームは、光ビームパルスであり、時間遅延を決定することは、荷電粒子ビームパルスを光ビームパルスと同期させることと、複数の時間ステップを決定することと、を更に含み、複数の時間ステップのうちの時間ステップは、光ビームパルスに対する荷電粒子ビームパルスの位相遅延を表す。
【0007】
いくつかの実施形態によれば、光ビームは、時間的パルスプロファイルを含む光ビームパルスであり、本方法は、荷電粒子ビームのエネルギー分布を表す検出器データを生成するように構成されたエネルギー分散分光器の中に荷電粒子ビームを指向することと、対応する複数の時間ステップの複数のエネルギー分布を表す検出器データのセットを生成することと、検出器データのセットを使用して、プロファイルデータであって、時間的パルスプロファイルを表す、プロファイルデータを生成することと、を更に含む。
【0008】
いくつかの実施形態によれば、検出器データのセットを生成することは、光ビーム及び荷電粒子ビームの相互作用の期間と同時に生成された検出器データをサンプリングすることを含み、検出器データは、少なくとも1つの特性によって表されるパルス持続時間よりも約1桁小さいサンプリング期間を特徴とし、少なくとも1つの特性は、光ビームの強度の時間的パルスプロファイルである。
【0009】
いくつかの実施形態によれば、荷電粒子ビームは、荷電粒子ビームパルスであり、検出器データのセットを生成することは、複数の荷電粒子のパルスを使用して、所与の時間ステップの検出器データを統合することを含む。
【0010】
いくつかの実施形態によれば、少なくとも1つの特性に対応する動作パラメータスキームを生成し、動作パラメータスキームは、荷電粒子ビームシステムの1つ以上の動作パラメータを表し、少なくとも1つの特性は、光ビームの強度の時間的パルスプロファイルを含む。
(【0011】以降は省略されています)
この特許をJ-PlatPat(特許庁公式サイト)で参照する
関連特許
エフ イー アイ カンパニ
試料支持グリッド認識
28日前
エフ イー アイ カンパニ
顕微鏡検査におけるビーム同期
1日前
エフ イー アイ カンパニ
放射線感受性試料のドリフト補正
2日前
エフ イー アイ カンパニ
物理的サンプルの微視的成分の分類
3日前
エフ イー アイ カンパニ
荷電粒子検出器を有する荷電粒子顕微鏡
29日前
エフ イー アイ カンパニ
顕微鏡検査におけるビーム位置合わせ及び同期
1日前
ザ・ボーイング・カンパニー
ワイヤを搬送するためのワイヤキャリア、エンドエフェクタ、及び方法
16日前
エフ イー アイ カンパニ
顕微鏡検査におけるビーム位置合わせ及び同期
1日前
エフ イー アイ カンパニ
荷電粒子顕微鏡用の電気的及び熱的接続ケーブル
7日前
エフ イー アイ カンパニ
積分制約フィッティングを介したスペクトル画像解析
1か月前
エフ イー アイ カンパニ
荷電粒子顕微鏡検査における発振器信号の時間的特性評価
1日前
エフ イー アイ カンパニ
電子ホログラフィにおけるハイブリッドバックグラウンド抽出
1か月前
エフ イー アイ カンパニ
走査電子顕微鏡における固体電池のエアレス移送及び電気的試験
1か月前
エフ イー アイ カンパニ
複数の傾斜角度で試料の傾斜シリーズの画像を取得するための方法
29日前
イーライ リリー アンド カンパニー
タンパク質チロシンキナーゼ7抗体及び抗体-薬物コンジュゲート
14日前
エフ イー アイ カンパニ
ピクセル領域隣接グラフを介した、タイル化された領域隣接グラフの計算
1か月前
エフ イー アイ カンパニ
粒子ビームシステムにおける、構成変更に起因したエネルギー依存デフォーカスの自動補正
1か月前
エフ イー アイ カンパニ
時間ゲート検出、デュアルレイヤSPADベースの電子検出
2か月前
エフ イー アイ カンパニ
荷電粒子顕微鏡で使用するためのサンプル担体、およびそのようなサンプル担体を荷電粒子顕微鏡で使用する方法
1か月前
アディマブ・リミテッド・ライアビリティ・カンパニー
操作されたPH依存性抗CD3抗体、ならびにその作製方法および使用方法
1か月前
APB株式会社
蓄電セル
28日前
東ソー株式会社
絶縁電線
1か月前
個人
フレキシブル電気化学素子
1か月前
株式会社ユーシン
操作装置
1か月前
日新イオン機器株式会社
イオン源
1か月前
株式会社東芝
端子台
22日前
マクセル株式会社
電源装置
22日前
ローム株式会社
半導体装置
29日前
オムロン株式会社
電磁継電器
1か月前
株式会社GSユアサ
蓄電設備
1か月前
株式会社GSユアサ
蓄電装置
1日前
株式会社GSユアサ
蓄電設備
1か月前
株式会社GSユアサ
蓄電装置
23日前
太陽誘電株式会社
コイル部品
1か月前
富士電機株式会社
電磁接触器
1日前
三菱電機株式会社
回路遮断器
9日前
続きを見る
他の特許を見る