TOP
|
特許
|
意匠
|
商標
特許ウォッチ
Twitter
他の特許を見る
公開番号
2025169931
公報種別
公開特許公報(A)
公開日
2025-11-14
出願番号
2025076529
出願日
2025-05-02
発明の名称
荷電粒子顕微鏡用の電気的及び熱的接続ケーブル
出願人
エフ イー アイ カンパニ
,
FEI COMPANY
代理人
弁理士法人ITOH
主分類
H01J
37/18 20060101AFI20251107BHJP(基本的電気素子)
要約
【課題】真空環境内のステージ上の試料への極低温冷却、高電圧接続、及び他の電気的接続を提供する一方で、原子プローブトモグラフィ及び量子コンピューティング構成要素の試験などの顕微鏡内の新しい又は改善された測定用途をその場で可能にするために、最小のステージ振動で少なくとも5自由度のステージ運動を依然として可能にするシステム、方法、及び通信ケーブルを提供する。
【解決手段】接続ケーブルは、超高真空での使用に好適である外側ばね内で、接続を単一の接続ケーブルに組み合わせる。接続ケーブルはまた、機械的、電気的、及び熱的ショートカットを防止するために、近くの環境内の構成要素(例えば、チャンバ壁及び他の機器)から少なくとも最小スタンドオフ距離を維持するように成形及び構成される。
【選択図】図1
特許請求の範囲
【請求項1】
超高真空における電気的及び熱的接続性のための接続ケーブルであって、
外側ばねであって、前記外側ばねを通って延在する管腔を含み、前記外側ばねは、真空環境において前記管腔の排気を可能にするための真空コンダクタンス経路を含む、外側ばねと、
前記外側ばねの前記管腔内に少なくとも部分的に位置し、高電圧及び熱エネルギーを伝導するように構成された編組と、
前記接続ケーブルの形状を維持するために前記編組内に少なくとも部分的に配設された内側構造要素と、を備える、接続ケーブル。
続きを表示(約 930 文字)
【請求項2】
3つの並進次元及び第1の回転次元における接続されたステージの運動を可能にするように構成された第1のセクションであって、前記第1のセクションは、前記外側ばね、前記編組、及び前記内側構造要素を含む、第1のセクションと、
第2の回転次元における前記接続されたステージの運動を可能にするように構成された第2のセクションであって、前記第2のセクションは、前記編組を含む、第2のセクションと、を更に備える、請求項1に記載の接続ケーブル。
【請求項3】
前記第1のセクションは、螺旋形状に形成され、前記第2のセクションは、U字形状に形成される、請求項2に記載の接続ケーブル。
【請求項4】
前記第1のセクションを前記第2のセクションに接続する中間固定具を更に備える、請求項2に記載の接続ケーブル。
【請求項5】
前記接続ケーブルの第1の端部を熱リザーバ、高電圧供給源、及び電気的インターフェースに接続するための外部インターフェースコネクタと、
前記接続ケーブルの第2の端部を荷電粒子システムのステージに接続するための試料インターフェースコネクタと、を更に備える、請求項1に記載の接続ケーブル。
【請求項6】
前記外側ばね内に配設され、電気信号を搬送するように構成された1つ以上の電気導体を更に備える、請求項1に記載の接続ケーブル。
【請求項7】
前記1つ以上の電気導体は、4つの電気導体を含む、請求項6に記載の接続ケーブル。
【請求項8】
前記接続ケーブルの長さは、300ミリメートル~500ミリメートルの範囲である、請求項1に記載の接続ケーブル。
【請求項9】
前記接続ケーブルは、10
-8
mbarを下回る圧力で動作するように構成される、請求項1に記載の接続ケーブル。
【請求項10】
前記接続ケーブルは、荷電粒子システム内の接続されたステージの運動中に環境構成要素までのスタンドオフ距離を維持するように構成される、請求項1に記載の接続ケーブル。
(【請求項11】以降は省略されています)
発明の詳細な説明
【技術分野】
【0001】
本発明は、荷電粒子顕微鏡用の電気的及び熱的接続ケーブルに関する。
続きを表示(約 3,900 文字)
【背景技術】
【0002】
原子プローブトモグラフィ(atom probe tomography、APT)は、針状試料を蒸発させることによって進行し、試料の表面から除去された原子の漸進的な測定によって、試料の構造、組成、及び/又は形態に関する情報を導出する。プロセス中の試料の形態、構造及び組成の変化に関する情報は、APTデータにおけるアーチファクトを回避するために重要である。荷電粒子顕微鏡(電子顕微鏡など)内でAPTツールを組み合わせることにより、試料の3D再構成情報を強化する新しい情報が提供されるとともに、全体的なAPT性能が改善される。APTツールは、走査電子顕微鏡及び/又は透過電子顕微鏡技術と組み合わせることができる。
【0003】
典型的には、針の形状、構造、及び組成に関する荷電粒子顕微鏡法情報は、少なくとも、顕微鏡データを更新するためにAPT機器から顕微鏡に試料を除去するときに直面するであろう、APT実験の間の試料再整合に伴う有意な課題に起因して、APT実験の開始時及び実験の終了時にAPT再構築のための入力として使用される。したがって、2つの異なる情報チャネル間の相関を改善し、APTデータにおけるアーチファクトを低減するために、APT動作と走査又は透過荷電粒子(例えば、電子)顕微鏡法(scanning or transmission charged particle microscopy、S/TEM)動作との間をその場で切り替えるためのシステム、方法、及びアルゴリズムが必要とされている。
【発明の概要】
【0004】
本明細書で教示されるいくつかの例によれば、超高真空における電気的及び熱的接続性のための接続ケーブルが提供される。接続ケーブルは、接続ケーブルを通って延在する管腔を含む外側ばねを含む。外側ばねは、真空環境における管腔の排気を可能にするための真空コンダクタンス経路を含む。接続ケーブルは、外側ばねの管腔内に少なくとも部分的に位置し、高電圧及び熱エネルギーを伝導するように構成された編組を含む。接続ケーブルは、接続ケーブルの形状を維持するために編組内に少なくとも部分的に配設された内側構造要素を含む。
【0005】
本明細書で教示されるいくつかの例によれば、電気的及び熱的接続性を提供する接続ケーブルを製造する方法が提供される。本方法は、外側ばねの端部を拡張することを含む。外側ばねは、外側ばねを通って延在する管腔を含む。本方法は、内側構造要素を編組に挿入することを含む。本方法は、編組及び内側構造要素を外側ばねの管腔の中に挿入することを含む。
【0006】
本明細書で教示されるいくつかの例によれば、超高真空における電気的及び熱的接続性のための接続ケーブルが提供される。接続ケーブルは、3つの並進次元及び第1の回転次元における接続されたステージの運動を可能にするように構成された第1のセクションを含む。第1のセクションは、第1のセクションを通って延在する第1の管腔を含む外側ばねを含む。第1のセクションは、外側ばねの第1の管腔内に少なくとも部分的に配設され、高電圧及び熱エネルギーを伝導するように構成された編組を含む。第1のセクションは、第1のセクションの形状を維持するように、編組内に少なくとも部分的に配設された内側構造要素を含む。接続ケーブルは、接続されたステージの第2の回転次元における運動を可能にするように構成された第2のセクションを含む。第2のセクションは、編組を含む。接続ケーブルは、第1のセクションと第2のセクションとを接続する中間固定具を含む。
【図面の簡単な説明】
【0007】
任意の特定の要素又は行為の考察を容易に識別するために、参照番号における最上位桁は、その要素が最初に導入された、図の番号を指す。
【0008】
図は必ずしも縮尺通りに描画されておらず、図内の物体が互いに対する関係において必ずしも縮尺通りに描画されていないことを理解されたい。図は、本明細書において開示された装置、システム、及び方法の様々な実施形態に対する明確さ及び理解をもたらすことを意図した描示である。可能な限り、同じ参照番号が、同じ又は同様の部品を指すように全図面を通じて使用される。更に、図面が、本発明の教示の範囲を決して限定することを意図するものではないことを理解されたい。
本明細書で教示される様々な例による、超高真空環境での動作のための接続ケーブルの概略図を例解する。
接続ケーブルの断面を通る断面図を例解する。
本明細書で教示されるいくつかの例による、接続ケーブルの中間固定具の内部の図を例解する。
本明細書で教示されるいくつかの例による接続ケーブルの端部の断面図を例解する。
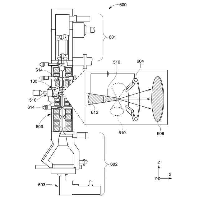
例示的な荷電粒子システム内の本明細書で教示される接続ケーブルの概略図を例解する。
本明細書で教示される様々な例による、例示的なステージに取り付けられた接続ケーブルを含む荷電粒子システムの電気及び熱システムの概略図を例解する。
接続ケーブルの一部の縦断面の概略図を例解する。
中立傾斜位置にあるステージに接続された例示的な接続ケーブルの斜視図を例解する。
図8Aと同じ接続ケーブルを例解し、接続ケーブル100の図は、3つのベータ角傾斜状態で重ね合わされている。
図8Aと同じ接続ケーブルを例解し、接続ケーブル100の図は、3つのアルファ角傾斜状態で重ね合わされている。
超高真空環境内のステージに取り付けられた接続ケーブルの側面図を例解する。
本明細書で教示されるいくつかの例による接続ケーブルを製造する方法を例解する。
【発明を実施するための形態】
【0009】
本明細書で教示されるシステム、方法、及び通信ケーブルは、真空環境内のステージ上の試料への極低温冷却、高電圧接続、及び他の電気接続を提供する一方で、依然として、最小ステージ振動を伴う少なくとも5自由度におけるステージ運動を可能にする。既存の従来のシステムでは、熱的接続、高電圧接続、及び電気センサ接続は、別々に提供されなければならなかった。様々な程度の剛性及び/又は緩みを有する別個の接続を設けることは、接続を周囲環境に接触させ、短絡、冷却の損失、又は構成要素への損傷につながる危険性をもたらす。同様に、別個の接続は、望ましくない振動運動の個々の源を提供し(撮像不良につながる)、ステージ移動を制限するか、又は運動ヒステリシスにつながる、大きい有効負荷を生成する可能性がある。本明細書で教示される接続ケーブルは、超高真空での使用に好適である外側ばね内で接続を単一の接続ケーブルに組み合わせることによって、これらの問題を克服する。これらの接続ケーブルは、原子プローブトモグラフィ及び量子コンピューティング構成要素の試験などの顕微鏡内の新しい又は改善された測定用途をその場で可能にし、ステージが5自由度の精密運動を保持しながら、極低温並びに電気的検知及び試験機器へのアクセスの両方がステージにおいて所望される。接続ケーブルはまた、機械的、電気的、及び熱的ショートカットを防止するために、近くの環境内の構成要素(例えば、チャンバ壁及び他の機器)から少なくとも最小スタンドオフ距離を維持するように成形及び構成される。
【0010】
電子顕微鏡法、3D再構成ソフトウェア、及び計算能力の進歩により、100nm以下の大きさの物体の正確な撮像及び再構成を行うことが可能になった。特に関心のある分野には、ナノテクノロジが新しい構造及び新しい組成物を開発し続ける、生物学(新型コロナウイルスなどのウイルスに関連する研究を含む)及び材料科学が含まれる。高分解能のために、試料振動を最小限にすることが望ましい場合がある。同時に、試料粒子のサイズが大きくなるにつれて、必要とされる画像の数も多くなり、その結果、1つの研究を実行するための時間も長くなる。いずれの場合も、正確な再構成に必要な試料の安定性はより厳しくなり、試料を極低温に冷却して原子運動を低減し、超高分解能に使用される長い撮像時間の後に試料に生じ得る放射線損傷を低減することによって対処することができる。液体窒素又は液体ヘリウムリザーバを用いる従来の技術は、液体を沸騰させることによって誘発される振動に悩まされている。したがって、6時間、12時間、又はそれ以上の間、外部振動なしで、77K、35K、20K、又は更に低い安定した低温を維持することが非常に必要である。本明細書に教示される接続ケーブルは、リザーバをステージから機械的に分離することによって、及びケーブル自体の振動運動を減衰させる編組を使用することによって、関連する振動又は機械的外乱を伴わずに、ステージ上の試料に極低温を提供することを可能にする。例えば、本明細書で教示される接続ケーブルは、その内容全体が参照により本明細書に組み込まれる、2022年12月22日に公開された米国特許出願公開第2022/0404247号に記載されているタイプの固体熱リザーバからのコールドチェーンの一部を形成することができる。
(【0011】以降は省略されています)
この特許をJ-PlatPat(特許庁公式サイト)で参照する
関連特許
エフ イー アイ カンパニ
試料チップ
2か月前
エフ イー アイ カンパニ
試料支持グリッド認識
26日前
エフ イー アイ カンパニ
放射線感受性試料のドリフト補正
今日
エフ イー アイ カンパニ
物理的サンプルの微視的成分の分類
1日前
エフ イー アイ カンパニ
荷電粒子検出器を有する荷電粒子顕微鏡
27日前
エフ イー アイ カンパニ
荷電粒子ビームシステム用の加熱アセンブリ
2か月前
エフ イー アイ カンパニ
デジタルツインを使用したツールマッチング
3か月前
ザ・ボーイング・カンパニー
ワイヤを搬送するためのワイヤキャリア、エンドエフェクタ、及び方法
14日前
エフ イー アイ カンパニ
荷電粒子顕微鏡用の電気的及び熱的接続ケーブル
5日前
エフ イー アイ カンパニ
積分制約フィッティングを介したスペクトル画像解析
1か月前
エフ イー アイ カンパニ
電子ホログラフィにおけるハイブリッドバックグラウンド抽出
28日前
エフ イー アイ カンパニ
走査電子顕微鏡における固体電池のエアレス移送及び電気的試験
1か月前
エフ イー アイ カンパニ
複数の傾斜角度で試料の傾斜シリーズの画像を取得するための方法
27日前
イーライ リリー アンド カンパニー
タンパク質チロシンキナーゼ7抗体及び抗体-薬物コンジュゲート
12日前
ヴィーブ ヘルスケア カンパニー
抗ウイルス療法
2か月前
エフ イー アイ カンパニ
ピクセル領域隣接グラフを介した、タイル化された領域隣接グラフの計算
1か月前
エフ イー アイ カンパニ
粒子ビームシステムにおける、構成変更に起因したエネルギー依存デフォーカスの自動補正
1か月前
エフ イー アイ カンパニ
時間ゲート検出、デュアルレイヤSPADベースの電子検出
2か月前
アディマブ・リミテッド・ライアビリティ・カンパニー
高アフィニティ抗CD3抗体、ならびにその作製方法及び使用方法
2か月前
エフ イー アイ カンパニ
荷電粒子顕微鏡で使用するためのサンプル担体、およびそのようなサンプル担体を荷電粒子顕微鏡で使用する方法
1か月前
アディマブ・リミテッド・ライアビリティ・カンパニー
操作されたPH依存性抗CD3抗体、ならびにその作製方法および使用方法
1か月前
APB株式会社
蓄電セル
26日前
東ソー株式会社
絶縁電線
28日前
個人
フレキシブル電気化学素子
1か月前
株式会社ユーシン
操作装置
1か月前
日新イオン機器株式会社
イオン源
1か月前
ローム株式会社
半導体装置
27日前
ローム株式会社
半導体装置
1か月前
マクセル株式会社
電源装置
20日前
株式会社東芝
端子台
20日前
三菱電機株式会社
回路遮断器
7日前
株式会社GSユアサ
蓄電装置
21日前
株式会社GSユアサ
蓄電装置
21日前
株式会社GSユアサ
蓄電装置
13日前
オムロン株式会社
電磁継電器
1か月前
株式会社ホロン
冷陰極電子源
1か月前
続きを見る
他の特許を見る