TOP
|
特許
|
意匠
|
商標
特許ウォッチ
Twitter
他の特許を見る
公開番号
2025138496
公報種別
公開特許公報(A)
公開日
2025-09-25
出願番号
2024037618
出願日
2024-03-11
発明の名称
泥濘地歩行用板材の補助気柱枠およびその製造方法
出願人
アキレス株式会社
代理人
個人
,
個人
主分類
B63B
35/34 20060101AFI20250917BHJP(船舶またはその他の水上浮揚構造物;関連艤装品)
要約
【課題】泥濘地であっても安定して歩行や救助活動ができ、運搬・回収が容易にできる泥濘地歩行用板材の補助気柱枠およびその製造方法を提供する。
【解決手段】泥濘地歩行用板材の補助気柱枠1は、装着される歩行用板材Pの周囲を囲んで泥濘地上に載置される気柱枠体10と、気柱枠体10の周囲内側に突き出して設けられ底部から気柱枠体10内への泥および水の入り込みを規制する帯状部20と、帯状部20間を連結し歩行用板材Pを支持し、回収時に気柱枠体10内の泥および水を排出可能な支持連結体30と、を備える。
【選択図】図1
特許請求の範囲
【請求項1】
装着される歩行用板材の周囲を囲んで泥濘地上に載置される気柱枠体と、
前記気柱枠体の周囲内側に突き出して設けられ底部から前記気柱枠体内への泥および水の入り込みを規制する帯状部と、
前記帯状部間を連結し前記歩行用板材を支持し、回収時に前記気柱枠体内の泥および水を排出可能な支持連結体と、を備える、
ことを特徴とする泥濘地歩行用板材の補助気柱枠。
続きを表示(約 970 文字)
【請求項2】
前記気柱枠体は、1つの気柱室または複数の気柱室で形成されて前記歩行用板材の外形に応じた形状に、折り曲げられまたは連結され、装着された前記歩行用板材を保持する環状とされている、
ことを特徴とする請求項1に記載の泥濘地歩行用板材の補助気柱枠。
【請求項3】
前記気柱枠体は、泥および水が這い上がらず泥濘地から持ち上げずに物体を引き込みが可能な直径とされている、
ことを特徴とする請求項1に記載の泥濘地歩行用板材の補助気柱枠。
【請求項4】
前記気柱枠体は、熱可塑性ポリウレタン層にゴム層を積層した複合シート材で構成され、円周方向は前記複合シート材同士を重ねて拝み接合され、長手方向は端面同士を突き合わせて熱可塑性ポリウレタン層の当て布を介して熱溶着されて接合されている、
ことを特徴とする請求項1、2又は3に記載の泥濘地歩行用板材の補助気柱枠。
【請求項5】
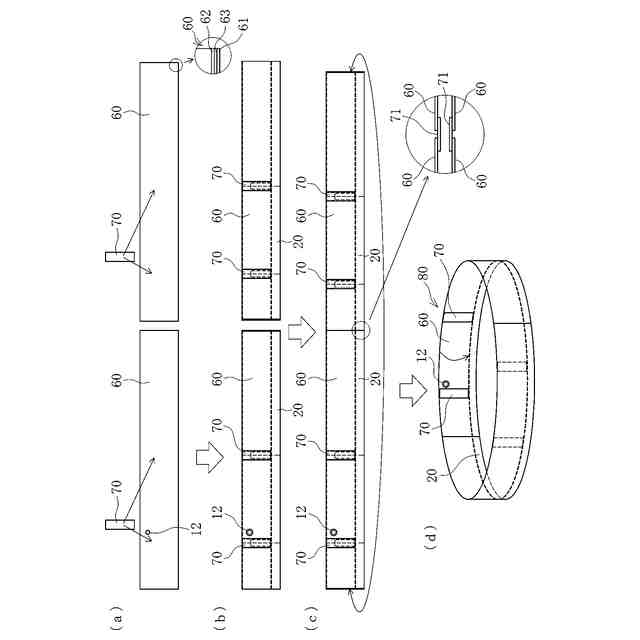
気柱の円周長に帯状部の幅を加えた略幅とされ、歩行用板材の周囲長の略長さとされた複合シート材に、前記歩行用板材の角部の位置に対応させて補強シート材を内面に取り付ける工程と、
前記複合シート材の端部同士を連結して環状のシートにする工程と、
前記環状のシートを幅方向に折り重ねて前記帯状部を残して接合し気柱枠体を形成する工程と、
前記気柱枠体の前記補強シート材を取り付けた外側部分の前記帯状部に、前記気柱枠体を折り曲げた形状に保持する3角形状の角保持部を形成する工程と、
前記帯状部間に前記歩行用板材を支持する支持連結体を連結する工程と、を有する、
ことを特徴とする泥濘地歩行用板材の補助気柱枠の製造方法。
【請求項6】
前記複合シート材および前記補強シート材は、熱可塑性ポリウレタン層にゴム層を積層した複合シート材で構成される、
ことを特徴とする請求項5に記載の泥濘地歩行用板材の補助気柱枠の製造方法。
【請求項7】
前記複合シート材の接合は、端部同士を突き合わせて熱可塑性ポリウレタンシート層の当て布を重ねて熱溶着するようにした、
ことを特徴とする請求項6に記載の泥濘地歩行用板材の補助気柱枠の製造方法。
発明の詳細な説明
【技術分野】
【0001】
本発明は、泥濘地歩行用板材の補助気柱枠およびその製造方法に関する。
続きを表示(約 1,400 文字)
【背景技術】
【0002】
泥濘地を歩行する必要がある場合の一つに、災害発生時の救助活動などがあり、特に台風、豪雨、津波、土砂崩れなどの際に地面が泥濘となってしまい、救助活動に支障が生じる場合がある。
従来、災害現場では、いわゆるサブロク板やコンパネ(910×1820mm)とよばれる板材をそのまま泥濘地に並べ、仮の歩行路を設置することが行われる。
また、特許文献1には、水上を歩行可能とする浮体式桟橋が開示されており、矩形の板材を長さ方向に複数並べて配置した板状体の下面に浮き袋状体を2列取り付けるようにしておき、膨らました浮き袋状体を水面に浮かべることで、板状体上を歩行できるようにしている。
【先行技術文献】
【特許文献】
【0003】
特開2021-095838号公報
【発明の概要】
【発明が解決しようとする課題】
【0004】
これまでの泥濘地の歩行に板材を用いる場合、板材に加工がなされていないため持ちにくく運搬が難しく、泥濘地に並べると、周囲から泥が這い上がり、周囲との境界がわからなくなって踏み外したり、足もとに神経をつかう必要があり、効率的に救助活動などの作業をすることができないなどの問題がある。
また、回収する場合には、板材が泥に埋もれているため探し出しにくく、板材に泥が載っているため非常に重くなって重労働となるなどの問題がある。
また、浮体式桟橋を泥濘地で使用すると、板材と泥濘地との間に浮き袋状体による空間が形成され、安定した状態に設置できず、安全に歩行したり、救助活動などの作業をすることが難しいという問題がある。
【0005】
本発明は、かかる課題に鑑みてなされたものであり、泥濘地であっても安定して歩行や救助活動ができ、運搬・回収が容易にできる泥濘地歩行用板材の補助気柱枠およびその製造方法を提供することを目的とする。
【課題を解決するための手段】
【0006】
上記課題を解決するため、本発明の第1の観点にかかる泥濘地歩行用板材の補助気柱枠は、
装着される歩行用板材の周囲を囲んで泥濘地上に載置される気柱枠体と、
前記気柱枠体の周囲内側に突き出して設けられ底部から前記気柱枠体内への泥および水の入り込みを規制する帯状部と、
前記帯状部間を連結し前記歩行用板材を支持し、回収時に前記気柱枠体内の泥および水を排出可能な支持連結体と、を備える、
ことを特徴とする。
【0007】
前記気柱枠体は、1つの気柱室または複数の気柱室で形成されて前記歩行用板材の外形に応じた形状に、折り曲げられまたは連結され、装着された前記歩行用板材を保持する環状とされている、ことが好ましい。
【0008】
前記気柱枠体は、泥および水が這い上がらず泥濘地から持ち上げずに物体を引き込みが可能な直径とされている、ことが好ましい。
【0009】
前記気柱枠体は、持ち手を備えて前記歩行用板材が装着された状態のまま運搬可能とされている、ことが好ましい。
【0010】
前記気柱枠体は、隣接する複数の前記補助気柱枠同士を連結する連結部材を備えている、ことが好ましい。
(【0011】以降は省略されています)
この特許をJ-PlatPat(特許庁公式サイト)で参照する
関連特許
アキレス株式会社
壁紙
1か月前
アキレス株式会社
生分解性樹脂フィルム
1か月前
アキレス株式会社
複合シート材の連結方法
1か月前
アキレス株式会社
生分解性樹脂組成物及び成形体
24日前
アキレス株式会社
泥濘地歩行用板材の補助気柱枠およびその製造方法
1か月前
アキレス株式会社
養生シート製品、養生区画、及び養生区画の構築方法
17日前
アキレス株式会社
発泡シート集合体梱包方法および発泡シート集合体梱包物
1か月前
個人
水上遊具
5か月前
個人
洋上研究所
3か月前
個人
川下り用船
11か月前
個人
津波防災ウエア
2か月前
個人
船用横揺防止具
8か月前
個人
補助機構
7か月前
個人
コンパクトシティ船
7か月前
個人
渦流動力推進構造
7か月前
個人
セールのバテンガイド装置
3か月前
炎重工株式会社
浮標
9か月前
炎重工株式会社
浮標
9か月前
個人
水質浄化・集熱昇温システム
4か月前
住友重機械工業株式会社
船舶
4か月前
株式会社フルトン
水中捕捉装置
7か月前
個人
スクリュープロペラ
7か月前
個人
船舶
9か月前
株式会社ラフティ
サーフボード
4か月前
オーケー工業株式会社
係留フック
8か月前
ペアリ株式会社
海の環境改善装置
7日前
個人
回転式による流体流出防止タンカー
7か月前
スズキ株式会社
船外機
6か月前
ヤマハ発動機株式会社
船外機
9か月前
スズキ株式会社
船外機
6か月前
常石造船株式会社
メタノール燃料船
10か月前
朝日電装株式会社
船外機用照明装置
2か月前
スズキ株式会社
船外機
7か月前
スズキ株式会社
船外機
7か月前
株式会社アカデミー出版
船舶
3か月前
ナブテスコ株式会社
主機制御システム
1か月前
続きを見る
他の特許を見る