TOP
|
特許
|
意匠
|
商標
特許ウォッチ
Twitter
他の特許を見る
公開番号
2025137997
公報種別
公開特許公報(A)
公開日
2025-09-25
出願番号
2024036598
出願日
2024-03-11
発明の名称
酸素濃度調整システム
出願人
デゾン・ジャパン株式会社
代理人
フェリシテ弁理士法人
主分類
C01B
13/02 20060101AFI20250917BHJP(無機化学)
要約
【課題】 空気中の酸素濃度を調整するための酸素濃度調整システムにおいて、快適性が損なわれず、容易に酸素濃度を調整できるものを提供する。
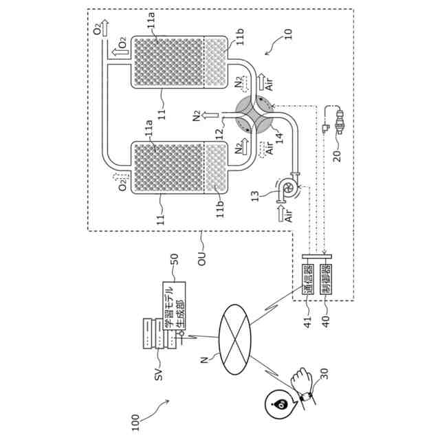
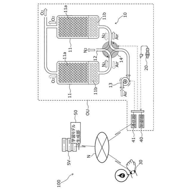
【解決手段】 酸素濃度調整システム100は、人HMが出入りする室内IRにおける空気中の酸素濃度を調整するためのシステムであり、前記室内IRに酸素を供給する供給器10と、前記室内IRにおける空気中の酸素濃度を検出する第1検出器20と、前記人HMの血中の酸素濃度を検出する第2検出器30と、前記第1検出器20により検出される空気中の酸素濃度と、前記第2検出器30により検出される血中の酸素濃度と、に基づいて、前記供給器10により供給される酸素の量を制御する制御器40と、を備えている。
【選択図】 図3
特許請求の範囲
【請求項1】
動物が存在する空間内における媒体中の酸素濃度を調整するための酸素濃度調整システムであって、
前記空間内に酸素を供給する供給器と、
前記空間内における媒体中の酸素濃度を検出する第1検出器と、
前記第1検出器により検出される媒体中の酸素濃度に基づいて、前記供給器により供給される酸素の量を制御する制御器と、
を備えた
酸素濃度調整システム。
続きを表示(約 1,100 文字)
【請求項2】
請求項1に記載の酸素濃度調整システムにおいて、
人が出入りする室内における空気中の酸素濃度を調整するために用いられ、
前記人の血中の酸素濃度、心拍数、呼吸数、及び、活動レベルのうちの1つ又は2つ以上の生体情報を検出する第2検出器を備え、
前記供給器は、
前記室内に酸素を供給し、
前記第1検出器は、
前記室内における空気中の酸素濃度を検出し、
前記制御器は、
前記第1検出器により検出される空気中の酸素濃度と、前記第2検出器により検出される前記生体情報と、に基づいて、前記供給器により供給される酸素の量を制御する
酸素濃度調整システム。
【請求項3】
請求項2に記載の酸素濃度調整システムにおいて、
前記第2検出器は、
少なくとも前記人の血中の酸素濃度を検出し、
前記制御器は、
前記血中の酸素濃度が低いほど、前記空気中の酸素濃度が高くなるよう、前記供給器により供給される酸素の量を制御する
酸素濃度調整システム。
【請求項4】
請求項3に記載の酸素濃度調整システムにおいて、
前記血中の酸素濃度と、前記空気中の酸素濃度との相関を、機械学習して得られる学習モデルとして生成する学習モデル生成部
を備え、
前記制御器は、
前記血中の酸素濃度を用い、前記学習モデルに従って推定される最適な前記空気中の酸素濃度となるよう、前記供給器により供給される酸素の量を制御する
酸素濃度調整システム。
【請求項5】
請求項2乃至請求項4に記載の酸素濃度調整システムにおいて、
前記供給器は、
前記室内から取り込んだ空気から酸素を分離して、前記室内に前記分離した酸素を供給する
酸素濃度調整システム。
【請求項6】
請求項5に記載の酸素濃度調整システムにおいて、
前記供給器は、
前記酸素を分離した後の気体を、前記室内の外側である室外に排出する
酸素濃度調整システム。
【請求項7】
請求項6に記載の酸素濃度調整システムにおいて、
前記室内の温度を調整する空調器
を備え、
前記空調器は、
室内熱交換器及び室外熱交換器を繋ぎ、前記室内及び前記室外を区画する壁を貫通するよう配設された冷媒配管を有し、
前記供給器は、
前記酸素を分離した後の気体を、前記冷媒配管に沿って前記室外へ導く排気配管を有する
酸素濃度調整システム。
発明の詳細な説明
【技術分野】
【0001】
本発明は、空気中の酸素濃度を調整するためのシステムである酸素濃度調整システムに関するものである。
続きを表示(約 1,400 文字)
【背景技術】
【0002】
従来、人が吸入する空気中の酸素濃度を調整する技術が知られている。例えば、下記特許文献1に記載のシステムでは、酸素濃縮装置からの酸素が、カニューラを介して患者に供給される。供給される酸素の量は、医師の処方に基づいて調整される。医師は、通信ネットワークを介して、遠隔的に患者の生体情報を取得し、上記処方がなされるようになっている。
【先行技術文献】
【特許文献】
【0003】
国際公開WO2023/167169号
【発明の概要】
【発明が解決しようとする課題】
【0004】
上記特許文献の技術によれば、患者の生体情報を効率的に集約でき、患者と医師が離れた場所に位置している場合であっても、適切な処方に基づいて酸素が供給され得る。しかしながら、カニューラの装着等で患者の行動が制限されたり、医師の処方が必要となる。このため、快適性が損なわれず、容易に酸素濃度を調整する点で、改善の余地があると考えられる。
【0005】
上記を鑑み、本発明の目的は、空気中の酸素濃度を調整するための酸素濃度調整システムにおいて、快適性が損なわれず、容易に酸素濃度を調整できるものを提供することにある。
【課題を解決するための手段】
【0006】
この技術的課題を解決するための本発明の技術的手段は、以下に示す点を特徴とする。本発明の酸素濃度調整システムは、動物が存在する空間内における媒体中の酸素濃度を調整するためのシステムである。本発明の酸素濃度調整システムは、前記空間内に酸素を供給する供給器と、前記空間内における媒体中の酸素濃度を検出する第1検出器と、前記第1検出器により検出される媒体中の酸素濃度に基づいて、前記供給器により供給される酸素の量を制御する制御器と、を備えている。
【0007】
本発明の酸素濃度調整システムは、人が出入りする室内における空気中の酸素濃度を調整するために用いられ、前記人の血中の酸素濃度、心拍数、呼吸数、及び、活動レベルのうちの1つ又は2つ以上の生体情報を検出する第2検出器を備え、前記供給器は、前記室内に酸素を供給し、前記第1検出器は、前記室内における空気中の酸素濃度を検出し、前記制御器は、前記第1検出器により検出される空気中の酸素濃度と、前記第2検出器により検出される前記生体情報と、に基づいて、前記供給器により供給される酸素の量を制御する。
【0008】
本発明の酸素濃度調整システムにおいて、前記第2検出器は、少なくとも前記人の血中の酸素濃度を検出し、前記制御器は、前記血中の酸素濃度が低いほど、前記空気中の酸素濃度が高くなるよう、前記供給器により供給される酸素の量を制御する。
【0009】
本発明の酸素濃度調整システムは、前記血中の酸素濃度と、前記空気中の酸素濃度との相関を、機械学習して得られる学習モデルとして生成する学習モデル生成部を備える。本発明の酸素濃度調整システムにおいて、前記制御器は、前記血中の酸素濃度を用い、前記学習モデルに従って推定される最適な前記空気中の酸素濃度となるよう、前記供給器により供給される酸素の量を制御する。
【0010】
本発明の酸素濃度調整システムにおいて、前記供給器は、前記室内から取り込んだ空気から酸素を分離して、前記室内に前記分離した酸素を供給する。
(【0011】以降は省略されています)
この特許をJ-PlatPat(特許庁公式サイト)で参照する
関連特許
デゾン・ジャパン株式会社
酸素濃度調整システム
1か月前
株式会社タクマ
固体炭素化設備
12日前
三菱重工業株式会社
加熱装置
12日前
個人
発酵槽装置
1か月前
東ソー株式会社
CHA型ゼオライトの製造方法
22日前
東ソー株式会社
CHA型ゼオライトの製造方法
22日前
株式会社トクヤマ
酸性次亜塩素酸水の製造方法
今日
株式会社小糸製作所
水分解装置
1か月前
日揮触媒化成株式会社
珪酸液およびその製造方法
15日前
デンカ株式会社
窒化ケイ素粉末
14日前
デンカ株式会社
窒化ケイ素粉末
14日前
株式会社小糸製作所
水素発生装置
1か月前
株式会社三井E&S
アンモニア改質装置
22日前
デンカ株式会社
窒化ケイ素粉末の製造方法
19日前
三菱ケミカル株式会社
槽の洗浄方法及びシリカ粒子の製造方法
20日前
大阪瓦斯株式会社
酸化物複合体
20日前
太陽化学株式会社
多孔質シリカ、及びその製造方法
1か月前
デンカ株式会社
セラミックス粉末の製造方法
19日前
JFEエンジニアリング株式会社
ドライアイス製造システム
今日
トヨタ自動車株式会社
光触媒を用いた水素ガス製造装置
12日前
アサヒプリテック株式会社
濃縮方法
20日前
アサヒプリテック株式会社
濃縮方法
20日前
デンカ株式会社
窒化ホウ素粉末の製造方法
20日前
トヨタ自動車株式会社
光触媒を用いた水素ガス製造装置
20日前
トヨタ自動車株式会社
光触媒を用いた水素ガス製造装置
7日前
大阪瓦斯株式会社
水素製造装置及びその運転方法
20日前
トヨタ自動車株式会社
光触媒を用いた水素ガス製造装置
20日前
株式会社レゾナック
球状アルミナ粉末
19日前
日揮触媒化成株式会社
粉体及びその製造方法、並びに樹脂組成物
19日前
株式会社ジェイテクト
水素生成装置
1か月前
トヨタ自動車株式会社
二酸化炭素の利用方法、及び利用システム
1か月前
デゾン・ジャパン株式会社
酸素濃度調整システム
1か月前
日本化学工業株式会社
コアシェル型負熱膨張材およびその製造方法
1か月前
東ソー株式会社
アルカリ金属の除去方法
21日前
デンカ株式会社
窒化ホウ素粉末及び樹脂組成物
1か月前
デンカ株式会社
窒化ホウ素粉末及び樹脂組成物
1か月前
続きを見る
他の特許を見る