TOP
|
特許
|
意匠
|
商標
特許ウォッチ
Twitter
他の特許を見る
公開番号
2025141058
公報種別
公開特許公報(A)
公開日
2025-09-29
出願番号
2024040799
出願日
2024-03-15
発明の名称
水分解装置
出願人
株式会社小糸製作所
代理人
弁理士法人信栄事務所
主分類
C01B
3/04 20060101AFI20250919BHJP(無機化学)
要約
【課題】光触媒を用いた光利用効率の高い水分解装置を提供する。
【解決手段】光によって水から水素と酸素を発生させる水分解装置であって、水素発生用光触媒と、酸素発生用光触媒と、複数の波長を含んだ光が入射する分光部材と、を有し、前記分光部材は入射した光を分光し、第一の波長帯の波長を有する光からなる第一光群を前記水素発生用光触媒に入射させ、前記第一の波長帯とは異なる波長帯である第二の波長帯の波長を有する光からなる第二光群を前記酸素発生用光触媒に入射させる。
【選択図】図1
特許請求の範囲
【請求項1】
光によって水から水素と酸素を発生させる水分解装置であって、
水素発生用光触媒と、
酸素発生用光触媒と、
複数の波長を含んだ光が入射する分光部材と、を有し、
前記分光部材は入射した光を分光し、
第一の波長帯の波長を有する光からなる第一光群を前記水素発生用光触媒に入射させ、
前記第一の波長帯とは異なる波長帯である第二の波長帯の波長を有する光からなる第二光群を前記酸素発生用光触媒に入射させる、水分解装置。
続きを表示(約 620 文字)
【請求項2】
前記水素発生用光触媒と前記酸素発生用光触媒は、それぞれシート状に形成されており、
前記水素発生用光触媒のシートに対する前記第一光群の入射角が0度以上10度以下であり、
前記酸素発生用光触媒のシートに対する前記第二光群の入射角が0度以上10度以下である、請求項1に記載の水分解装置。
【請求項3】
前記水素発生用光触媒がCuGaS
2
であり、前記酸素発生用光触媒がBiVO
4
である、請求項1または請求項2に記載の水分解装置。
【請求項4】
前記入射光が太陽光である、請求項1または請求項2に記載の水分解装置。
【請求項5】
前記水素発生用光触媒と前記酸素発生用光触媒を収容するケーシングと、
前記ケーシングの内部に水を供給する水供給部と、を有し、
前記ケーシングは、前記分光部材から出射される光を前記ケーシングの内部へ導入する光透過窓を有する、請求項1または請求項2に記載の水分解装置。
【請求項6】
前記水素発生用光触媒と前記酸素発生用光触媒を収容するケーシングと、
前記ケーシングの内部に水を供給する水供給部と、を有し、
前記ケーシングの内部へは、前記ケーシングに取り付けられた前記分光部材を介して光が導入される、請求項1または請求項2に記載の水分解装置。
発明の詳細な説明
【技術分野】
【0001】
本発明は、水分解装置に関する。
続きを表示(約 1,200 文字)
【背景技術】
【0002】
近年、環境に配慮した新エネルギーとして水素が注目されており、種々の水素生成方法について検討がなされている。水素生成方法の一つとして、光触媒を用いた水の分解が挙げられる。特許文献1には、光触媒を用いた水分解装置が開示されている。
【先行技術文献】
【特許文献】
【0003】
特開2023-139749号公報
【発明の概要】
【発明が解決しようとする課題】
【0004】
エネルギー効率の観点から、光触媒反応を起こすための光として太陽光を利用することが望ましい。しかしながら、水分解用の光触媒の太陽光利用効率は低く、水分解装置の光利用効率の向上が望まれている。
【0005】
本発明は、光触媒を用いた光利用効率の高い水分解装置を提供することを目的とする。
【課題を解決するための手段】
【0006】
本発明の一実施形態に係る水分解装置は、光によって水から水素と酸素を発生させる水分解装置であって、
水素発生用光触媒と、
酸素発生用光触媒と、
複数の波長を含んだ光が入射する分光部材と、を有し、
前記分光部材は入射した光を分光し、
第一の波長帯の波長を有する光からなる第一光群を前記水素発生用光触媒に入射させ、
前記第一の波長帯とは異なる波長帯である第二の波長帯の波長を有する光からなる第二光群を前記酸素発生用光触媒に入射させる。
【発明の効果】
【0007】
本発明によれば、光触媒を用いた光利用効率の高い水分解装置を提供できる。
【図面の簡単な説明】
【0008】
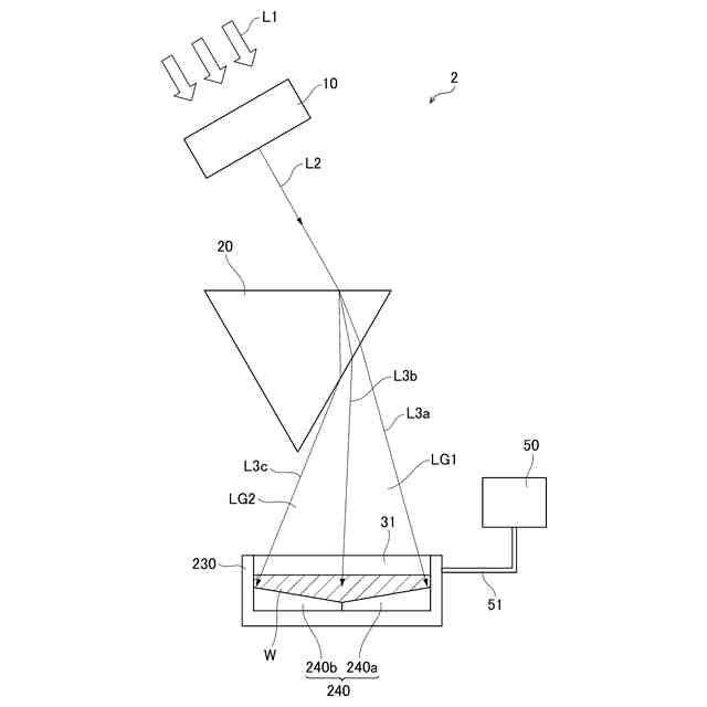
本発明の第一実施形態に係る水分解装置の構成を示す概略図である。
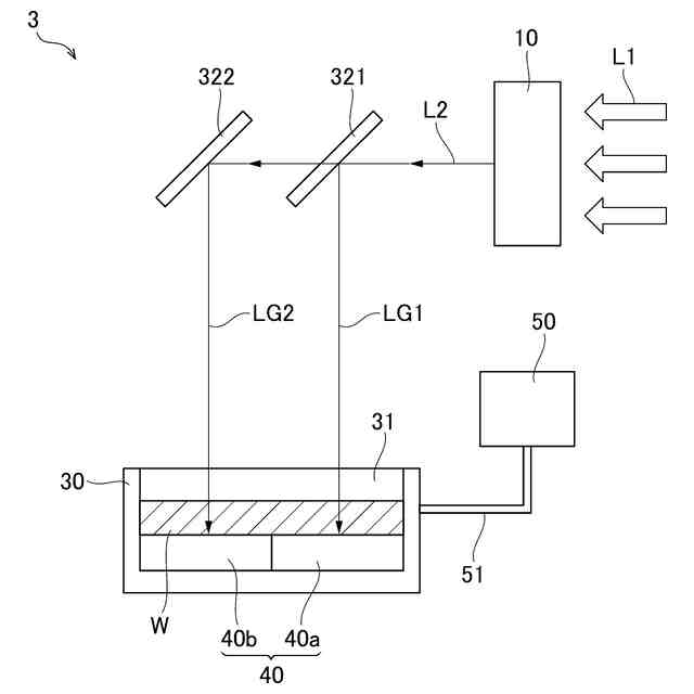
本発明の第二実施形態に係る水分解装置の構成を示す概略図である。
本発明の第三実施形態に係る水分解装置の構成を示す概略図である。
本発明の第四実施形態に係る水分解装置の構成を示す概略図である。
【発明を実施するための形態】
【0009】
以下、図面を参照しつつ本発明の具体的な実施形態について説明する。図面における各部材の寸法および光の屈折等は説明のために適宜変形または強調して描かれており、実際の形態と異なりうる。
【0010】
[第一実施形態]
図1は本発明の第一実施形態に係る水分解装置1を示す概略図である。水分解装置1は、集光装置10と、プリズム20と、ケーシング30と、光触媒40と、水供給部50とを備える。さらに図1には、外部から水分解装置1の集光装置10に入射する入射光L1と、集光装置10によって入射光L1が集光された光束L2と、プリズム20によって光束L2が分光された光群L3が示されている。入射光L1は少なくとも複数の波長を含む光であり、例えば太陽光などの白色光でありうる。
(【0011】以降は省略されています)
この特許をJ-PlatPat(特許庁公式サイト)で参照する
関連特許
株式会社小糸製作所
表示灯
18日前
株式会社小糸製作所
表示灯
11日前
株式会社小糸製作所
投光装置
27日前
株式会社小糸製作所
投光装置
27日前
株式会社小糸製作所
誘導装置
11日前
株式会社小糸製作所
照明装置
28日前
株式会社小糸製作所
照明装置
28日前
株式会社小糸製作所
車両用灯具
今日
株式会社小糸製作所
車輌用灯具
12日前
株式会社小糸製作所
車輌用灯具
1か月前
株式会社小糸製作所
車両用灯具
1か月前
株式会社小糸製作所
水分解装置
8日前
株式会社小糸製作所
車両用灯具
5日前
株式会社小糸製作所
表示用灯具
4日前
株式会社小糸製作所
車両用灯具
1か月前
株式会社小糸製作所
表示用灯具
4日前
株式会社小糸製作所
車両用灯具
今日
株式会社小糸製作所
投影光学系
8日前
株式会社小糸製作所
車輌用前照灯
1か月前
株式会社小糸製作所
画像照射装置
1か月前
株式会社小糸製作所
画像生成装置
27日前
株式会社小糸製作所
画像投影装置
19日前
株式会社小糸製作所
画像投影装置
18日前
株式会社小糸製作所
水素発生装置
8日前
株式会社小糸製作所
車両用前照灯
11日前
株式会社小糸製作所
移動体検出装置
29日前
株式会社小糸製作所
車両検出システム
29日前
株式会社小糸製作所
車両用前照灯ユニット
12日前
株式会社小糸製作所
回路基板および照明装置
1か月前
株式会社小糸製作所
誘導装置及び誘導システム
11日前
株式会社小糸製作所
光学部材及び光軸調整機構
18日前
株式会社小糸製作所
ナット部材及び光軸調整機構
18日前
株式会社小糸製作所
DDS用担持体およびその製造方法
1か月前
株式会社小糸製作所
発光素子搭載用基板および照明装置
8日前
株式会社小糸製作所
画像投影ユニットおよび画像投影装置
1か月前
株式会社小糸製作所
車両用灯具および車両用灯具の製造方法
11日前
続きを見る
他の特許を見る