TOP
|
特許
|
意匠
|
商標
特許ウォッチ
Twitter
他の特許を見る
10個以上の画像は省略されています。
公開番号
2025137262
公報種別
公開特許公報(A)
公開日
2025-09-19
出願番号
2024036370
出願日
2024-03-08
発明の名称
光学部材及び光軸調整機構
出願人
株式会社小糸製作所
代理人
弁理士法人シリウスIP
,
個人
主分類
F21S
41/675 20180101AFI20250911BHJP(照明)
要約
【課題】コストの低減を可能とする新たな光学部材を提供する。
【解決手段】光学部材は、車両用灯具に用いられ、配光パターンの形成に寄与する光学面と、光学面と反対側の面に設けられた回転軸部と、を有する。光学部材は、光学面及び回転軸部を含む全体が樹脂の一体成形品である。
【選択図】図14
特許請求の範囲
【請求項1】
車両用灯具に用いられる光学部材であって、
配光パターンの形成に寄与する光学面と、
前記光学面と反対側の面に設けられた回転軸部と、を有し、
前記光学面及び前記回転軸部を含む全体が樹脂の一体成形品であることを特徴とする光学部材。
続きを表示(約 940 文字)
【請求項2】
前記回転軸部は、
先端が球状のピボットであり、
車両前後方向の正面視において、ピボットの上側及び下側にスリットが形成されているとともに、ピボットの左側及び右側にスリットが形成されていないことを特徴とする請求項1に記載の光学部材。
【請求項3】
前記ピボットは、他の部品に設けられている軸受部に嵌まった状態で抜け止めとなる係止部を有し、
前記係止部は、車両前後方向の正面視において、ピボットの上側及び下側に形成されているとともに、ピボットの左側及び右側に形成されていないことを特徴とする請求項2に記載の光学部材。
【請求項4】
前記光学面と前記回転軸部との間に上方又は下方に開放した空間が形成されていることを特徴とする請求項1に記載の光学部材。
【請求項5】
前記回転軸部は、前記光学面の背面と対向する板状の基部と、前記基部から前記ピボットに向かって設けられている十字状のリブと、を有することを特徴とする請求項2に記載の光学部材。
【請求項6】
前記回転軸部の車両左右方向に隣接する領域に、他の部品の凹部又は凸部と当接することで車両上下方向の位置が規制される凸部又は凹部が設けられていることを特徴とする請求項1に記載の光学部材。
【請求項7】
請求項3に記載の光学部材と、
前記光学部材に形成された開口部に装着されるナット部材と、
前記ナット部材の貫通孔に挿入される雄ネジ部材と、
前記軸受部が設けられているとともに、前記雄ネジ部材を回転可能に保持するランプボディと、を備え、
前記ナット部材が前記雄ネジ部材の回転によって車両前後方向に移動することで前記光学部材が前記ランプボディに対して傾動することを特徴とする光軸調整機構。
【請求項8】
前記回転軸部は、車両用灯具の左右方向の中央部に設けられた前記開口部を挟んで側方の両側にそれぞれ設けられた一対の支点部であり、
前記光学部材は、前記一対の支点部を結んだ直線を回転軸として上下方向に傾動可能に構成されていることを特徴とする請求項7に記載の光軸調整機構。
発明の詳細な説明
【技術分野】
【0001】
本発明は、車両用灯具に用いられる光学部材に関する。
続きを表示(約 1,300 文字)
【背景技術】
【0002】
従来、自動車のヘッドランプやフォグランプなどは、車体に固定されるランプボディに対して光源やリフレクタの光軸を調整するための光軸調整機構が設けられている。例えば、リフレクタの背面側に球ピボットを組み付け、この球ピボットをランプボディに設けられている球受座で球受支持し、この球受座に対して上下方向及び水平方向にずれた位置にそれぞれ回転軸が支持されたスクリューを設け、このスクリューをリフレクタの所定箇所に固定支持されているナットにネジ込んでいる光軸調整機構が知られている(特許文献1参照)。この光軸調整機構は、光軸調整の際に各スクリューを回転操作し、ランプボディに対してリフレクタを前後方向に移動させることで、リフレクタを上下方向及び水平方向に傾動し光軸調整を行うことができる。
【先行技術文献】
【特許文献】
【0003】
特開平9-7405号公報
【発明の概要】
【発明が解決しようとする課題】
【0004】
前述の光軸調整機構は、球ピボットがリフレクタやランプボディと別部材であり、部品数や組み付け工程の増加によるコストアップの観点からは更なる改善の余地がある。
【0005】
本発明はこうした状況に鑑みてなされたものであり、その例示的な目的の一つは、コストの低減を可能とする新たな光学部材を提供することにある。
【課題を解決するための手段】
【0006】
上記課題を解決するために、本発明のある態様の光学部材は、車両用灯具に用いられる光学部材であって、配光パターンの形成に寄与する光学面と、光学面と反対側の面に設けられた回転軸部と、を有する。光学面及び回転軸部を含む全体が樹脂の一体成形品である。
【0007】
この態様によると、回転軸部を担う別部品が不要となり、部品の削減によるコストの低減を可能とする。
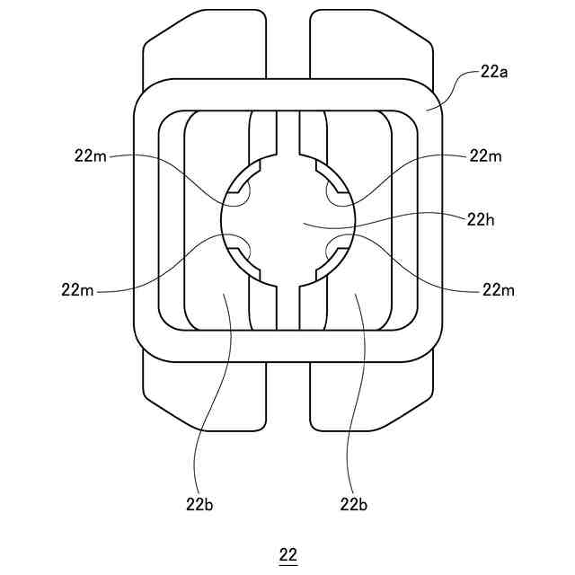
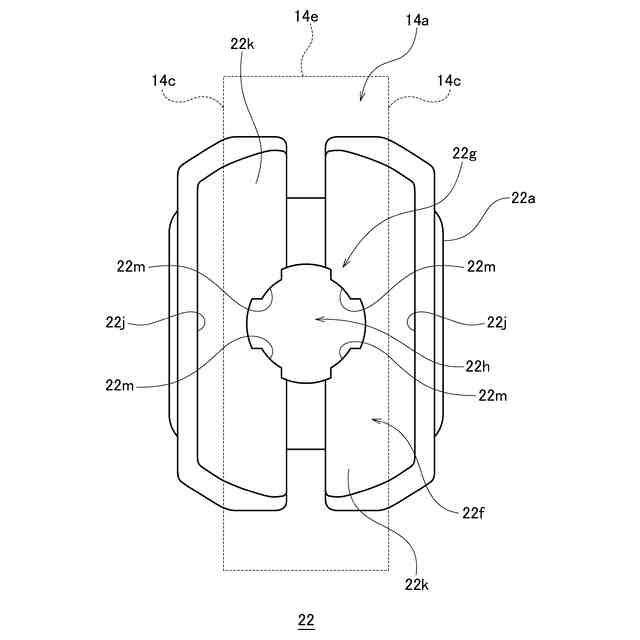
【0008】
回転軸部は、先端が球状のピボットであり、車両前後方向の正面視において、ピボットの上側及び下側にスリットが形成されているとともに、ピボットの左側及び右側にスリットが形成されていない。これにより、左右にスライドする型を用いなくても上下にスライドする型で回転軸部を有する光学部材を製造できる。
【0009】
ピボットは、他の部品に設けられている軸受部に嵌まった状態で抜け止めとなる係止部を有してもよい。係止部は、車両前後方向の正面視において、ピボットの上側及び下側に形成されているとともに、ピボットの左側及び右側に形成されていない。これにより、左右にスライドする型を用いなくても上下にスライドする型で係止部を有するピボットを有する光学部材を製造できる。
【0010】
光学面と回転軸部との間に上方又は下方に開放した空間が形成されていてもよい。これにより、型で光学部材を製造する際のヒケによる回転軸部の変形を抑え、回転軸部の寸法精度を向上できる。
(【0011】以降は省略されています)
この特許をJ-PlatPat(特許庁公式サイト)で参照する
関連特許
株式会社小糸製作所
表示灯
24日前
株式会社小糸製作所
表示灯
17日前
株式会社小糸製作所
照明装置
1か月前
株式会社小糸製作所
照明装置
1か月前
株式会社小糸製作所
投光装置
1か月前
株式会社小糸製作所
誘導装置
17日前
株式会社小糸製作所
投光装置
1か月前
株式会社小糸製作所
車両用灯具
6日前
株式会社小糸製作所
投影光学系
14日前
株式会社小糸製作所
水分解装置
14日前
株式会社小糸製作所
車両用灯具
3日前
株式会社小糸製作所
車両用灯具
11日前
株式会社小糸製作所
表示用灯具
10日前
株式会社小糸製作所
表示用灯具
10日前
株式会社小糸製作所
車両用灯具
6日前
株式会社小糸製作所
車両用灯具
4日前
株式会社小糸製作所
車両用灯具
3日前
株式会社小糸製作所
車輌用灯具
18日前
株式会社小糸製作所
表示システム
5日前
株式会社小糸製作所
画像投影装置
24日前
株式会社小糸製作所
画像生成装置
1か月前
株式会社小糸製作所
虚像表示装置
5日前
株式会社小糸製作所
画像投影装置
25日前
株式会社小糸製作所
車両用前照灯
17日前
株式会社小糸製作所
照明表示装置
3日前
株式会社小糸製作所
水素発生装置
14日前
株式会社小糸製作所
車両用前照灯ユニット
18日前
株式会社小糸製作所
表示制御装置及び表示装置
5日前
株式会社小糸製作所
誘導装置及び誘導システム
17日前
株式会社小糸製作所
光学部材及び光軸調整機構
24日前
株式会社小糸製作所
ナット部材及び光軸調整機構
24日前
株式会社小糸製作所
電子ユニット及び車両用灯具
3日前
株式会社小糸製作所
発光素子搭載用基板および照明装置
14日前
株式会社小糸製作所
車両用灯具及び車両用灯具の製造方法
3日前
株式会社小糸製作所
車両用灯具および車両用灯具の製造方法
17日前
株式会社小糸製作所
開閉機構、車両用灯具及び車両用前照灯
3日前
続きを見る
他の特許を見る