TOP
|
特許
|
意匠
|
商標
特許ウォッチ
Twitter
他の特許を見る
10個以上の画像は省略されています。
公開番号
2025137887
公報種別
公開特許公報(A)
公開日
2025-09-24
出願番号
2024036426
出願日
2024-03-10
発明の名称
災害一般住宅の布基礎用型枠及び布基礎の施工方法
出願人
株式会社 野田設計
代理人
個人
主分類
E02D
27/01 20060101AFI20250916BHJP(水工;基礎;土砂の移送)
要約
【課題】建築基準法に準拠した災害一般住宅の布基礎を、専門性を要することなくDIY的感覚で、簡単かつ短時日で構築できる布基礎用型枠及び布基礎施工方法を提供する。
【解決手段】開削した地盤上の所定位置に配置するプレキャストコンクリート製の正方形のベース基板と、配置されたベース基板相互を結ぶ領域に配列し、並列に立設するプレキャストコンクリート製の矩形の基礎梁板と、並列に立設した基礎梁板それぞれの直交方向に配置し、基礎梁板それぞれの下端面同士又は上端面同士を支持する幅止具と、配置されたベース基板相互間に架け渡し、幅止具それぞれの両端を木端に固定する一対の桟木と、一対の桟木それぞれに平行な主筋及び該主筋に垂直なスターラップ筋を有し、並列に立設された前記基礎梁板それぞれに挟まれた領域に配置される配筋セットと、を備えた。
【選択図】図2
特許請求の範囲
【請求項1】
開削した地盤上の所定位置に配置するプレキャストコンクリート製の正方形のベース基板と、
配置された前記ベース基板相互を結ぶ領域に配列し、並列に立設するプレキャストコンクリート製の矩形の基礎梁板と、
並列に立設した前記基礎梁板それぞれの直交方向に配置し、該基礎梁板それぞれの下端面同士又は上端面同士を支持する幅止具と、
配置された前記ベース基板相互間に架け渡し、前記幅止具それぞれの両端を木端に固定する一対の桟木と、
前記一対の桟木それぞれに平行な主筋及び該主筋に垂直なスターラップ筋を有し、並列に立設された前記基礎梁板それぞれに挟まれた前記領域に配置される配筋セットと、を備えたことを特徴とする災害一般住宅用布基礎型枠。
続きを表示(約 1,800 文字)
【請求項2】
前記幅止具は、前記下端面同士を支持する第一幅止具と前記上端面同士を支持する第二幅止具とを有し、
前記一対の桟木は、前記第一幅止具それぞれの両端を固定する一対の第一桟木と前記第二幅止具それぞれの両端を固定する一対の第二桟木とを有し、
前記第一桟木は、前記基礎梁板それぞれの下端から外側に所定の距離離れた位置に架け渡され、前記第二桟木は、該基礎梁板それぞれの上端に外側から密着する位置に架け渡されることを特徴とする請求項1記載の災害一般住宅用布基礎の型枠。
【請求項3】
前記ベース基板は、表面に、前記基礎梁板が並列に立設する狭幅の複数の平坦路と該平坦路よりも高い正方形の高台が該平坦路それぞれの中央に形成され、該正方形の高台の周囲に、該平坦路を隔てて矩形の高台が形成されたことを特徴とする請求項1記載の小規模住宅用布基礎型枠。
【請求項4】
前記基礎梁板は、下部の中央に切り欠かれた部分を有し、
前記スターラップ筋のうちの水平な鉄筋が前記切り欠かれた部分を通過し、
並列に配列された前記基礎梁板それぞれが形成する空間に打設されたコンクリートが前記切り欠かれた部分から前記第一桟木に向けて流出することを特徴とする請求項2記載の災害一般住宅の布基礎用型枠。
【請求項5】
前記矩形の高台は、所定の高さのコンクリートブロックを載置して前記切り欠かれた部分よりも低い高さまで嵩上し、前記第一幅止具が配置された位置それぞれの中間地点における地盤上に、嵩上した前記矩形の高台と同じ高さのコンクリートブロックを設置し、該コンクリートブロックそれぞれの上に前記配筋セットを載置することを特徴とする請求項4記載の小規模住宅用布基礎型枠。
【請求項6】
プレキャストコンクリート製の、正方形のベース基板及び下部の中央に切り欠かれた部分を有する矩形の基礎梁板と、並列に立設された該基礎梁板それぞれの、下端面同士を支持する広幅な第一幅止具及び上端面同士を支持する狭幅な第二幅止具と、該第一幅止具の両端を固定する一対の第一桟木と、該第二幅止具の両端を固定する一対の第二桟木と、上下2段の主筋および該主筋に垂直なスターラップ筋を有する配筋セットと、を備え、
地業を行った地盤上に所定の間隔で前記ベース基板を設置する第一工程と、
前記ベース基板相互を結ぶ領域に前記一対の第一桟木を架け渡す第二工程と、
前記一対の第一桟木に固定された前記第一幅止具相互の中間の地盤上及び前記ベース基板上に所定の高さのコンクリートブロックを配置し、該コンクリートブロック上に前記配筋セットを設置する第三工程と、
前記第一幅止具で前記下端面を支持し、配列させて並列に立設した前記基礎梁板それぞれの上端に、前記一対の第二桟木を外側から密着させて架け渡し、前記上端面を前記第二幅止具で支持する第四工程と、
並列に立設した前記基礎梁板相互間の空間、又は該基礎梁板と前記第一桟木との間の空間にコンクリートを打設する第五工程と、を有することを特徴とする布基礎の施工方法。
【請求項7】
前記第一工程は、前記ベース基板を配置する前に、砂利を敷き、防湿シートを被せる工程を含むことを特徴とする請求項6記載の布基礎の施工方法。
【請求項8】
前記ベース基板は、表面に、前記基礎梁板が並列に立設する狭幅の複数の平坦路と、該平坦路よりも高い正方形の高台が該平坦路それぞれの中央に形成され、該正方形の高台の周囲に、該平坦路を隔てて矩形の高台が形成されたものであり、
前記第三工程は、該矩形の高台の上に、前記基礎梁板の前記切り欠かれた部分よりも低い高さまでコンクリートブロックを載置して該高台の嵩上を行う工程を含むことを特徴とする請求項6記載の小規模住宅用布基礎型枠。
【請求項9】
前記第五工程は、前記基礎梁板相互間に形成された基礎梁のセルフレベリングを行い、前記第一幅止具の両端を固定した前記第一桟木、及び前記第二幅止具を固定した前記第二桟木を撤去し、所定の根入れ深さとなるまで土砂の埋め戻しを行い、該土砂を防湿シートで覆う工程を含むことを特徴とする請求項6記載の布基礎の施工方法。
発明の詳細な説明
【技術分野】
【0001】
本発明は、工場生産されたPC板などの部材を用いて建築基準法に準拠した災害一般住宅の布基礎を簡単かつ短期間に構築することができる布基礎用型枠及び布基礎の施工方法に関する。
続きを表示(約 4,600 文字)
【背景技術】
【0002】
住宅等の建物の基礎は、一般的に、現場にて鉄筋の配筋及び型枠の組み立てを行い、その後、ミキサー車、ポンプ車等の車両を用いて、コンクリートを打設し、養生して構築するので、施工に長時間を要している。
そこで、プレキャストコンクリートを用いて短期間に型枠を構築する方法や、コンクリート打設をすることなく容易に施工する方法が開発されている。
例えば、予め工場で生産され、中央部にコンクリート充填空間を有し、その充填空間に底部が開放された連結開口を備えたコンクリートブロックを用いてべた基礎用型枠を構築し、現場打による作業時間と手間を少なくする方法(特許文献1)や、建築物の布基礎、あるいはべた基礎の基礎梁部分を工場生産によるプレキャストコンクリート製とし、上部及び下部を接続金物で接続するための軸ボルトが両端付近に埋め込まれ、その軸ボルトに、上下方向複数段に配筋された鉄筋を接続したPC基礎梁部材(特許文献2)などである。
しかしながら、内部に鉄筋が埋め込まれているためそれ自体が基礎梁となるが、重量があり人力のみで建て込むことが困難である。
そこで、本出願人は、人力で運べるコンクリート角柱や板状体を工場生産し、人力のみで簡便に型枠が作れるようにすると共に、コンクリートが固化した後も脱型する必要を無くし、工期の短縮化が図れて高品質な基礎梁を施工する方法を開発した(特許文献3)。
【0003】
一方、リース用仮設住宅などの組立式(ユニット工法またはパネル工法)の建物では、1~3年程度のサイクルで何度も解体、再組立して再利用されるが、基礎は現場コンクリート打ちのため、それが廃材となり、廃棄場所の確保に苦慮している。
そこで、プレキャストコンクリート製のベース部材を着脱可能な接続具で接続したものを布基礎のベースとし、基礎立上り部も基礎立上り部材を着脱可能な接続具で接続して形成し、解体および再組立を自在にしたもの(特許文献4)や、長さが異なる複数の矩形のコンクリート板と、それらを連結するプレート金具、L型金具及びく字型金具からなる連結金具とを備え、コンクリート板の左右の端面の上下部に、それぞれ前後面に貫通させて形成した切欠部内に、先端部を端面から突出させた状態で接合プレートを固定すると共に、コンクリート板の前後の壁面下部に、それぞれ鉄筋配設用のスリーブ金具を所定の間隔で埋め込み固着した布基礎用ユニット(特許文献5)が開発されている。
【先行技術文献】
【特許文献】
【0004】
特開2003-96792号公報
特許第3744922号公報
特許第7406283号公報
特許第3612065号公報
特許第3777667号公報
【発明の概要】
【発明が解決しようとする課題】
【0005】
近年、地震による被害が多発しており、令和6年1月1日に発生した能登半島地震(最大震度7)では、多くの避難者がプライバシーのない生活を余儀なくされ、仮設住宅の建設が急務になっている。
しかしながら、仮設住宅は、1年毎に延期が可能ではあるものの、基礎が建築基準法を逸脱するため、2年後には解体する必要がある。そこで、被災者は引っ越しを迫られ、コミュニティーの再構築が必要となる他、建築資材が無駄になり勝ちとなる。
今日、住宅の上物はユニット化が進み、比較的短時日に組み上げることが可能になっており、人材も多いが、基礎については、人材が不足し、思い通りに作業が進みにくい。
本発明は、上記事情に鑑み、建築基準法に準拠した災害一般住宅の布基礎を、専門性を要することなくDIY的感覚で、簡単かつ短時日で構築できる布基礎用型枠及び布基礎施工方法を提供することを目的とする。
【課題を解決するための手段】
【0006】
本発明の災害一般住宅用布基礎型枠は、開削した地盤上の所定位置に配置するプレキャストコンクリート製の正方形のベース基板と、配置された上記ベース基板相互を結ぶ領域に配列し、並列に立設するプレキャストコンクリート製の矩形の基礎梁板と、並列に立設した上記基礎梁板それぞれの直交方向に配置し、該基礎梁板それぞれの下端面同士又は上端面同士を支持する幅止具と、配置された上記ベース基板相互間に架け渡し、上記幅止具それぞれの両端を木端に固定する一対の桟木と、上記一対の桟木それぞれに平行な主筋及び該主筋に垂直なスターラップ筋を有し、並列に立設された上記基礎梁板それぞれに挟まれた上記領域に配置される配筋セットと、を備えたことを特徴とする。
ここで、上記幅止具は、上記下端面同士を支持する第一幅止具と上記上端面同士を支持する第二幅止具とを有し、上記一対の桟木は、上記第一幅止具それぞれの両端を固定する一対の第一桟木と上記第二幅止具それぞれの両端を固定する一対の第二桟木とを有し、上記第一桟木は、上記基礎梁板それぞれの下端から外側に所定の距離離れた位置に架け渡され、上記第二桟木は、該基礎梁板それぞれの上端に外側から密着する位置に架け渡すことができるので、構築するのが簡単で容易であり、専門性が不要である。
また、上記ベース基板は、表面に、上記基礎梁板が並列に立設する狭幅の複数の平坦路と該平坦路よりも高い正方形の高台が該平坦路それぞれの中央に形成され、該正方形の高台の周囲に、該平坦路を隔てて矩形の高台が形成されることが好ましい。
また、上記基礎梁板は、下部の中央に切り欠かれた部分を有し、上記スターラップ筋のうちの水平な鉄筋が上記切り欠かれた部分を通過し、並列に配列された上記基礎梁板それぞれが形成する空間に打設されたコンクリートが上記切り欠かれた部分から上記第一桟木に向けて流出することができるので、基礎梁とスラブとを一気に構築することができる。
さらに、上記矩形の高台は、所定の高さのコンクリートブロックを載置して上記切り欠かれた部分よりも低い高さまで嵩上し、上記第一幅止具が配置された位置それぞれの中間地点における地盤上に、嵩上した上記矩形の高台と同じ高さのコンクリートブロックを設置し、該コンクリートブロックそれぞれの上に上記配筋セットを載置することができるので、専門性が不要である。
【0007】
本発明の災害一般住宅用布基礎の施工方法は、プレキャストコンクリート製の、正方形のベース基板及び下部の中央に切り欠かれた部分を有する矩形の基礎梁板と、並列に立設された該基礎梁板それぞれの、下端面同士を支持する広幅な第一幅止具及び上端面同士を支持する狭幅な第二幅止具と、該第一幅止具の両端を固定する一対の第一桟木と、該第二幅止具の両端を固定する一対の第二桟木と、上下2段の主筋および該主筋に垂直なスターラップ筋を有する配筋セットと、を備え、地業を行った地盤上に所定の間隔で上記ベース基板を設置する第一工程と、上記ベース基板相互を結ぶ領域に上記一対の第一桟木を架け渡す第二工程と、上記一対の第一桟木に固定された上記第一幅止具相互の中間の地盤上及び上記ベース基板上に所定の高さのコンクリートブロックを配置し、該コンクリートブロック上に上記配筋セットを設置する第三工程と、上記第一幅止具で上記下端面を支持し、配列させて並列に立設した上記基礎梁板それぞれの上端に、上記一対の第二桟木を外側から密着させて架け渡し、上記上端面を上記第二幅止具で支持する第四工程と、並列に立設した上記基礎梁板相互間の空間、又は該基礎梁板と上記第一桟木との間の空間にコンクリートを打設する第五工程と、を有することを特徴とする。
ここで、上記第一工程は、上記ベース基板を配置する前に、砂利を敷き、防湿シートを被せる工程を含むことができる。
また、上記ベース基板は、表面に、上記基礎梁板が並列に立設する狭幅の複数の平坦路と、該平坦路よりも高い正方形の高台が該平坦路それぞれの中央に形成され、該正方形の高台の周囲に、該平坦路を隔てて矩形の高台が形成されたものであり、
上記第三工程は、該矩形の高台の上に、上記基礎梁板の上記切り欠かれた部分よりも低い高さまでコンクリートブロックを載置して該高台の嵩上を行う工程を含むことが好ましい。
さらに、上記第五工程は、上記基礎梁板相互間に形成された基礎梁のセルフレベリングを行い、上記第一幅止具の両端を固定した上記第一桟木、及び上記第二幅止具を固定した上記第二桟木を撤去し、所定の根入れ深さとなるまで土砂の埋め戻しを行い、該土砂を防湿シートで覆う工程を含むことができる。
【発明の効果】
【0008】
本発明によれば、工場生産された建材や規格化された木材を使用して、建築基準法に準拠した災害用一般住宅用の布基礎を、少人数の一般人が、短時日かつ低コストで、構築することができる。
【図面の簡単な説明】
【0009】
図1は、本実施形態の布基礎用型枠によって構築した布基礎の上に建築した災害一般住宅の一例を示す図である。
図2は、本実施形態の布基礎用型枠の一例を示す平面図である。
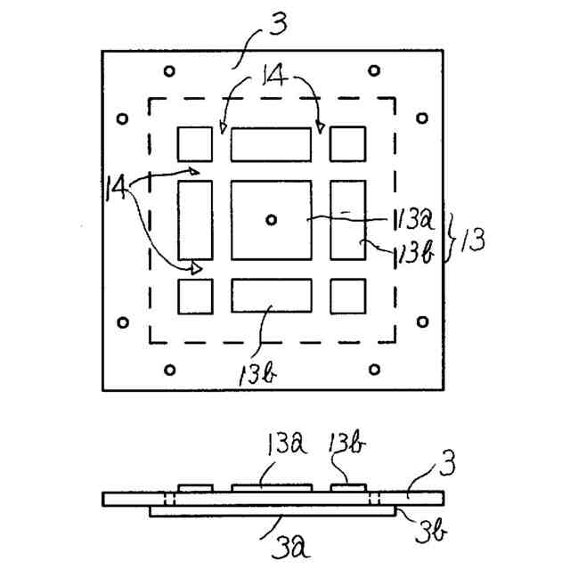
図3は、ベース基板の一例を示す図であり、上段は平面図、下段は正面図である。
図4は、基礎梁板の一例を示す図であり、左側は側面図、右側は正面図である。
図5は、図2のY1からY5までの間に並列かつ連続的に配列させて立設した基礎梁板の一例を示す図である。
図6は、図2のY4地点の布基礎用型枠の断面を一例として示す図である。
図7(a)は第一幅止具の一例を示す図である。
図7(b)は第二幅止具の一例を示す図である。
図8は、図2のY4からY5までの間の第二桟木に固定される第二幅止具の位置を例示する図である。
図9(a)は、配筋セットの一例を示す平面図である。
図9(b)は、配筋セットの一例を示す側面図である。
図9(c)は、図9(a)のA-A断面図である。
図10は、本実施形態の布基礎を構築する型枠の施工方法の一例を示す図である。
図11は、図10で示した施工方法によって構築した、図2のY4―Y5間における布基礎用型枠の伏図である。
図12は、布基礎用型枠にコンクリートを打設した後、桟木を撤去した状態の布基礎を示す断面図である。
図13は、土砂の埋め戻しを行い完成した状態の布基礎を示す断面図である。
【発明を実施するための形態】
【0010】
以下に、本発明の災害一般住宅の布基礎用型枠及びその布基礎の施工方法の実施形態について、図に基いて説明する。
図1は、本実施形態の布基礎用型枠によって構築した布基礎の上に建築した災害一般住宅の一例を示す図である。
図1に例示する災害一般住宅は、4.5畳の洋間が二つと6畳のKのほか、浴室とトイレがあり、9坪の2Kタイプの仮設住宅と同じような間取を有する。
(【0011】以降は省略されています)
特許ウォッチbot のツイートを見る
この特許をJ-PlatPat(特許庁公式サイト)で参照する
関連特許
株式会社 野田設計
災害一般住宅の布基礎用型枠及び布基礎の施工方法
13日前
個人
鋼管
19日前
FKS株式会社
擁壁
8日前
鈴健興業株式会社
敷板部材
4日前
株式会社奥村組
ケーソン工法
11日前
株式会社クボタ
作業車
6日前
株式会社クボタ
作業車
6日前
個人
擁壁用ブロックおよび擁壁
5日前
株式会社ネクステリア
平板基礎
4日前
株式会社奥村組
ケーソン刃口金物
11日前
株式会社大林組
建物の構造
5日前
株式会社大林組
袋体付き排水パイプ
18日前
株式会社熊谷組
地盤改良方法
今日
株式会社熊谷組
密度計測方法
6日前
株式会社大林組
袋体付き排水パイプ
18日前
大和ハウス工業株式会社
杭抜き先端具
12日前
日立建機株式会社
建設機械
4日前
日立建機株式会社
作業機械
26日前
ヤマト発動機株式会社
浮遊型消波装置
8日前
日立建機株式会社
作業機械
8日前
ゼニヤ海洋サービス株式会社
通船ゲート
18日前
株式会社フジタ
掘削機
27日前
鹿島建設株式会社
接続方法および接続構造
18日前
日立建機株式会社
電動式作業機械
4日前
JFEスチール株式会社
鋼管矢板の継手構造
8日前
JFEスチール株式会社
鋼管矢板の継手構造
20日前
JFEスチール株式会社
鋼管矢板の継手構造
20日前
株式会社フジタ
建築物とその施工方法
18日前
株式会社大林組
建物の構築方法及び建物
18日前
浙江工業大学
多機能土柱モデル装置及び使用方法
4日前
株式会社熊谷組
杭頭処理構造、杭頭処理方法
8日前
ヤンマーホールディングス株式会社
作業機械
今日
日立建機株式会社
作業機械
4日前
株式会社トラバース
地盤改良ユニット及び地盤改良機
27日前
日立建機株式会社
作業機械
今日
日立建機株式会社
建設機械
8日前
続きを見る
他の特許を見る