TOP
|
特許
|
意匠
|
商標
特許ウォッチ
Twitter
他の特許を見る
公開番号
2025137087
公報種別
公開特許公報(A)
公開日
2025-09-19
出願番号
2024036084
出願日
2024-03-08
発明の名称
位置検出装置およびアクチュエータ
出願人
SMC株式会社
代理人
弁理士法人桐朋
主分類
G08C
15/00 20060101AFI20250911BHJP(信号)
要約
【解決手段】位置検出装置20は、第1検出範囲R1内にピストン50が位置する場合に第1検出信号を出力する第1センサ70と、第1検出信号に基づいてピストン位置Pを検出する検出部76と、電力を無線により受電するアンテナ72と、第1検出範囲R1内にピストン50が位置する場合に、アンテナ72から第1センサ70へ電力が供給される電力供給配線Wp1と、第1検出範囲R1外にピストン50が位置する場合に、ピストン位置Pの検出に用いられるセンサモジュール30へ電力を外部出力可能な電力出力配線Wpoと、を備える。
【選択図】図1
特許請求の範囲
【請求項1】
シリンダに取り付けられ、前記シリンダ内を移動するピストンのピストン位置を検出する位置検出装置であって、
第1検出範囲内に前記ピストンが位置する場合に第1検出信号を出力する第1センサと、
前記第1検出信号に基づいて前記ピストン位置を検出する検出部と、
前記検出部により検出された前記ピストン位置を外部装置へ送信する通信機と、
電力を無線により受電するアンテナと、
前記第1検出範囲内に前記ピストンが位置する場合に、前記アンテナから前記第1センサへ前記電力が供給される電力供給配線と、
前記第1検出範囲外に前記ピストンが位置する場合に、前記ピストン位置の検出に用いられるセンサモジュールへ前記電力を外部出力可能な電力出力配線と、を備える、位置検出装置。
続きを表示(約 1,400 文字)
【請求項2】
請求項1に記載の位置検出装置であって、
前記ピストンには磁石が設けられ、
前記第1センサは、前記第1検出範囲内に前記ピストンが位置する場合にオンになって前記第1検出信号を出力し、前記第1検出範囲外に前記ピストンが位置する場合にオフになって前記第1検出信号を出力しない、リードスイッチである、位置検出装置。
【請求項3】
請求項1に記載の位置検出装置であって、
前記ピストンには磁石が設けられ、
前記第1センサは、前記第1検出範囲内に前記ピストンが位置する場合に電気信号を出力する磁気センサと、前記電気信号が入力することによりオンになって前記第1検出信号を出力する半導体スイッチとを有し、
前記第1検出範囲外に前記ピストンが位置する場合に前記磁気センサは前記電気信号を出力せず、前記半導体スイッチは前記電気信号が入力しないことによりオフになって前記第1検出信号を出力しない、位置検出装置。
【請求項4】
請求項1に記載の位置検出装置であって、
前記センサモジュールは、第2検出範囲内に前記ピストンが位置する場合に第2検出信号を出力する第2センサを有し、
前記第1センサは、前記ピストンの移動方向に沿って、前記第2センサから離間した位置で前記シリンダに取り付けられ、
前記第1検出範囲と前記第2検出範囲とが、前記移動方向において重複しない位置に前記第1センサと前記第2センサとが配置されている、位置検出装置。
【請求項5】
請求項1に記載の位置検出装置であって、
前記位置検出装置と前記センサモジュールとを接続するケーブルを取り付け可能なコネクタをさらに備え、
前記コネクタに前記電力出力配線が接続されている、位置検出装置。
【請求項6】
請求項5に記載の位置検出装置であって、
前記コネクタと前記検出部とを接続する信号入力配線をさらに備え、
前記センサモジュールは、第2検出範囲内に前記ピストンが位置する場合に第2検出信号を出力する第2センサを有し、
前記第2センサから出力された前記第2検出信号は、前記信号入力配線を通じて前記検出部へ供給され、
前記検出部は、前記第2検出信号に基づいて前記ピストン位置を検出する、位置検出装置。
【請求項7】
請求項4に記載の位置検出装置であって、
前記検出部は、前記第1センサから前記第1検出信号が出力された場合、前記第1検出信号に基づいて前記ピストン位置を検出し、前記第2センサから前記第2検出信号が出力された場合、前記第2検出信号に基づいて前記ピストン位置を検出する、位置検出装置。
【請求項8】
請求項7に記載の位置検出装置であって、
相異なる色で発光する第1ランプおよび第2ランプを有するインジケータをさらに備え、
前記検出部により前記第1検出信号に基づいて前記ピストン位置が検出される場合、前記インジケータは前記第1ランプを点灯させ、
前記検出部により前記第2検出信号に基づいて前記ピストン位置が検出される場合、前記インジケータは前記第2ランプを点灯させる、位置検出装置。
【請求項9】
請求項4に記載の位置検出装置と、
前記センサモジュールと、
前記シリンダと、
前記ピストンと、
を備える、アクチュエータ。
発明の詳細な説明
【技術分野】
【0001】
本発明は、位置検出装置およびアクチュエータに関する。
続きを表示(約 1,500 文字)
【背景技術】
【0002】
特許文献1には、通信用の無線アンテナモジュールが開示されている。無線給電された電力を蓄積するバッテリから、2つの無線アンテナモジュールである第1モジュール本体および第2モジュール本体に電力が供給される。第1モジュール本体は、第1機器本体からのセンサ検知信号をマスター装置(GWユニット)に無線送信する。第2モジュール本体は、第2機器本体からのセンサ検知信号をマスター装置(GWユニット)に無線送信する。
【先行技術文献】
【特許文献】
【0003】
特開2023-78294号公報
【発明の概要】
【発明が解決しようとする課題】
【0004】
無線給電された電力は微弱である場合が多い。そのため、微弱な電力を2つの無線アンテナモジュールの両方に供給すると、いずれの無線アンテナモジュールにおいても電力不足となり得る。
【0005】
本発明は、上述した課題を解決することを目的とする。
【課題を解決するための手段】
【0006】
本発明の第1の態様は、シリンダに取り付けられ、前記シリンダ内を移動するピストンのピストン位置を検出する位置検出装置であって、第1検出範囲内に前記ピストンが位置する場合に第1検出信号を出力する第1センサと、前記第1検出信号に基づいて前記ピストン位置を検出する検出部と、前記検出部により検出された前記ピストン位置を外部装置へ送信する通信機と、電力を無線により受電するアンテナと、前記第1検出範囲内に前記ピストンが位置する場合に、前記アンテナから前記第1センサへ前記電力が供給される電力供給配線と、前記第1検出範囲外に前記ピストンが位置する場合に、前記ピストン位置の検出に用いられるセンサモジュールへ前記電力を外部出力可能な電力出力配線と、を備える。
【0007】
本発明の第2の態様は、アクチュエータであって、第1の態様による位置検出装置と、前記センサモジュールと、前記シリンダと、前記ピストンと、を備える。
【発明の効果】
【0008】
本発明によれば、無線給電された電力が不足する可能性を低下させることができる。
【図面の簡単な説明】
【0009】
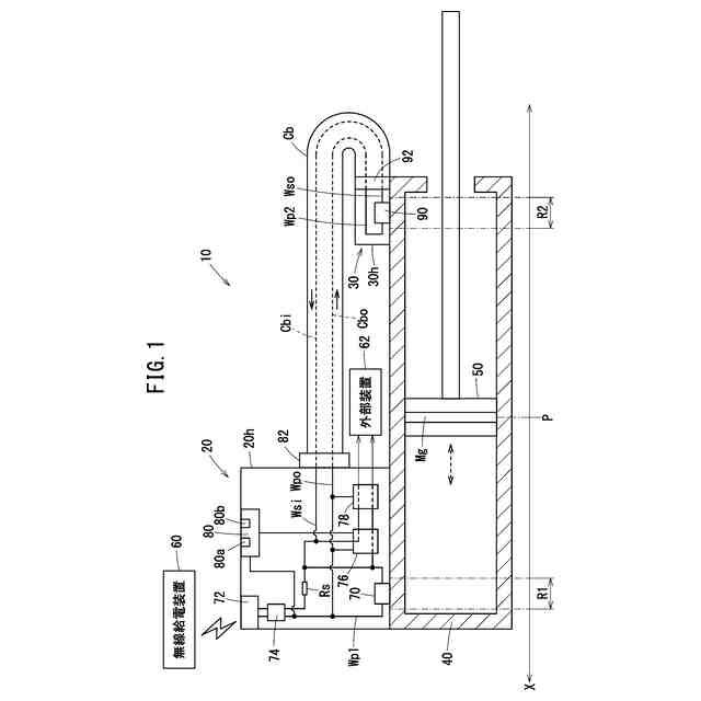
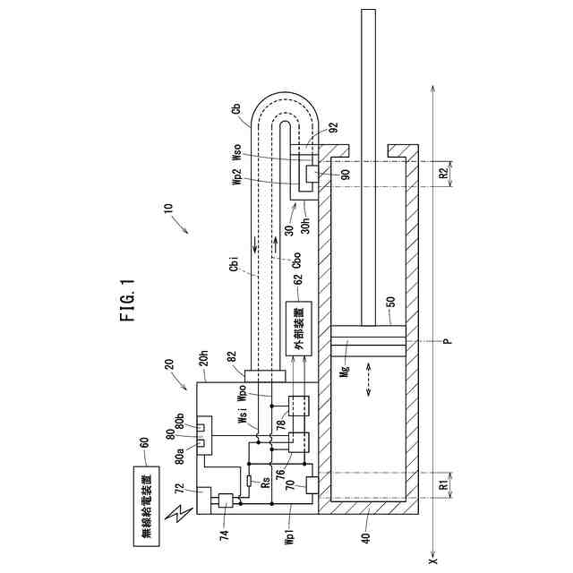
図1は、アクチュエータを例示する図である。
図2は、第1センサおよび第2センサの構成例と、ピストン位置に応じた第1センサおよび第2センサへの電力供給とを説明するための図である。
図3は、第1センサおよび第2センサの構成例と、ピストン位置に応じた第1センサおよび第2センサへの電力供給とを説明するための図である。
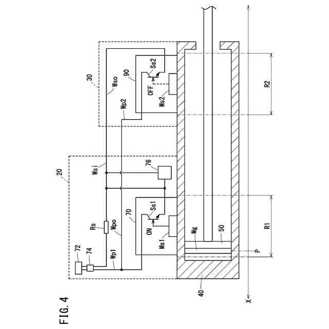
図4は、第1センサおよび第2センサの他の構成例と、ピストン位置に応じた第1センサおよび第2センサへの電力供給とを説明するための図である。
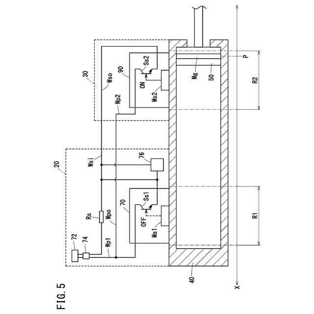
図5は、第1センサおよび第2センサの他の構成例と、ピストン位置に応じた第1センサおよび第2センサへの電力供給とを説明するための図である。
【発明を実施するための形態】
【0010】
図1は、アクチュエータ10を例示する図である。アクチュエータ10は、ワークの搬送等に用いられ、位置検出装置20と、センサモジュール30と、シリンダ40と、ピストン50とを有する。位置検出装置20およびセンサモジュール30は、ともにシリンダ40の外表面に取り付けられ、且つ、ケーブルCbにより互いに接続される。
(【0011】以降は省略されています)
この特許をJ-PlatPat(特許庁公式サイト)で参照する
関連特許
SMC株式会社
着脱装置
2か月前
SMC株式会社
増圧装置
17日前
SMC株式会社
マグネットチャック
4日前
SMC株式会社
バルブユニット及び増圧弁
1か月前
SMC株式会社
位置検出装置およびアクチュエータ
2か月前
SMC株式会社
チャック装置およびチャックシステム
25日前
SMC株式会社
イオナイザ用取付具、それを有するイオナイザ、及びそれを用いた取付構造
20日前
日本精機株式会社
警報システム
2か月前
個人
安全支援装置
19日前
個人
自動電動車椅子
2か月前
株式会社SUBARU
車両
1か月前
スズキ株式会社
運転支援装置
2か月前
エムケー精工株式会社
車両誘導装置
3か月前
日本無線株式会社
船舶システム
20日前
ニッタン株式会社
検知器
2か月前
ニッタン株式会社
検知器
1か月前
ニッタン株式会社
検知器
2か月前
ニッタン株式会社
発信機
3か月前
個人
磁気路上での車両の路線離脱防御
1か月前
ニッタン株式会社
検知器
2か月前
株式会社国際電気
防災システム
2か月前
トヨタ自動車株式会社
サーバ
2か月前
株式会社小糸製作所
移動体検出装置
2か月前
大阪瓦斯株式会社
音声出力システム
1か月前
ダイハツ工業株式会社
移動支援装置
1か月前
トヨタ自動車株式会社
サーバ
28日前
日本信号株式会社
異常走行検出装置
2か月前
株式会社SUBARU
運転支援装置
1か月前
三菱自動車工業株式会社
制御システム
1か月前
株式会社CCT
通信装置及び表示方法
1か月前
株式会社小糸製作所
車両検出システム
2か月前
日本精機株式会社
報知装置及び報知システム
2か月前
株式会社デンソー
運航管理装置
1か月前
株式会社 ミックウェア
車内環境制御システム
1か月前
能美防災株式会社
火災感知器
2か月前
株式会社SUBARU
事故情報収集装置
1か月前
続きを見る
他の特許を見る