TOP
|
特許
|
意匠
|
商標
特許ウォッチ
Twitter
他の特許を見る
公開番号
2025158254
公報種別
公開特許公報(A)
公開日
2025-10-17
出願番号
2024060619
出願日
2024-04-04
発明の名称
バルブユニット及び増圧弁
出願人
SMC株式会社
代理人
弁理士法人桐朋
主分類
F16K
27/12 20060101AFI20251009BHJP(機械要素または単位;機械または装置の効果的機能を生じ維持するための一般的手段)
要約
【課題】低コストに結露を防ぐことができるバルブユニットを提供する。
【解決手段】圧縮エア機器に対して、排気口14aと圧縮エア供給源22とを交互に接続する主弁12と、主弁12を収容する主弁筐体14と、主弁筐体14の外方を覆い、主弁筐体14との間にカバーエア流路18を形成する結露防止カバー16と、カバーエア流路18の一端に連通し、圧縮エア供給源22から供給される圧縮エアの一部を供給するカバーエア供給口32と、を有する、バルブユニット10である。
【選択図】図1
特許請求の範囲
【請求項1】
圧縮エア機器に対して、排気口と圧縮エア供給源とを交互に接続する主弁と、
前記主弁を収容する主弁筐体と、
前記主弁筐体の外方を覆い、前記主弁筐体との間にカバーエア流路を形成する結露防止カバーと、
前記カバーエア流路の一端に連通し、前記圧縮エア供給源から供給される圧縮エアの一部を供給するカバーエア供給口と、を有する、バルブユニット。
続きを表示(約 880 文字)
【請求項2】
請求項1に記載のバルブユニットであって、前記結露防止カバーは、熱を伝えにくい材料によって形成されている、バルブユニット。
【請求項3】
請求項2に記載のバルブユニットであって、
前記主弁をパイロットエアで駆動するパイロットピストンを備え、
前記パイロットピストンの排気ポートと前記カバーエア供給口とが連通している、バルブユニット。
【請求項4】
請求項3に記載のバルブユニットであって、
前記排気ポートと前記カバーエア供給口とが、前記パイロットエアの給排を行うパイロット弁を介して接続されている、バルブユニット。
【請求項5】
請求項1に記載のバルブユニットであって、
前記主弁筐体は、前記排気口を有し、
前記結露防止カバーは、前記排気口に向かい合う部分に、貫通孔を有する、バルブユニット。
【請求項6】
請求項5に記載のバルブユニットであって、前記結露防止カバーは、前記排気口の周囲において前記主弁筐体に密着している、バルブユニット。
【請求項7】
請求項6に記載のバルブユニットであって、
前記主弁に接続される流路を内蔵した流路部材を有し、
前記主弁筐体は、前記流路部材によって支持されており、前記カバーエア流路は、前記主弁筐体の外方を覆うように形成される、バルブユニット。
【請求項8】
請求項7に記載のバルブユニットであって、前記結露防止カバーは、前記主弁筐体の上側にカバーエアを排気するカバーエア排気口を有し、前記カバーエア供給口は、前記主弁筐体の下側に位置する、バルブユニット。
【請求項9】
請求項8に記載のバルブユニットであって、前記排気口と前記結露防止カバーの前記貫通孔との間に、消音材が配置されている、バルブユニット。
【請求項10】
請求項1~9のいずれか1項に記載のバルブユニットを備えた、増圧弁。
(【請求項11】以降は省略されています)
発明の詳細な説明
【技術分野】
【0001】
本開示は、圧縮エアの給排を行うバルブユニット及び増圧弁に関する。
続きを表示(約 1,100 文字)
【背景技術】
【0002】
エアシリンダ等の空気圧機器に対するエアの給排に、切換弁を備えるバルブユニットが用いられている。例えば、特許文献1には、電気信号及びパイロットエアで切換動作を行うバルブユニットが開示されている。
【先行技術文献】
【特許文献】
【0003】
国際公開2020/036046号
【発明の概要】
【発明が解決しようとする課題】
【0004】
バルブユニットは、比較的高い圧力の圧縮エアを、比較的高い頻度で給排させる動作を行うと、内部を通過する圧縮エアの断熱膨張により温度低下が生じる。バルブユニットの用途を限定しないが、例えば、圧縮エアの圧力を増加させる増圧弁(エアブースタ)に作動用の圧縮エアを給排するバルブユニットは、温度低下を生じやすい。
【0005】
バルブユニットの配置環境によっては、バルブユニットの表面温度が外気の露点温度を下回り、結露を生じる場合がある。結露の発生は、バルブユニットの配置地域及び季節等の条件によって左右される。結露は、発生頻度が多くはないことから、現状で大きな問題は把握されていない。また、結露はバルブユニットの配置環境によって生じる自然現象であるとされている。そのため、従来、バルブユニット自体の改良による結露への対処は行われてこなかった。
【0006】
しかしながら、バルブユニット及びその接続対象機器の性能及び効率の低下をもたらすことなく、低コストに結露を防ぐことができれば、使用者の清掃作業等の負担を軽減し、又は配置場所の清浄度を改善できる可能性がある。
【0007】
本発明は、上記した課題を解決することを目的とする。
【課題を解決するための手段】
【0008】
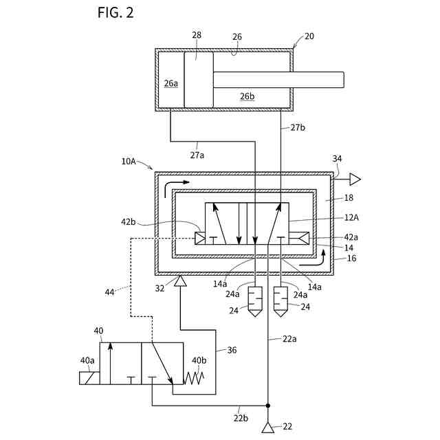
本開示の第1の態様は、圧縮エア機器に対して、排気口と圧縮エア供給源とを交互に接続する主弁と、前記主弁を収容する主弁筐体と、前記主弁筐体の外方を覆い、前記主弁筐体との間にカバーエア流路を形成する結露防止カバーと、前記カバーエア流路の一端に連通し、前記圧縮エア供給源から供給される圧縮エアの一部を供給するカバーエア供給口と、を有する、バルブユニットである。
【0009】
本開示の第2の態様は、上記第1の態様に記載のバルブユニットを備えた、増圧弁である。
【発明の効果】
【0010】
上記のバルブユニット及び増圧弁は、露点温度が低い圧縮エアを、カバーエアとして主弁筐体の周囲に流す。これにより、主弁筐体の温度が低下した場合であっても、バルブユニットの結露を防止できる。
【図面の簡単な説明】
(【0011】以降は省略されています)
この特許をJ-PlatPat(特許庁公式サイト)で参照する
関連特許
SMC株式会社
着脱装置
1か月前
SMC株式会社
バルブユニット
1か月前
SMC株式会社
電動アクチュエータ
1か月前
SMC株式会社
バルブユニット及び増圧弁
20日前
SMC株式会社
位置検出装置およびアクチュエータ
1か月前
SMC株式会社
チャック装置およびチャックシステム
7日前
SMC株式会社
アダプタ及びこれを用いた流量制御弁の取付構造
2か月前
SMC株式会社
イオナイザ用取付具、それを有するイオナイザ、及びそれを用いた取付構造
2日前
個人
留め具
23日前
個人
鍋虫ねじ
2か月前
個人
紛体用仕切弁
2か月前
個人
ホース保持具
6か月前
個人
回転伝達機構
3か月前
個人
トーションバー
7か月前
個人
差動歯車用歯形
4か月前
個人
給排気装置
1か月前
個人
ジョイント
1か月前
個人
ボルトナットセット
7か月前
個人
ナット
1日前
株式会社不二工機
電磁弁
5か月前
個人
ナット
1か月前
株式会社不二工機
電磁弁
4か月前
個人
地震の揺れ回避装置
3か月前
個人
吐出量監視装置
2か月前
カヤバ株式会社
緩衝器
29日前
株式会社三協丸筒
枠体
7か月前
カヤバ株式会社
ダンパ
4か月前
カヤバ株式会社
ダンパ
4か月前
カヤバ株式会社
緩衝器
4か月前
カヤバ株式会社
緩衝器
7か月前
兼工業株式会社
バルブ
2日前
カヤバ株式会社
緩衝器
4か月前
柿沼金属精機株式会社
分岐管
2か月前
株式会社不二工機
電動弁
7か月前
個人
固着具と固着具の固定方法
7か月前
個人
固着具と固着具の固定方法
5か月前
続きを見る
他の特許を見る