TOP
|
特許
|
意匠
|
商標
特許ウォッチ
Twitter
他の特許を見る
10個以上の画像は省略されています。
公開番号
2025165231
公報種別
公開特許公報(A)
公開日
2025-11-04
出願番号
2024069209
出願日
2024-04-22
発明の名称
イオナイザ用取付具、それを有するイオナイザ、及びそれを用いた取付構造
出願人
SMC株式会社
代理人
個人
,
個人
,
個人
主分類
H01T
19/04 20060101AFI20251027BHJP(基本的電気素子)
要約
【課題】複数の放電針を一列に保持した細長の筐体を有するイオナイザについて、設置部位に対する前記筐体の着脱作業をより効率化することが可能な取付具、それを有するイオナイザ、及びそれ用いた取付構造を提供する。
【解決手段】複数の放電針31を長軸L1に沿って一列に保持した筐体20を設置部位Fに取り付ける取付具6に、筐体の端部に係合して長軸に沿う筐体の移動を規制するロック位置と、その係合を解除するロック解除位置との間で手動操作可能なロック係合片61を有する軸方向支持部材60と、筐体における長軸方向の摺動溝28に摺動自在に係合して筐体を下方から上方に向けて支持する摺動係合片66を有する吊下支持部材65とを設け、一対の取付具で筐体の両端部を保持させた。
【選択図】 図1
特許請求の範囲
【請求項1】
イオナイザにおける複数の放電針を長軸に沿って保持する筐体を、その設置部位に対して取り付けるためのイオナイザ用取付具であって、
前記取付具は、前記設置部位に固定して前記筐体を着脱可能に保持するためのもので、前記長軸に沿わせるための中心軸を有しており、
前記取付具は、
前記設置部位に固定するための固定部と、前記筐体における前記長軸に沿う方向を向くストッパ部に対して係脱させるためのロック係合片を有する軸方向支持部材と、前記長軸に沿って前記筐体に延設された被係合部に対して摺動自在に係合させることにより該筐体を下方から上方に向けて支持するための摺動係合片を有する吊下支持部材と、
を備えており、
前記ロック係合片が、前記ストッパ部との係合により前記長軸に沿う方向に対する前記筐体の移動を規制するためのロック位置から、手動操作での前記ストッパ部との係合の解除により、前記長軸に沿う方向に対する前記筐体の移動を許容するためのロック解除位置に対して移動可能に設けられている、
ことを特徴とするイオナイザ用取付具。
続きを表示(約 2,100 文字)
【請求項2】
前記ロック係合片は、前記ロック解除位置側への移動に伴って、前記ロック位置に向けての付勢力が蓄積されるバネ材で形成されている、
ことを特徴とする請求項1に記載のイオナイザ用取付具。
【請求項3】
前記取付具は、前記長軸方向における前記筐体の端部を支持するためのもので、
前記ロック係合片は、下方のロック位置と上方のロック解除位置との間で移動可能に設けられており、
さらに、前記ロック係合片は、前記筐体の長軸方向における端面に形成されたストッパ部に係合させるためのもので、前記取付具における前記中心軸上の端部に配されている、
ことを特徴とする請求項1に記載のイオナイザ用取付具。
【請求項4】
前記軸方向支持部材は、その基端側が前記吊下支持部材に連結され、前記ロック係合片を有する先端側が前記中心軸に沿って延設されており、さらに、該ロック係合片が、前記中心軸方向における前記吊下支持部材の一方の端縁から外方に突出している、
ことを特徴とする請求項3に記載のイオナイザ用取付具。
【請求項5】
前記摺動係合片は、前記吊下支持部材における前記中心軸を挟んだ幅方向両側端部を、幅方向内側に向けてL字状に折り返すことにより形成されている、
ことを特徴とする請求項1-4の何れかに記載のイオナイザ用取付具。
【請求項6】
前記吊下支持部材の幅方向両側端部に形成された前記摺動係合片は、前記中心軸方向において互いに同位置で対向するように、該中心軸に沿って複数且つ同数配されている、
ことを特徴とする請求項5に記載のイオナイザ用取付具。
【請求項7】
前記固定部は、前記取付具における前記中心軸を挟んだ幅方向両側端部にそれぞれ一体に連結されていて、前記中心軸に沿って長い固定穴を有している、
ことを特徴とする請求項1-4の何れかに記載のイオナイザ用取付具。
【請求項8】
請求項1に記載の取付具の一対を有するイオナイザであって、
前記イオナイザが、前記筐体に前記複数の放電針を前記長軸に沿って一列に保持して成るバー型のイオン発生モジュールと、該イオン発生モジュールに対して電圧を供給するコントローラと、これらイオン発生モジュールとコントローラとを電気的に接続するケーブルとを有していて、前記イオン発生モジュールに対して前記ケーブルが着脱自在に接続されており、
前記筐体の前記長軸廻りの外周面には、該長軸に沿って前記被係合部が延設されており、さらに、前記筐体は、前記長軸方向において互いに逆向きに形成された一対の前記ストッパ部を有している、
ことを特徴とするイオナイザ。
【請求項9】
イオナイザにおける複数の放電針を長軸に沿って保持する細長の筐体を、その設置部位に取付具を用いて取り付ける取付構造であって、
前記取付具の一対が前記設置部位に固定されていて、それら取付具が、それらの中心軸を前記筐体の長軸に沿わせた状態で、該長軸方向における前記筐体の一端側と他端側とをそれぞれ保持しており、
前記筐体は、
前記長軸に沿って前記複数の放電針が一列に配されて成る下方を向くイオン発生面と、
前記イオン発生面とは逆側の上方を向く取付面、及び、前記イオン発生面と前記取付面との間に前記長軸に沿って配された互いに背向する一対の側面から成る外周面と、
前記外周面の長軸方向両端に配された第1端面及び第2端面と、
前記外周面に前記長軸に沿って延設された被係合部と、
前記長軸方向において互いに逆向きに設けられた一対のストッパ部と、
を有しており、
前記取付具は、前記設置部位に固定された固定部と、ロック係合片を備えた軸方向支持部材と、摺動係合片を備えた吊下支持部材とを有しており、
前記一対の取付具のロック係合片が、前記筐体の一対のストッパ部にそれぞれ係合されたロック位置において、前記長軸に沿う方向に対する前記筐体の移動を規制し、前記一対の取付具の摺動係合片が、前記筐体の被係合部に対して前記長軸に沿う方向に摺動自在に係合され該筐体を下方から上方に向けて支持しており、
前記ロック係合片が、前記ロック位置から、手動操作での前記ストッパ部との係合の解除により、前記長軸に沿う方向に対する前記筐体の移動を許容するロック解除位置に対して移動可能に設けられており、
前記ロック係合片を前記ロック解除位置に移動させた状態で、前記筐体を前記被係合部に沿って摺動させることにより、前記一対の取付具から前記筐体を取り外すことができるようになっている、
ことを特徴とする取付構造。
【請求項10】
前記ロック係合片は、前記ロック解除位置側への移動に伴って、前記ロック位置に向けての付勢力が蓄積されるバネ材で形成されている、
ことを特徴とする請求項9に記載の取付構造。
(【請求項11】以降は省略されています)
発明の詳細な説明
【技術分野】
【0001】
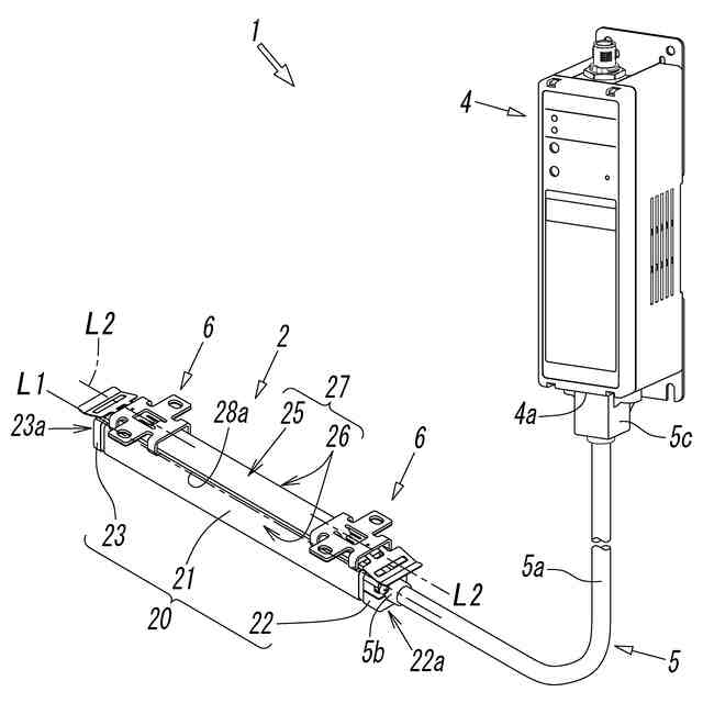
本発明は、イオナイザにおける複数の放電針を長軸に沿って保持した細長の筐体を、その設置部位に対して取り付けるための取付具、その取付具を有するイオナイザ、及びその取付具を用いた取付構造に関するものである。
続きを表示(約 3,000 文字)
【背景技術】
【0002】
放電針からのコロナ放電によりイオンを発生させるイオナイザにおいて、筐体のイオン発生面に複数の放電針が間隔を有して一列に配設されたものは、特許文献1に開示されているように、広く知られている。そして、このようなイオナイザにおいては、前記筐体を、下方を向く天井やフレーム等の設置部位に対して取り付けて使用するのが一般的である。このように前記筐体を設置部位に対して取り付けるにあたっては、取付具を用いる方法があるが、この特許文献1記載のイオナイザにおいては、その筐体の長軸方向両端に固定した端部取付具によって、該筐体を前記設置部位に固定している。
【0003】
ところで、イオナイザにおいては、放電針の清掃や交換などの各種メンテナンスにあたり、該放電針を保持する筐体を前記設置部位に対して着脱しなければならない場合がある。しかしながら、特許文献1のイオナイザにおいては、前記端部取付具をイオナイザの筐体に対しネジ等の固定部材を用いて固定しているため、筐体を着脱するにあたってドライバ等の工具が必要となるなど、筐体の着脱作業が煩雑になりがちである。
【先行技術文献】
【特許文献】
【0004】
特開2009-070706号公報
【発明の概要】
【発明が解決しようとする課題】
【0005】
そこで、本発明の技術的課題は、複数の放電針を長軸に沿って保持した細長の筐体を有するイオナイザについて、メンテナンス等に伴う設置部位に対する前記筐体の着脱作業をより効率化することが可能な取付具、その取付具を有するイオナイザ、及びその取付具を用いた取付構造を提供することにある。
【課題を解決するための手段】
【0006】
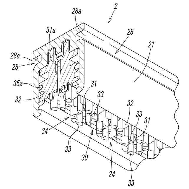
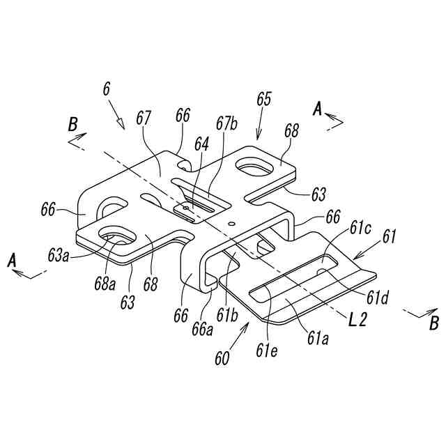
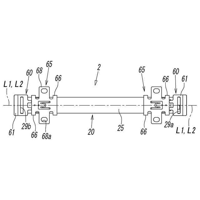
前記課題を解決するため、本発明に係る取付具は、イオナイザにおける複数の放電針を長軸に沿って保持する細長の筐体を、その設置部位に対して取り付けるためのイオナイザ用取付具であって、前記取付具は、前記設置部位に固定して前記筐体を着脱可能に保持するためのもので、前記長軸に沿わせるための中心軸を有しており、前記取付具は、前記設置部位に固定するための固定部と、前記筐体における前記長軸に沿う方向を向くストッパ部に対して係脱させるためのロック係合片を有する軸方向支持部材と、前記長軸に沿って前記筐体に延設された被係合部に対して摺動自在に係合させることにより該筐体を下方から上方に向けて支持するための摺動係合片を有する吊下支持部材と、を備えており、前記ロック係合片が、前記ストッパ部との係合により前記長軸に沿う方向に対する前記筐体の移動を規制するためのロック位置から、手動操作での前記ストッパ部との係合の解除により、前記長軸に沿う方向に対する前記筐体の移動を許容するためのロック解除位置に対して移動可能に設けられていることを特徴とする。
【0007】
前記本発明に係る取付具において、好ましくは、前記ロック係合片は、前記ロック解除位置側への移動に伴って、前記ロック位置に向けての付勢力が蓄積されるバネ材で形成されている。また、好ましくは、前記取付具は、前記長軸方向における前記筐体の端部を支持するためのもので、前記ロック係合片は、下方のロック位置と上方のロック解除位置との間で移動可能に設けられており、さらに、前記ロック係合片は、前記筐体の長軸方向における端面に形成されたストッパ部に係合させるためのもので、前記取付具における前記中心軸上の端部に配されている。このとき、より好ましくは、前記軸方向支持部材は、その基端側が前記吊下支持部材に連結され、前記ロック係合片を有する先端側が前記中心軸に沿って延設されており、さらに、該ロック係合片が、前記中心軸方向における前記吊下支持部材の一方の端縁から外方に突出している。
【0008】
前記本発明に係る取付具において、好ましくは、前記摺動係合片は、前記吊下支持部材における前記中心軸を挟んだ幅方向両側端部を、幅方向内側に向けてL字状に折り返すことにより形成されている。このとき、より好ましくは、前記吊下支持部材の幅方向両側端部に形成された前記摺動係合片は、前記中心軸方向において互いに同位置で対向するように、該中心軸に沿って複数且つ同数配されている。また、前記本発明に係る取付具において、好ましくは、前記固定部は、前記取付具における前記中心軸を挟んだ幅方向両側端部にそれぞれ一体に連結されていて、前記中心軸に沿って長い固定穴を有している。
【0009】
そして、前記課題を解決するため、本発明に係るイオナイザは、前記取付具の一対を有するイオナイザであって、前記イオナイザが、前記筐体に前記複数の放電針を前記長軸に沿って一列に保持して成るバー型のイオン発生モジュールと、該イオン発生モジュールに対して電圧を供給するコントローラと、これらイオン発生モジュールとコントローラとを電気的に接続するケーブルとを有していて、前記イオン発生モジュールに対して前記ケーブルが着脱自在に接続されており、前記筐体の前記長軸廻りの外周面には、該長軸に沿って前記被係合部が延設されており、さらに、前記筐体は、前記長軸方向において互いに逆向きに形成された一対の前記ストッパ部を有している。
【0010】
さらに、前記課題を解決するため、本発明に係る、イオナイザにおける放電針を保持する筐体の取付構造は、イオナイザにおける複数の放電針を長軸に沿って保持する細長の筐体を、その設置部位に取付具を用いて取り付ける取付構造であって、前記取付具の一対が前記設置部位に固定されていて、それら取付具が、それらの中心軸を前記筐体の長軸に沿わせた状態で、該長軸方向における前記筐体の一端側と他端側とをそれぞれ保持しており、前記筐体は、前記長軸に沿って前記複数の放電針が一列に配されて成る下方を向くイオン発生面と、前記イオン発生面とは逆側の上方を向く取付面、及び、前記イオン発生面と前記取付面との間に前記長軸に沿って配された互いに背向する一対の側面から成る外周面と、前記外周面の長軸方向両端に配された第1端面及び第2端面と、前記外周面に前記長軸に沿って延設された被係合部と、前記長軸方向において互いに逆向きに設けられた一対のストッパ部と、を有しており、前記取付具は、前記設置部位に固定された固定部と、ロック係合片を備えた軸方向支持部材と、摺動係合片を備えた吊下支持部材とを有しており、前記一対の取付具のロック係合片が、前記筐体の一対のストッパ部にそれぞれ係合されたロック位置において、前記長軸に沿う方向に対する前記筐体の移動を規制し、前記一対の取付具の摺動係合片が、前記筐体の被係合部に対して前記長軸に沿う方向に摺動自在に係合され該筐体を下方から上方に向けて支持しており、前記ロック係合片が、前記ロック位置から、手動操作での前記ストッパ部との係合の解除により、前記長軸に沿う方向に対する前記筐体の移動を許容するロック解除位置に対して移動可能に設けられており、前記ロック係合片を前記ロック解除位置に移動させた状態で、前記筐体を前記被係合部に沿って摺動させることにより、前記一対の取付具から前記筐体を取り外すことができるようになっている。
(【0011】以降は省略されています)
この特許をJ-PlatPat(特許庁公式サイト)で参照する
関連特許
SMC株式会社
着脱装置
2か月前
SMC株式会社
増圧装置
1か月前
SMC株式会社
マグネットチャック
18日前
SMC株式会社
バルブユニット及び増圧弁
1か月前
SMC株式会社
位置検出装置およびアクチュエータ
2か月前
SMC株式会社
チャック装置およびチャックシステム
1か月前
SMC株式会社
イオナイザ用取付具、それを有するイオナイザ、及びそれを用いた取付構造
1か月前
東ソー株式会社
絶縁電線
1か月前
APB株式会社
蓄電セル
1か月前
日機装株式会社
加圧装置
3日前
マクセル株式会社
電源装置
1か月前
株式会社東芝
端子台
1か月前
日新イオン機器株式会社
イオン源
1か月前
日新イオン機器株式会社
イオン源
3日前
ローム株式会社
半導体装置
1か月前
富士電機株式会社
電磁接触器
18日前
株式会社ホロン
冷陰極電子源
1か月前
三菱電機株式会社
回路遮断器
26日前
株式会社GSユアサ
蓄電装置
1か月前
株式会社GSユアサ
蓄電装置
1か月前
株式会社GSユアサ
蓄電装置
18日前
株式会社GSユアサ
蓄電装置
1か月前
トヨタ自動車株式会社
蓄電装置
1か月前
日本特殊陶業株式会社
保持装置
1か月前
個人
電源ボックス及び電子機器
3日前
ホシデン株式会社
複合コネクタ
12日前
日本特殊陶業株式会社
保持装置
1か月前
北道電設株式会社
配電具カバー
1か月前
株式会社東芝
電子源
3日前
トヨタ自動車株式会社
冷却構造
1か月前
株式会社トクミ
ケーブル
4日前
日新イオン機器株式会社
基板処理装置
1か月前
トヨタ自動車株式会社
バッテリ
1か月前
トヨタ自動車株式会社
蓄電装置
10日前
大電株式会社
電線又はケーブル
10日前
甲神電機株式会社
変流器及び零相変流器
1か月前
続きを見る
他の特許を見る