TOP
|
特許
|
意匠
|
商標
特許ウォッチ
Twitter
他の特許を見る
10個以上の画像は省略されています。
公開番号
2025136306
公報種別
公開特許公報(A)
公開日
2025-09-19
出願番号
2024034774
出願日
2024-03-07
発明の名称
培養制御システム、培養制御方法、培養システム、及び培養方法
出願人
ZACROS株式会社
代理人
個人
,
個人
主分類
C12M
1/00 20060101AFI20250911BHJP(生化学;ビール;酒精;ぶどう酒;酢;微生物学;酵素学;突然変異または遺伝子工学)
要約
【課題】細胞等の培養を制御する場合に、ユーザが培養状態を監視する手間を抑制することを目的とする。
【解決手段】培養対象物が収容される培養容器30の培養を制御する培養制御システム20は、培養を複数の工程に分けた各ステップのうちの所定のステップ内で次のステップへの移行条件が成立した場合、次のステップへ自動的に移行する設定が行われていたときには自動的に前記次のステップへ移行させ、次のステップへ自動的に移行する設定が行われていなかったときには所定のステップを継続させる制御を行なう。
【選択図】図1
特許請求の範囲
【請求項1】
培養対象物が収容される培養容器の培養を制御する培養制御システムであって、
前記培養を複数の工程に分けた各ステップのうちの所定のステップ内で次のステップへの移行条件が成立した場合、前記次のステップへ自動的に移行する設定が行われていたときには自動的に前記次のステップへ移行させ、前記次のステップへ自動的に移行する設定が行われていなかったときには前記所定のステップを継続させる制御を行なう制御部を有する培養制御システム。
続きを表示(約 1,100 文字)
【請求項2】
請求項1に記載の培養制御システムであって、
前記培養容器の運転状況を示すパラメータを表示し、前記次のステップに移行した場合には、前記次のステップにおける前記培養容器の運転状況を示すパラメータの表示に切り替える表示制御部を有する、培養制御システム。
【請求項3】
前記次のステップへ自動的に移行する設定が行われていなかった場合には、前記表示制御部は、前記次のステップへの移行を許可する場合に選択される第1の表示部分の表示形態を変更する、請求項2に記載の培養制御システム。
【請求項4】
前記表示部分が選択された場合には、前記制御部は、前記培養容器に対して前記次のステップへ移行させる制御を行なう、請求項3に記載の培養制御システム。
【請求項5】
複数の前記移行条件が設定されている場合、前記次のステップへの移行条件の成立は、複数の前記移行条件の全てで成立条件が成立することである、請求項1に記載の培養制御システム。
【請求項6】
前記移行条件は、前記所定のステップにおいて、当該所定のステップの開示から所定時間が経過したことである、請求項1に記載の培養制御システム。
【請求項7】
前記移行条件は、前記所定のステップにおいて、前記培養容器における所定状況の計測値と予め設定された設定値との関係を示す、請求項1に記載の培養制御システム。
【請求項8】
前記表示制御部は、前記各ステップにおける前記移行条件の成立状況を示す表示画面を表示する、請求項2に記載の培養制御システム。
【請求項9】
前記所定のステップで前記培養容器に対して培養を制御している場合に、前記表示制御部は次のステップへ強制移行するときに選択される第2の表示部分を表示し、
前記制御部は、前記第2の表示部分の選択に基づき、前記培養容器に対して前記次のステップへ強制移行させる制御を行なう、
請求項2に記載の培養制御システム。
【請求項10】
培養対象物が収容される培養容器の培養を制御する培養制御システムが実行する培養制御方法であって、
前記培養を複数の工程に分けた各ステップのうちの所定のステップ内で次のステップへの移行条件が成立した場合、前記次のステップへ自動的に移行する設定が行われていたときには自動的に前記次のステップへ移行させ、前記次のステップへ自動的に移行する設定が行われていなかったときには前記所定のステップを継続させる制御を行なう、培養制御方法。
(【請求項11】以降は省略されています)
発明の詳細な説明
【技術分野】
【0001】
本開示は、培養容器の運転を制御する技術に関する。
続きを表示(約 1,400 文字)
【背景技術】
【0002】
微生物、昆虫細胞、植物細胞、動物細胞等の培養対象物の大量培養は、医薬品、食品、化粧品、又はこれらの原材料などとして有用な各種物質の生産に広く用いられている。
【0003】
従来、培養対象物を含む液体(培地)及び気体が含まれた培養袋(バッグ)を収容して、温度調整、気体の流量調整、及び振とうすることで、培養を行なう培養容器が提案されている(特許文献1参照)。また、培養には複数の工程が含まれており、複数の工程の中で次の工程に進めるにあたって、ユーザが培養容器内の温度や流量センサによる測定値を確認したり、培養容器内の培養状態を目視により確認したりしていた。
【先行技術文献】
【特許文献】
【0004】
特開2018-126172号公報
【発明の概要】
【発明が解決しようとする課題】
【0005】
しかしながら、複数の工程の中には、培養容器内の温度等に一定条件が成立すれば、わざわざユーザが培養容器内の培養状態を目視により確認しなくても、次の工程に進んでも問題ない工程がある。従来は、このような場合にも、ユーザが培養容器のそばで待機して培養状態を監視していたため、培養状態を監視する手間が掛かっていた。
【0006】
本開示は、上述の課題に鑑みてなされたもので、細胞等の培養を制御する場合に、ユーザが培養状態を監視する手間を抑制することを目的とする。
【課題を解決するための手段】
【0007】
本開示は、培養対象物が収容される培養容器の培養を制御する培養制御システムであって、前記培養を複数の工程に分けた各ステップのうちの所定のステップ内で次のステップへの移行条件が成立した場合、前記次のステップへ自動的に移行する設定が行われていたときには自動的に前記次のステップへ移行させ、前記次のステップへ自動的に移行する設定が行われていなかったときには前記所定のステップを継続させる制御を行なう制御部を有する培養制御システムである。
【発明の効果】
【0008】
以上説明したように本開示によれば、細胞等の培養を制御する場合に、ユーザが培養状態を監視する手間を抑制することができるという効果を奏する。
【図面の簡単な説明】
【0009】
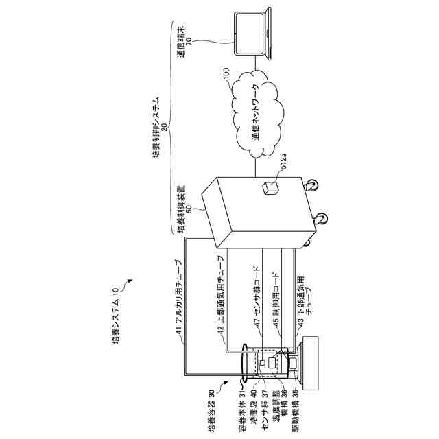
培養システムの全体構成図である。
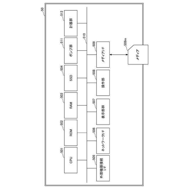
培養制御装置の電気的なハードウェア構成図である。
通信端末の電気的なハードウェア構成図である。
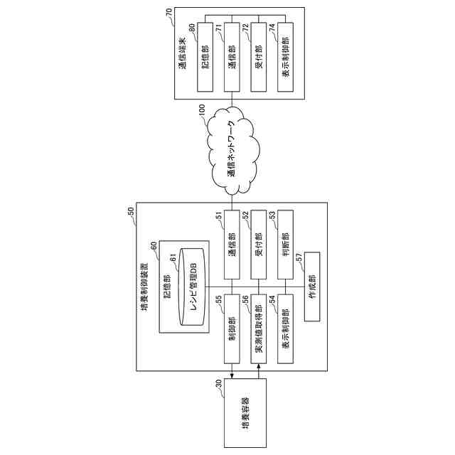
培養システムの各機能構成図である。
培養システムの処理を示すシーケンス図である。
通信端末によって表示される培養ステップ制御情報の設定画面を示す図である。
通信端末によって表示される運転状況の表示画面を示す図である。
移行条件の成立状況表示画面を表示する処理を示すシーケンス図である。
移行条件の成立状況の表示画面を示す図である。
培養における各ステップの制御を示すフローチャートである。
【発明を実施するための形態】
【0010】
以下、図面を用いて実施形態に係る培養システム10を説明する。
(【0011】以降は省略されています)
この特許をJ-PlatPat(特許庁公式サイト)で参照する
関連特許
個人
抗遺伝子劣化装置
1か月前
個人
細胞内探査とその利用
1か月前
日本バイリーン株式会社
細胞用支持基材
3か月前
個人
細胞培養容器
2か月前
株式会社東洋新薬
経口組成物
1か月前
日油株式会社
蛋白質安定化剤
2か月前
株式会社タクマ
バイオマス処理装置
1か月前
株式会社タクマ
バイオマス処理装置
1か月前
東洋紡株式会社
改変型RNAポリメラーゼ
2か月前
テルモ株式会社
吐出デバイス
27日前
宝酒造株式会社
アルコール飲料
6日前
東ソー株式会社
pH応答性マイクロキャリア
1か月前
テルモ株式会社
容器蓋デバイス
27日前
大陽日酸株式会社
培養装置
1か月前
大陽日酸株式会社
培養装置
1か月前
株式会社ファンケル
SEC12タンパク発現促進剤
2か月前
トヨタ自動車株式会社
バイオ燃料製造方法
24日前
株式会社豊田中央研究所
細胞励起装置
4日前
株式会社東海ヒット
灌流培養ユニット
3か月前
アサヒビール株式会社
柑橘風味アルコール飲料
2か月前
アサヒビール株式会社
柑橘風味アルコール飲料
2か月前
オンキヨー株式会社
浸漬酒の製造方法、及び、浸漬酒
3か月前
テルモ株式会社
採取組織細切補助デバイス
27日前
株式会社シャローム
スフィンゴミエリン製造方法
1か月前
株式会社今宮
瓶詰ビールの加熱殺菌方法および装置
1か月前
横河電機株式会社
藻類培養装置
16日前
花王株式会社
リパーゼ変異体
3か月前
公立大学法人北九州市立大学
微生物の検知方法
1か月前
株式会社ショウワ
キトサンオリゴマー分画方法
6日前
住友金属鉱山株式会社
連続発酵方法及び連続発酵装置
1か月前
株式会社日本触媒
スフェロイドの輸送方法
2日前
池田食研株式会社
抗疲労用組成物
3か月前
積水化学工業株式会社
遺伝子導入方法
3日前
ZACROS株式会社
排気ユニット、及び培養装置
3か月前
個人
移植材料の評価方法
3か月前
NTN株式会社
細胞配置の制御方法
6日前
続きを見る
他の特許を見る