TOP
|
特許
|
意匠
|
商標
特許ウォッチ
Twitter
他の特許を見る
10個以上の画像は省略されています。
公開番号
2025136228
公報種別
公開特許公報(A)
公開日
2025-09-19
出願番号
2024034537
出願日
2024-03-07
発明の名称
有用微生物資材およびそれを用いた排水系の汚れ防止方法
出願人
株式会社東京バイオックス
代理人
個人
,
個人
主分類
C12N
1/20 20060101AFI20250911BHJP(生化学;ビール;酒精;ぶどう酒;酢;微生物学;酵素学;突然変異または遺伝子工学)
要約
【課題】
従来排水系の汚れの洗浄・防止用としては用いられていなかった菌を用いての排水系の汚れ防止、ならびに悪臭除去も行える有用微生物資材およびそれを用いた排水系の汚れ防止方法を提供する。
【解決手段】
本発明の有用微生物資材は、独立行政法人製品評価技術基盤機構の特許微生物寄託センター(NPMD)に受託番号NITE P-03967で名称「分離菌a」として寄託されたアグロマイセス・メディオラヌス(Agromyces mediolanus)、受託番号NITE P-03968で名称「分離菌b」として寄託されたブルセラ・トリティチ(Brucella tritici)、および受託番号NITE P-03969で名称「分離菌c」として寄託されたボセア種(Bosea sp.)を主成分とし含有する。
【選択図】 なし
特許請求の範囲
【請求項1】
独立行政法人製品評価技術基盤機構の特許微生物寄託センター(NPMD)に受託番号NITE P-03967で名称「分離菌a」として寄託されたアグロマイセス・メディオラヌス(Agromyces mediolanus)、受託番号NITE P-03968で名称「分離菌b」として寄託されたブルセラ・トリティチ(Brucella tritici)、および受託番号NITE P-03969で名称「分離菌c」として寄託されたボセア種(Bosea sp.)を主成分とし含有する有用微生物資材。
続きを表示(約 650 文字)
【請求項2】
前記3種の菌の総量における各菌の乾燥状態における量比が、下記範囲内である請求項1の微生物資材。
アグロマイセス・メディオラヌス:25~40質量%、
ブルセラ・トリティチ:25~40質量%、および
ボセア種:25~40質量%。
【請求項3】
前記菌群が、水に浸漬させるのに適した担体に担持されている請求項1の有用微生物資材。
【請求項4】
汚水の浄化および/または脱臭剤として使用される請求項1または2の有用微生物資材。
【請求項5】
トイレの悪臭除去、アンモニア低減および/または尿石除去剤として使用される請求項1または2の有用微生物資材。
【請求項6】
クーリングタワーの冷却水の浄化剤として使用される請求項1または2の有用微生物資材。
【請求項7】
水場のレジオネラ菌の殺菌ないしは除菌剤として使用される請求項1または2の有用微生物資材。
【請求項8】
養豚場、養鶏場、牛舎および/または馬房の悪臭除去剤および/または防菌剤として使用される請求項1または2の有用微生物資材。
【請求項9】
家禽を含む家畜自体の悪臭除去剤および/または防菌剤として使用される請求項1または2の有用微生物資材。
【請求項10】
加工工場における切削油悪臭除去剤として使用される請求項1または2の有用微生物資材。
(【請求項11】以降は省略されています)
発明の詳細な説明
【発明の属する技術分野】
【0001】
本発明は、有用微生物資材およびそれを用いた排水系の汚れ防止方法に関する。
続きを表示(約 3,500 文字)
【背景技術】
【0002】
排水系、特に便器等の汚れとしては、便器に付着する水垢、黄ばみ、黒ずみ、尿石(尿中のカルシウムイオンに空気中のリン酸や炭酸ガスが反応して、生成された難溶性のカルシウム化合物)等が代表的なものである。トイレの清掃は、比較的軽い汚れには中性のトイレ用洗剤をふりかけ、トイレ用ブラシ等により汚れを除去することができる。また、便器にこびりついている汚れに対しては、塩素系漂白剤入りアルカリ性洗剤をふりかけ、トイレ用ブラシ等で汚れを除去することにより行われる。これにより、黄ばみ、黒ずみ等は漂白成分で分解、除去することができる。また、便器にこびりついた尿石等を除去する方法としては、酸性タイプの洗剤等で溶解し、除去する方法や、微生物を用いて軟化、溶解させて除去する方法がある。
【0003】
微生物を用いる清掃方法としては、速効性尿石溶解剤(特開平2-237688号公報)、尿石処理パット(特開平7-279215号公報)、便器に尿石付着防止または抑制活性を付与する方法(特開平8-260552号公報)、微生物による水洗トイレットの洗浄方法及び洗浄剤(特開平10-277587号公報)、便器の汚れ、悪臭除去用具および便器の汚れや悪臭を除去する方法(特許第3150299号:特開平11-21973号公報)等がある。
【先行技術文献】
【特許文献】
【0004】
特開平2-237688号公報
特開平7-279215号公報
特開平8-260552号公報
特開平10-277587号公報
特開平11-21973号公報
【発明の概要】
【発明が解決しようとする課題】
【0005】
本発明は、従来排水系の汚れの洗浄・防止用としては用いられていなかった菌を用いての排水系の汚れ防止、ならびに悪臭除去も行える有用微生物資材およびそれを用いた排水系の汚れ防止方法を提供することを目的とするものである。
【課題を解決するための手段】
【0006】
上記の課題は、本発明の下記(1)~(16)のいずれかの構成により解決することができる。
(1)
独立行政法人製品評価技術基盤機構の特許微生物寄託センター(NPMD)に受託番号NITE P-03967で名称「分離菌a」として寄託されたアグロマイセス・メディオラヌス(Agromyces mediolanus)、受託番号NITE P-03968で名称「分離菌b」として寄託されたブルセラ・トリティチ(Brucella tritici)、および受託番号NITE P-03969で名称「分離菌c」として寄託されたボセア種(Bosea sp.)を主成分とし含有する有用微生物資材。
(2)
前記3種の菌の総量における各菌の乾燥状態における量比が、下記範囲内である前記(1)の微生物資材。
アグロマイセス・メディオラヌス:25~40質量%、
ブルセラ・トリティチ:25~40質量%、および
ボセア種:25~40質量%。
(3)
前記菌群が、水に浸漬させるのに適した担体に担持されている前記(1)の有用微生物資材。
(4)
汚水の浄化および/または脱臭剤として使用される前記(1)または(2)の有用微生物資材。
(5)
トイレの悪臭除去、アンモニア低減および/または尿石除去剤として使用される前記(1)または(2)の有用微生物資材。
(6)
クーリングタワーの冷却水の浄化剤として使用される前記(1)または(2)の有用微生物資材。
(7)
水場のレジオネラ菌の殺菌ないしは除菌剤として使用される前記(1)または(2)の有用微生物資材。
(8)
養豚場、養鶏場、牛舎および/または馬房の悪臭除去剤および/または防菌剤として使用される前記(1)または(2)の有用微生物資材。
(9)
家禽を含む家畜自体の悪臭除去剤および/または防菌剤として使用される前記(1)または(2)の有用微生物資材。
(10)
加工工場における切削油悪臭除去剤として使用される前記(1)または(2)の有用微生物資材。
(11)
排水系の少なくとも一カ所において、この排水系内の水に、前記(1)または(2)の有用微生物資材を接触させることにより、排水系に汚れが付着しないようにし、あるいは付着していた汚れを分解して除去することを特徴とする排水系の汚れ防止方法。
(12)
前記有用微生物資材が、水に浸漬させるのに適した担体に担持されている前記(11)の排水系の汚れ防止方法。
(13)
排水系が、水洗トイレにおける便器および排水管を含む排水系である前記(11)の排水系の汚れ防止方法。
(14)
前記汚れが尿石である前記(11)の排水系の汚れ防止方法。
(15)
前記(1)または(2)の有用微生物資材を、前記水洗トイレの給水路内の水に供給することにより、実質的に便器および配水管における水に接触させる前記(11)の排水系の汚れ防止方法。
(16)
前記(1)または(2)の微生物資材を、クーリングタワーの熱媒体である水に浸漬させて、これを浄化することにより、クーリングタワーのメンテナンスを行うクーリングタワーの汚れ防止方法。
なお、前記(2)で、実際に作用する菌群の比率をアグロマイセス・メディオラヌス:25~40質量%、ブルセラ・トリティチ:25~40質量%、およびボセア種:25~40質量%としたが、予め担体に担持させておくには、上記を1:1:1と等量比としておくと汎用性が高い。
【発明の効果】
【0007】
以上の本発明による有用微生物資材は、排水系の汚水等の浄化、飼育・繁殖等に用いられる設備等、並びに家畜・家禽等自体の浄化・殺菌除菌・防臭等の多岐にわたって作用を発揮することができる。
【図面の簡単な説明】
【0008】
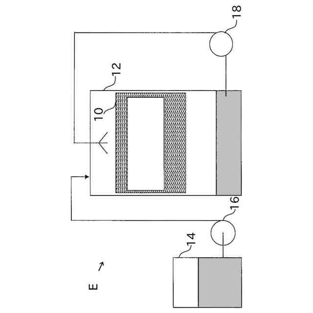
図1は、本発明の実施の形態による有用微生物資材を用いたテスト用のバイオフィルタの概略図である。
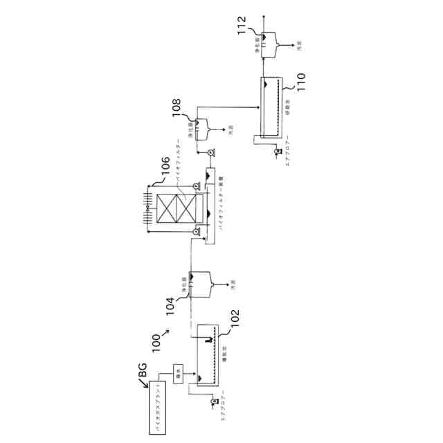
図2は、図1に示したバイオフィルタをバイオガスプラントに組み込んだ例を示すブロック図である。
図3は、本発明の有用微生物資材に含まれる分離菌aの形態の一例を示す写真である。
図4は、本発明の有用微生物資材に含まれる分離菌bの形態の一例を示す写真である。
図5は、本発明の有用微生物資材に含まれる分離菌cの形態の一例を示す写真である。
本発明の実施の形態による有用微生物資材を小便器に適用した場合の作用・効果を示す写真である。
本発明の実施の形態による有用微生物資材を他の小便器に適用した場合の作用・効果を示す写真である。
本発明の実施の形態による有用微生物資材を更に他の小便器に適用した場合の作用・効果を示す写真である。
本発明の実施の形態による有用微生物資材を更に他の小便器に適用した場合の作用・効果を示す写真である。
本発明の実施の形態による有用微生物資材を更に他の小便器に適用した場合の臭いの経時変化を示すグラフ図である。
【発明の実施の形態】
【0009】
以下、本発明の具体的構成について詳細に説明する。
本発明の有用微生物資材は、独立行政法人製品評価技術基盤機構の特許微生物寄託センター(NPMD)に受託番号NITE P-03967で名称「分離菌a」として寄託されたアグロマイセス・メディオラヌス(Agromyces mediolanus)、受託番号NITE P-03968で名称「分離菌b」として寄託されたブルセラ・トリティチ(Brucella tritici)、および受託番号NITE P-03969で名称「分離菌c」として寄託されたボセア種(Bosea sp.)を主成分とし含有する。
【0010】
出願人は、江戸川区の良好な畑土壌を所定量採取し、その畑土壌につき、微生物群を培地で培養し、その培地を検体として、一般財団法人食品分析センターに依頼して微生物の同定試験を行って貰った。
(【0011】以降は省略されています)
この特許をJ-PlatPat(特許庁公式サイト)で参照する
関連特許
個人
抗遺伝子劣化装置
1か月前
個人
細胞内探査とその利用
1か月前
日本バイリーン株式会社
細胞用支持基材
3か月前
個人
細胞培養容器
2か月前
日油株式会社
蛋白質安定化剤
2か月前
テルモ株式会社
吐出デバイス
26日前
株式会社東洋新薬
経口組成物
1か月前
株式会社タクマ
バイオマス処理装置
1か月前
株式会社タクマ
バイオマス処理装置
1か月前
東洋紡株式会社
改変型RNAポリメラーゼ
2か月前
宝酒造株式会社
アルコール飲料
5日前
テルモ株式会社
容器蓋デバイス
26日前
東ソー株式会社
pH応答性マイクロキャリア
29日前
大陽日酸株式会社
培養装置
1か月前
大陽日酸株式会社
培養装置
1か月前
株式会社ファンケル
SEC12タンパク発現促進剤
2か月前
トヨタ自動車株式会社
バイオ燃料製造方法
23日前
株式会社東海ヒット
灌流培養ユニット
3か月前
株式会社豊田中央研究所
細胞励起装置
3日前
アサヒビール株式会社
柑橘風味アルコール飲料
2か月前
アサヒビール株式会社
柑橘風味アルコール飲料
2か月前
オンキヨー株式会社
浸漬酒の製造方法、及び、浸漬酒
3か月前
テルモ株式会社
採取組織細切補助デバイス
26日前
株式会社シャローム
スフィンゴミエリン製造方法
1か月前
横河電機株式会社
藻類培養装置
15日前
株式会社今宮
瓶詰ビールの加熱殺菌方法および装置
1か月前
株式会社ショウワ
キトサンオリゴマー分画方法
5日前
花王株式会社
リパーゼ変異体
3か月前
公立大学法人北九州市立大学
微生物の検知方法
1か月前
住友金属鉱山株式会社
連続発酵方法及び連続発酵装置
29日前
池田食研株式会社
抗疲労用組成物
3か月前
株式会社日本触媒
スフェロイドの輸送方法
1日前
ZACROS株式会社
排気ユニット、及び培養装置
3か月前
住友ベークライト株式会社
培養キット
29日前
NTN株式会社
細胞配置の制御方法
5日前
個人
移植材料の評価方法
3か月前
続きを見る
他の特許を見る