TOP
|
特許
|
意匠
|
商標
特許ウォッチ
Twitter
他の特許を見る
公開番号
2025136042
公報種別
公開特許公報(A)
公開日
2025-09-19
出願番号
2024034208
出願日
2024-03-06
発明の名称
スパウト付きパウチ
出願人
フマキラー株式会社
代理人
弁理士法人前田特許事務所
主分類
B65D
33/36 20060101AFI20250911BHJP(運搬;包装;貯蔵;薄板状または線条材料の取扱い)
要約
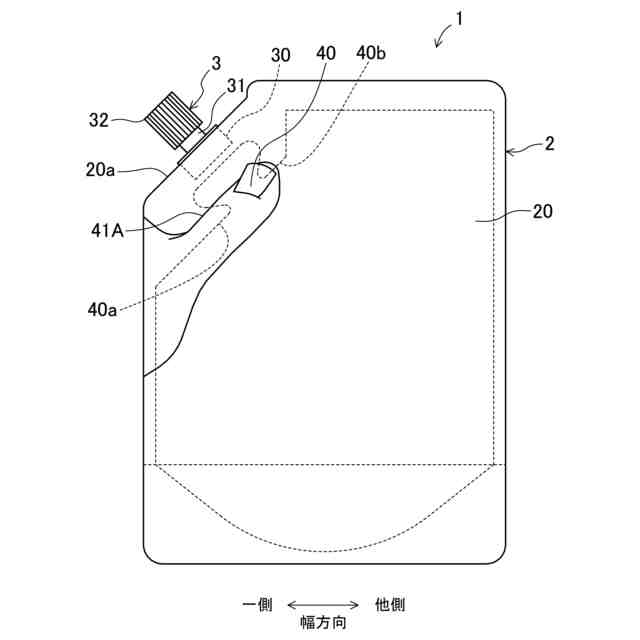
【課題】流路制限機構を有するスパウト付きパウチにおいて、どこをどのように押さえたら良いかを使用者が直観的に理解し易いパウチを提供する。
【解決手段】液剤を収容する収容部2を構成するフィルム20と、収容部2に収容された液剤を外部へ流出させる流路を構成するスパウト3とを備えたスパウト付きパウチ1は、スパウト3の中心軸Aの延長線を挟んで両側に設けられた一対の流路制限シール部42a、42bを有している。一対の流路制限シール部42a、42bの間を指の腹で押さえるように、使用者の手を誘導する誘導表示部41が収容部2の表面または裏面の少なくとも一方に設けられている。
【選択図】図1
特許請求の範囲
【請求項1】
液剤を収容する収容部の表側を構成する表面フィルムと、前記収容部の裏側を構成する裏面フィルムと、前記収容部に収容された液剤を外部へ流出させる流路を構成するスパウトと、を備えたスパウト付きパウチであって、
前記スパウトの中心軸の延長線を挟んで両側に設けられた一対の流路制限シール部を有し、
前記一対の流路制限シール部の間の流路制限部を指の腹で押さえるように、使用者の手を誘導する誘導表示部が、前記収容部の表面および裏面の少なくとも一方に設けられていることを特徴とするスパウト付きパウチ。
続きを表示(約 450 文字)
【請求項2】
前記表面フィルムおよび前記裏面フィルムが不透明であり、
前記誘導表示部は、前記表面フィルムまたは裏面フィルムの外面に印刷された部分で構成されていることを特徴とする、請求項1に記載のスパウト付きパウチ。
【請求項3】
前記誘導表示部が、前記スパウトの中心軸と直交する方向に細長い形状のマークであることを特徴とする、請求項1に記載のスパウト付きパウチ。
【請求項4】
前記誘導表示部が、前記一対の流路制限シール部によって制限される流路の輪郭を表示するものであることを特徴とする、請求項1に記載のスパウト付きパウチ。
【請求項5】
前記スパウトは、前記収容部の幅方向一側にのみ設けられ、
前記誘導表示部が、前記収容部の表面および裏面の両方に設けられていることを特徴とする、請求項1に記載のスパウト付きパウチ。
【請求項6】
前記誘導表示部が指のイラストであることを特徴とする、請求項1に記載のスパウト付きパウチ。
発明の詳細な説明
【技術分野】
【0001】
本開示は、液剤が充填されるスパウト付きパウチに関する。
続きを表示(約 1,200 文字)
【背景技術】
【0002】
従来から、例えば除菌剤や洗剤などの液剤を、プラスチック製のボトルに充填した製品が販売されている。また近年はプラスチック削減の観点から、前記ボトルに詰め替えるための液剤をパウチに充填したもの(いわゆる詰め替え用パウチ)が販売されている。この詰め替え用パウチは、近年ではコストパフォーマンスの点で、複数回分(ボトル複数本分)を充填した大型のものが主流になっている。
【0003】
このような大型のパウチにおいては、液剤の量が多く重量も重いため、ボトルに詰め替える際に、使用者が液剤の流出の勢いをコントロールしにくいという課題がある。このため、たとえば詰め替えの際に液剤が勢いよく出てしまい、ボトルからこぼれてしまうという問題が生じていた。
【0004】
この点、特許文献1は、パウチの出口部に流路を制限する機構を設け、そこを指で押さえることにより、液剤の勢いを制御する構造を開示している。
【0005】
しかしながら、特許文献1の構成において、流路を制限する機構を設けた意図などを全ての使用者が認識し得るとは言えないし、当該機構の形状や作用などを使用者が直観的に理解できるとも言えない。このため、使用者が指で押さえることをせずに、あるいは不適切な押さえ方をしてしまい、結果的に作用効果が得られない場合がある。
【0006】
また特許文献2は、使用者が液剤を流出させる際に指で押さえる位置を示すマークとして操作位置表示部を付けた構成を開示している。
【先行技術文献】
【特許文献】
【0007】
特開2017-65747号公報
特開2014-118195号公報
【発明の概要】
【発明が解決しようとする課題】
【0008】
ところで、特許文献2は液剤の逆流を防止するための逆止弁を設け、逆止弁のフラップを押す位置を示すために円形の操作位置表示部を設けている。ここで、本願発明者らの検討によれば、特許文献2のような円形の操作位置表示部を設けた場合、使用者は、指の「先端」で押さえることが多い。特許文献2のようにフラップを押す構成であれば、指の先端で押さえたとしても問題なく逆止弁を操作することができる。
【0009】
一方、本願発明者らの検討によれば、特許文献1のような構成において、使用者が流路を制限する機構を指の「先端」で押さえた場合、液剤の流れを十分に止めることができない場合がある。すなわち、特許文献1の構成では、使用者がどのように指で押さえるかによって、液剤を止める効果が大きく異なることになる。
【課題を解決するための手段】
【0010】
本発明は、上記の事情に鑑み、流路制御機構を有するスパウト付きパウチにおいて、どこをどのように押さえたら良いかを使用者が直観的に理解し易いパウチを提供することを目的とする。
(【0011】以降は省略されています)
この特許をJ-PlatPat(特許庁公式サイト)で参照する
関連特許
フマキラー株式会社
人体用害虫忌避剤
25日前
フマキラー株式会社
原状回復方法及び害獣駆除方法
6日前
フマキラー株式会社
動物忌避用定量噴射型エアゾール製品及び動物忌避方法
11日前
フマキラー株式会社
網戸用薬剤揮散具
5日前
フマキラー株式会社
人体用害虫忌避剤乳化組成物
29日前
フマキラー株式会社
動物忌避剤、動物忌避用エアゾール製品、動物忌避用器具、動物忌避用錠剤及び動物忌避方法
13日前
個人
収容箱
3か月前
個人
コンベア
5か月前
個人
容器
9か月前
個人
ゴミ収集器
7か月前
個人
段ボール箱
7か月前
個人
段ボール箱
7か月前
個人
楽ちんハンド
5か月前
個人
角筒状構造体
5か月前
個人
土嚢運搬器具
8か月前
個人
宅配システム
7か月前
個人
バンド
2か月前
個人
廃棄物収容容器
2か月前
個人
コード類収納具
8か月前
個人
お薬の締結装置
6か月前
個人
包装容器
1か月前
個人
閉塞装置
10か月前
株式会社和気
包装用箱
9か月前
株式会社コロナ
梱包材
5か月前
個人
蓋閉止構造
4か月前
株式会社和気
包装用箱
7日前
株式会社バンダイ
物品
27日前
個人
積み重ね用補助具
3か月前
個人
ゴミ処理機
9か月前
個人
把手付米袋
4か月前
個人
蓋閉止構造
4か月前
個人
貯蔵サイロ
7か月前
株式会社新弘
容器
3か月前
株式会社イシダ
搬送装置
6か月前
三甲株式会社
容器
11日前
個人
搬送システム
6か月前
続きを見る
他の特許を見る