TOP
|
特許
|
意匠
|
商標
特許ウォッチ
Twitter
他の特許を見る
10個以上の画像は省略されています。
公開番号
2025135991
公報種別
公開特許公報(A)
公開日
2025-09-19
出願番号
2024034118
出願日
2024-03-06
発明の名称
電解コンデンサおよび電解コンデンサの製造方法
出願人
ルビコン株式会社
代理人
弁理士法人綿貫国際特許・商標事務所
主分類
H01G
9/008 20060101AFI20250911BHJP(基本的電気素子)
要約
【課題】着色物質を含有する絶縁膜によって被覆された部材を有する電解コンデンサにおいて、電解質成分の化成性が安定して十分な酸化皮膜修復性能を備えた電解コンデンサおよびその製造方法を提供する。
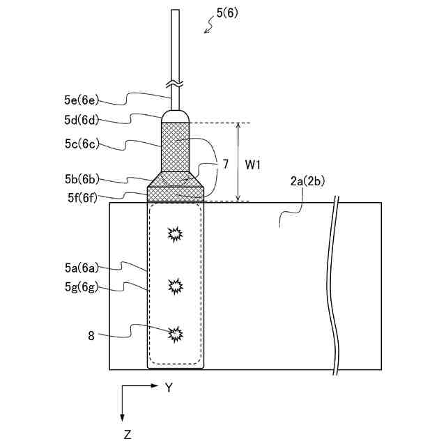
【解決手段】本発明に係る電解コンデンサ(例えば、固体電解コンデンサ1)は、電極箔2a、2bの一部の表面、または、端子(例えば、リード端子5、6)および端子固定部材の少なくとも一方の部材の一部もしくは全部の表面が、絶縁性樹脂で形成された絶縁膜7によって被覆され、前記絶縁膜7は、該絶縁膜を色覚により識別可能にする着色物質を少なくとも一種類含有し、前記着色物質は、共役二重結合を有する主骨格と、ヒドロキシ基、アルコキシ基、およびケトン基の少なくとも一つの化学構造を有する置換基と、を有し、該置換基はヒドロキシ基、アルコキシ基、およびケトン基以外で電荷を帯びた化学構造を有しない化合物である。
【選択図】図8
特許請求の範囲
【請求項1】
電極箔の一部の表面、または、端子および端子固定部材の少なくとも一方の部材の一部もしくは全部の表面が、絶縁性樹脂で形成された絶縁膜によって被覆され、
前記絶縁膜は、該絶縁膜を色覚により識別可能にする着色物質を少なくとも一種類含有し、
前記着色物質は、共役二重結合を有する主骨格と、ヒドロキシ基、アルコキシ基、およびケトン基の少なくとも一つの化学構造を有する置換基と、を有し、該置換基はヒドロキシ基、アルコキシ基、およびケトン基以外で電荷を帯びた化学構造を有しない化合物であること
を特徴とする電解コンデンサ。
続きを表示(約 770 文字)
【請求項2】
前記着色物質は、蛍光物質であること
を特徴とする請求項1記載の電解コンデンサ。
【請求項3】
前記主骨格は、スチルベン骨格、クマリン骨格、ナフタレン骨格、アントラセン骨格、キノン骨格、アントラキノン骨格、スチレン骨格、ベンゾイン骨格、ベンゾピリリウム骨格、またはアントシアニジン骨格であること
を特徴とする請求項1記載の電解コンデンサ。
【請求項4】
前記着色物質は、ヒドロキシクマリン、ウンベリフェロン、ジヒドロキシクマリン、エスクレチン、トリヒドロキシクマリン、ヒドロキシスチルベン、ジヒドロキシスチルベン、トリヒドロキシスチルベン、およびアントシアニン類、ならびにこれらの誘導体からなる群より選択される化合物であること
を特徴とする請求項1記載の電解コンデンサ。
【請求項5】
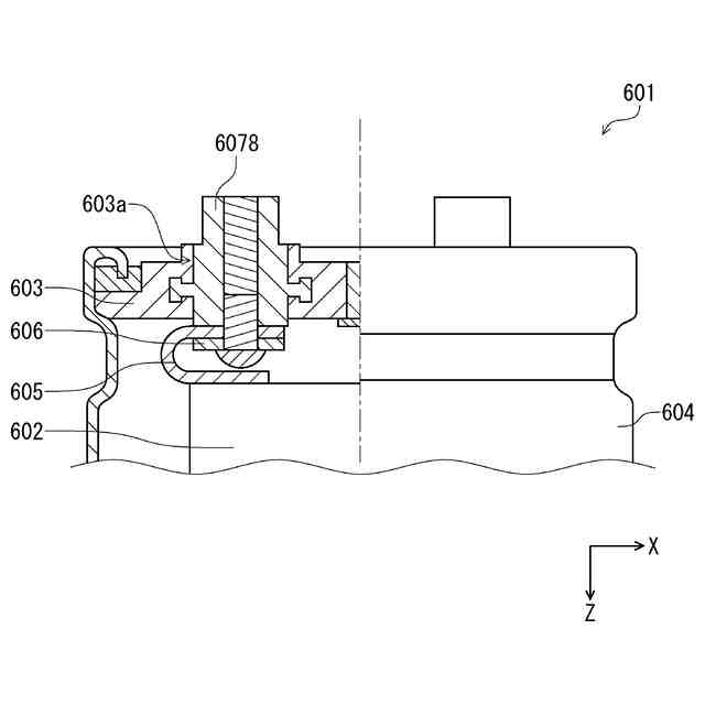
前記端子は、基端側から、前記電極箔に接合する扁平部と、第1段差部と、丸棒部と、第2段差部と、引出端子とが連なって構成されるリード端子であって、
前記絶縁膜が、前記リード端子における、前記扁平部の端部、前記第1段差部および前記丸棒部に亘る領域に形成されていること
を特徴とする請求項1記載の電解コンデンサ。
【請求項6】
固体電解コンデンサであること
を特徴とする請求項1記載の電解コンデンサ。
【請求項7】
極性溶媒に前記絶縁性樹脂および前記着色物質を溶解または分散させた塗布液を、前記電極箔の一部の表面、または、前記端子および前記端子固定部材の少なくとも一方の部材の一部もしくは全部の表面に塗布して前記絶縁膜を形成すること
を特徴とする請求項1~6のいずれか一項に記載の電解コンデンサの製造方法。
発明の詳細な説明
【技術分野】
【0001】
本発明は電解コンデンサおよび電解コンデンサの製造方法に関する。
続きを表示(約 1,800 文字)
【背景技術】
【0002】
電解コンデンサは、誘電体層としての酸化皮膜が形成された陽極箔と、陰極箔とにそれぞれ接合された端子を備え、陽極箔と陰極箔との間にセパレータが配設されたコンデンサ素子内に、電解質が導入されている構成である。電解質には、固体電解質と非固体電解質とがあり、固体電解質が導入されている電解コンデンサは、特に「固体電解コンデンサ」と呼称されることがある。ただし、この「固体電解コンデンサ」は、少なくとも固体電解質が導入されている電解コンデンサのことであり、固体電解質と共に、電解液(非固体電解質)および/または所定の機能性液体が導入され、固体電解質の利点に加えて、非固体電解質の利点および/または機能性液体の利点が付加された所謂「ハイブリッドタイプ」も含まれる。
【0003】
電解コンデンサは、端子の形態によって、リード端子形、基板自立形、ネジ端子形等のタイプが存在する。これらのいずれのタイプであっても、コンデンサ素子を収容するケースを封口する封口体の貫通穴を通ってコンデンサ素子と外部の電気回路とを電気的に接続させる端子と、貫通穴との隙間を通して漏液が起こり得ることから、当該隙間の形成乃至拡大を防止する必要がある。
【0004】
また、電解コンデンサは、端子および/または端子固定部材に電解質が付着することで生じる漏れ電流の抑制も課題である。例えば上記のような隙間の形成乃至拡大によって、端子等に電解質が付着しやすくなる。端子と封口体との隙間の形成乃至拡大は、電解コンデンサの使用おけるはんだ付け等のような熱ストレスその他機械的ストレスによって起こり得る。また、電解コンデンサの製造工程において電解質を導入する際にも、端子等に電解質が付着しやすい。さらに、導電性高分子等のような固体電解質が一旦端子等に付着すると、流れ落ちにくく残存しやすい。そのため、端子等を介した漏れ電流の抑制は、特に固体電解コンデンサにおいて課題になる。
【0005】
このような端子と封口体との隙間の形成乃至拡大を防止し、ひいては漏液を防止し、漏れ電流を抑制することを目的として、特許文献1(特開2019-201109号公報)では、端子表面の所定領域に樹脂からなる絶縁膜を形成することが提案されている。
【先行技術文献】
【特許文献】
【0006】
特開2019-201109号公報
【発明の概要】
【発明が解決しようとする課題】
【0007】
特許文献1に例示されるように、端子表面の所定領域を絶縁膜で被覆することにより、封口体との隙間を塞ぎ、また、封口体との熱膨張差を小さくして隙間の形成乃至拡大を抑制することができる。絶縁膜は、溶媒に絶縁性樹脂を溶解または分散させた塗布液を、端子表面に塗布することで形成される。その際、塗布状態を判定するマーカーとして、塗布液に着色物質が配合されることがあった。しかしながら、着色物質によっては、電解コンデンサ特性への悪影響、具体的には電極箔の酸化皮膜修復性能を発揮する電解質成分の化成性を低下させてしまうことがあった。
【0008】
ところで、近年では労働環境上の観点等から、有機溶媒から水系溶媒へのシフトが求められている。そこで、上記の塗布液においても、水系溶媒等のような極性溶媒を使用する場合、溶媒への溶解時もしくは分散時にまたは塗布後の乾燥後に透明色となって、マーカーを必要とする樹脂はより多くなる。また、マーカーについても、極性溶媒に馴染ませるために、これまで通常使用されなかった着色物質の使用についての検討が必要になる。そこで、着色物質の適性が容易に判別可能で、適正な着色物質によって電解質成分の化成性が安定して十分な酸化皮膜修復性能を発揮し得る電解コンデンサが求められていた。
【課題を解決するための手段】
【0009】
本発明は、上記事情に鑑みてなされ、着色物質を含有する絶縁膜によって被覆された部材を有する電解コンデンサにおいて、電解質成分の化成性が安定して十分な酸化皮膜修復性能を備えた電解コンデンサおよびその製造方法を提供することを目的とする。
【0010】
本発明は、一実施形態として以下に記載するような解決手段により、前記課題を解決する。
(【0011】以降は省略されています)
この特許をJ-PlatPat(特許庁公式サイト)で参照する
関連特許
ルビコン株式会社
二次電池およびバッテリー内蔵式デバイス
5日前
ルビコン株式会社
電解コンデンサおよび電解コンデンサの製造方法
4日前
ルビコン株式会社
温度センサ、並びに、温度検出回路及び温度検出方法
11日前
個人
安全なNAS電池
25日前
東レ株式会社
多孔質炭素シート
20日前
個人
フリー型プラグ安全カバー
1か月前
日本発條株式会社
積層体
1日前
個人
防雪防塵カバー
1日前
エイブリック株式会社
半導体装置
22日前
エイブリック株式会社
半導体装置
22日前
ローム株式会社
半導体装置
20日前
キヤノン株式会社
電子機器
20日前
個人
半導体パッケージ用ガラス基板
今日
オムロン株式会社
電磁継電器
29日前
ニチコン株式会社
コンデンサ
13日前
ニチコン株式会社
コンデンサ
13日前
株式会社GSユアサ
蓄電装置
28日前
株式会社GSユアサ
蓄電装置
1か月前
東レ株式会社
ガス拡散層の製造方法
20日前
株式会社ティラド
面接触型熱交換器
12日前
株式会社GSユアサ
蓄電装置
1日前
株式会社GSユアサ
蓄電装置
1か月前
沖電気工業株式会社
アンテナ
1か月前
日本特殊陶業株式会社
保持装置
1日前
トヨタ自動車株式会社
蓄電装置
1か月前
ローム株式会社
電子装置
1日前
株式会社ヨコオ
コネクタ
22日前
マクセル株式会社
配列用マスク
12日前
株式会社カネカ
二次電池
1か月前
日本特殊陶業株式会社
保持装置
27日前
トヨタ自動車株式会社
二次電池
1日前
トヨタ自動車株式会社
電池パック
5日前
ローム株式会社
半導体装置
1日前
株式会社デンソー
電子装置
1日前
住友電装株式会社
コネクタ
1日前
住友電装株式会社
コネクタ
1日前
続きを見る
他の特許を見る