TOP
|
特許
|
意匠
|
商標
特許ウォッチ
Twitter
他の特許を見る
公開番号
2025138213
公報種別
公開特許公報(A)
公開日
2025-09-25
出願番号
2024037173
出願日
2024-03-11
発明の名称
二次電池およびバッテリー内蔵式デバイス
出願人
ルビコン株式会社
代理人
IAT弁理士法人
主分類
H01M
10/054 20100101AFI20250917BHJP(基本的電気素子)
要約
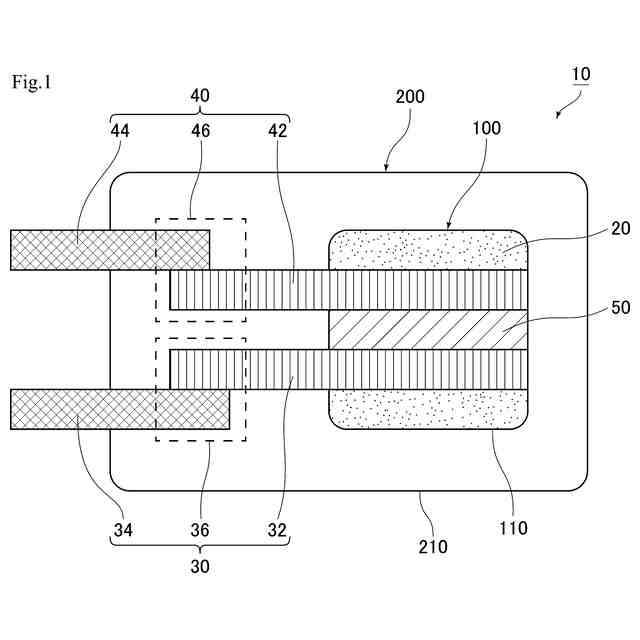
【課題】電解液と接触する電極本体部と、電極本体部と二次電池外部の各種機器との電気的接続に用いられる外部端子との接続安定性に優れると共に、電解液の液漏れをより抑制すること。
【解決手段】電解液と、電極本体部32、42と電極外部端子34、44とが重なり合うように接続された電極接続部36、46を有する一対の電極(正極、負極)と、電解液および電極本体部32、42(但し、電極接続部36、46の近傍を少なくとも除いた部分)、を内包する第一密閉部材と、外殻部材210から構成され、第一密閉部材および電極接続部36、46の近傍を内包する第二密閉部材200と、を備え、電極接続部36、46の電極本体部32、42側の面および電極外部端子34、44側の面が外殻部材210により押圧されている二次電池。
【選択図】図2
特許請求の範囲
【請求項1】
(A)電解液と、
(B)正極本体部、および、正極外部端子を含み、前記正極本体部の一端側と前記正極外部端子の一端側とが重なり合うように接続された正極接続部を有する正極と、
(C)負極本体部、および、負極外部端子を含み、前記負極本体部の一端側と前記負極外部端子の一端側とが重なり合うように接続された負極接続部を有する負極と、
(D)前記電解液、前記正極本体部(但し、前記正極接続部の近傍を少なくとも除いた部分)、および、前記負極本体部(但し、前記負極接続部の近傍を少なくとも除いた部分)、を少なくとも内包する第一密閉部材と、
(E)外殻部材から構成され、
前記第一密閉部材、前記正極接続部の近傍、および、前記負極接続部の近傍、を少なくとも内包する第二密閉部材と、
を少なくとも備え、
(F1)前記正極接続部の前記正極本体部側の面および前記正極外部端子側の面が前記外殻部材により押圧され、
(F2)前記負極接続部の前記負極本体部側の面および前記負極外部端子側の面が前記外殻部材により押圧されている、
二次電池。
続きを表示(約 460 文字)
【請求項2】
前記正極本体部が、グラファイトシートからなるシート状正極集電体を含み、
前記正極接続部が、前記シート状正極集電体の一端側と前記正極外部端子の一端側とが重なり合うように接続された接続部である請求項1に記載の二次電池。
【請求項3】
アルミニウムイオン電池である請求項1または2に記載の二次電池。
【請求項4】
前記正極外部端子および前記負極外部端子が金属部材から構成され、
前記正極外部端子を構成する金属部材、および、前記負極外部端子を構成する金属部材から選択される少なくとも一方の金属部材が、前記電解液に対して腐食性の材料からなる請求項1または2に記載の二次電池。
【請求項5】
前記外殻部材がシート状部材から構成され、
前記第一密閉部材と前記第二密閉部材との間には、実質的に空気が含まれない請求項1または2に記載の二次電池。
【請求項6】
請求項1または2に記載の二次電池を備えるバッテリー内蔵式デバイス。
発明の詳細な説明
【技術分野】
【0001】
本発明は二次電池およびバッテリー内蔵式デバイスに関するものである。
続きを表示(約 1,600 文字)
【背景技術】
【0002】
繰り返し充放電が可能な二次電池として、現在、リチウムイオン電池が各種用途において幅広く利用されている。また、次世代の二次電池としてアルミニウムイオン電池などの新たなタイプの二次電池の開発も進められている。リチウムイオン電池等の各種二次電池としては様々な技術が提案されている。たとえば、特許文献1では、集電体と、集電体に取り付けられると共にハウジングの外側にも突出するように配置されたタブとの物性が異なる場合に両者を接合することが難しくなるという問題を改善する技術が提案されている。
【先行技術文献】
【特許文献】
【0003】
特表2011-514639号公報
【発明の概要】
【発明が解決しようとする課題】
【0004】
一方、二次電池から電解液が漏れると、二次電池の性能低下や故障の原因となるのみならず、漏れた電解液が二次電池の周辺部を汚染したり、漏れた電解液が引火性成分を含む場合においては火災事故を引き起こすこともある。このため、二次電池においては、電解液の液漏れを防止することも重要である。
【0005】
本発明は上記事情に鑑みてなされたものであり、電解液と接触する電極本体部と、電極本体部と二次電池外部の各種機器との電気的接続に用いられる外部端子との接続安定性に優れると共に、電解液の液漏れをより抑制できる二次電池およびこれを用いたバッテリー内蔵式デバイスを提供することを課題とする。
【課題を解決するための手段】
【0006】
上記課題は以下の本発明により達成される。すなわち、
本発明の二次電池は、(A)電解液と、(B)正極本体部、および、正極外部端子を含み、前記正極本体部の一端側と前記正極外部端子の一端側とが重なり合うように接続された正極接続部を有する正極と、(C)負極本体部、および、負極外部端子を含み、前記負極本体部の一端側と前記負極外部端子の一端側とが重なり合うように接続された負極接続部を有する負極と、(D)前記電解液、前記正極本体部(但し、前記正極接続部の近傍を少なくとも除いた部分)、および、前記負極本体部(但し、前記負極接続部の近傍を少なくとも除いた部分)、を少なくとも内包する第一密閉部材と、(E)外殻部材から構成され、前記第一密閉部材、前記正極接続部の近傍、および、前記負極接続部の近傍、を少なくとも内包する第二密閉部材と、を少なくとも備え、(F1)前記正極接続部の前記正極本体部側の面および前記正極外部端子側の面が前記外殻部材により押圧され、(F2)前記負極接続部の前記負極本体部側の面および前記負極外部端子側の面が前記外殻部材により押圧されている。
【0007】
本発明の二次電池の一実施形態は、前記正極本体部が、グラファイトシートからなるシート状正極集電体を含み、前記正極接続部が、前記シート状正極集電体の一端側と前記正極外部端子の一端側とが重なり合うように接続された接続部であることが好ましい。
【0008】
本発明の二次電池の他の実施形態は、アルミニウムイオン電池であることが好ましい。
【0009】
本発明の二次電池の他の実施形態は、前記正極外部端子および前記負極外部端子が金属部材から構成され、前記正極外部端子を構成する金属部材、および、前記負極外部端子を構成する金属部材から選択される少なくとも一方の金属部材が、前記電解液に対して腐食性の材料からなることが好ましい。
【0010】
本発明の二次電池の他の実施形態は、前記外殻部材がシート状部材から構成され、前記第一密閉部材と前記第二密閉部材との間には、実質的に空気が含まれないことが好ましい。
(【0011】以降は省略されています)
この特許をJ-PlatPat(特許庁公式サイト)で参照する
関連特許
ルビコン株式会社
二次電池およびバッテリー内蔵式デバイス
9日前
ルビコン株式会社
電解コンデンサおよび電解コンデンサの製造方法
8日前
ルビコン株式会社
電解コンデンサおよび電解コンデンサの製造方法
15日前
ルビコン株式会社
温度センサ、並びに、温度検出回路及び温度検出方法
15日前
個人
安全なNAS電池
29日前
個人
フリー型プラグ安全カバー
1か月前
東レ株式会社
多孔質炭素シート
24日前
日本発條株式会社
積層体
5日前
キヤノン株式会社
電子機器
24日前
ローム株式会社
半導体装置
3日前
ローム株式会社
半導体装置
24日前
ローム株式会社
半導体装置
1日前
エイブリック株式会社
半導体装置
26日前
エイブリック株式会社
半導体装置
26日前
ローム株式会社
半導体装置
3日前
ローム株式会社
半導体装置
3日前
個人
防雪防塵カバー
5日前
ニチコン株式会社
コンデンサ
17日前
太陽誘電株式会社
全固体電池
1日前
ニチコン株式会社
コンデンサ
17日前
株式会社GSユアサ
蓄電装置
1か月前
株式会社ホロン
冷陰極電子源
1日前
株式会社GSユアサ
蓄電装置
1日前
オムロン株式会社
電磁継電器
1か月前
株式会社GSユアサ
蓄電装置
5日前
東レ株式会社
ガス拡散層の製造方法
24日前
沖電気工業株式会社
アンテナ
1か月前
個人
半導体パッケージ用ガラス基板
4日前
株式会社ティラド
面接触型熱交換器
16日前
日本特殊陶業株式会社
保持装置
3日前
株式会社ヨコオ
コネクタ
26日前
TDK株式会社
電子部品
1日前
日本特殊陶業株式会社
保持装置
1か月前
トヨタ自動車株式会社
二次電池
5日前
日本特殊陶業株式会社
保持装置
5日前
マクセル株式会社
配列用マスク
16日前
続きを見る
他の特許を見る