TOP
|
特許
|
意匠
|
商標
特許ウォッチ
Twitter
他の特許を見る
10個以上の画像は省略されています。
公開番号
2025135245
公報種別
公開特許公報(A)
公開日
2025-09-18
出願番号
2024032986
出願日
2024-03-05
発明の名称
開口部明示部材
出願人
株式会社東芝
代理人
弁理士法人酒井国際特許事務所
主分類
E04G
21/32 20060101AFI20250910BHJP(建築物)
要約
【課題】開口部の周囲に配置される配置スペースを低減できる開口部明示部材を提供することである。
【解決手段】本実施形態に係る開口部明示部材は、フリーアクセスフロアに形成される開口の輪郭を少なくとも一部形成する床板に設けられる開口部明示部材であって、床板に対して、少なくとも2か所で固定される固定部と、固定部に接続され、開口の周囲を囲むための囲い材を支持する支柱と、を有し、固定部は、支柱を挟んで両側に位置する支持部を有する。
【選択図】図1
特許請求の範囲
【請求項1】
フリーアクセスフロアに形成される開口の輪郭を少なくとも一部形成する床板に設けられる開口部明示部材であって、
前記床板に対して、少なくとも2か所で固定される固定部と、
前記固定部に接続され、前記開口の周囲を囲むための囲い材を支持する支柱と、を有し、
前記固定部は、前記支柱を挟んで両側に位置する支持部を有する、
開口部明示部材。
続きを表示(約 750 文字)
【請求項2】
前記固定部は、前記床板の上面に当接するベース部と、前記床板の下面に当接する前記支持部と、を有する、
請求項1に記載の開口部明示部材。
【請求項3】
前記支持部は、前記床板の上面及び下面を挟むことで固定される、
請求項2に記載の開口部明示部材。
【請求項4】
前記支持部は、前記床板の挟み込み量を調節可能なボルトを有する、
請求項3に記載の開口部明示部材。
【請求項5】
フリーアクセスフロアに形成される開口の輪郭を少なくとも一部形成する床板に設けられる開口部明示部材であって、
前記床板の上面に吸着させることで固定される固定部と、
前記固定部に接続され、前記開口の周囲を囲むための囲い材を支持する支柱と、を有する、
開口部明示部材。
【請求項6】
前記床板は、金属の材料を含み、
前記固定部は、磁性材を含み、前記床板の上面に吸着させることで固定される、
請求項1または5に記載の開口部明示部材。
【請求項7】
前記固定部は、前記床板の上面及び下面を挟むことで固定される、
請求項5に記載の開口部明示部材。
【請求項8】
前記支柱は、前記固定部に向けて伸縮可能な、
請求項1または請求項5に記載の開口部明示部材。
【請求項9】
前記支柱の上部は、前記囲い材の延長方向を変更させるスリットが設けられる、
請求項1または請求項5に記載の開口部明示部材。
【請求項10】
前記固定部は、前記下面にゴムシートが貼付される、
請求項2または請求項7に記載の開口部明示部材。
発明の詳細な説明
【技術分野】
【0001】
本発明の実施形態は、開口部明示部材に関する。
続きを表示(約 1,800 文字)
【背景技術】
【0002】
従来、オフィスや機械室の床を二重床とすることで、床下に配線や空調設備などを格納することができる。床上に配線等が露出しないことにより屋内レイアウトの柔軟性が向上し機能的な設備運用が可能となる。この二重床構造をフリーアクセスフロアと呼ぶ。フリーアクセスフロア内の配線や機器据付時にはフロアパネルを部分的に取り外すこととなるが、フリーアクセスフロアの高さは300mm以上となる場合もある。パネル取り外し時の床上の開口部には囲い柵を設け、注意喚起を行っている。
【0003】
開口部周辺にパイロンやコーンバーを設置し、作業員や第三者が誤って立ち入ることが無いように明示し区画措置をとる方法が一般的である。しかし、狭小なサーバ室等ではパイロンを設置してしまうと、十分な作業スペースや通路を確保することが難しい場合がある。また、取り外すパネルが、必ずしも規則的であるとは限らないため、開口部の形状によっては区画措置に多くのパイロンやコーンバーが必要となり作業効率性が著しく低下する場合がある。
【先行技術文献】
【特許文献】
【0004】
特開2012-202148号公報
登実第3032444号公報
特開2011-052456号公報
特開2020-172804号公報
【発明の概要】
【発明が解決しようとする課題】
【0005】
本発明が解決しようとする課題の一例は、フリーアクセスフロアに形成される開口の輪郭に配置される配置スペースを低減できる開口部明示部材を提供することである。
【課題を解決するための手段】
【0006】
実施形態の開口部明示部材は、フリーアクセスフロアに形成される開口の輪郭を少なくとも一部形成する床板に設けられる開口部明示部材であって、床板に対して、少なくとも2か所で固定される固定部と、固定部に接続され、開口の周囲を囲むための囲い材を支持する支柱と、を有し、固定部は、前記支柱を挟んで両側に位置する支持部を有する。
【図面の簡単な説明】
【0007】
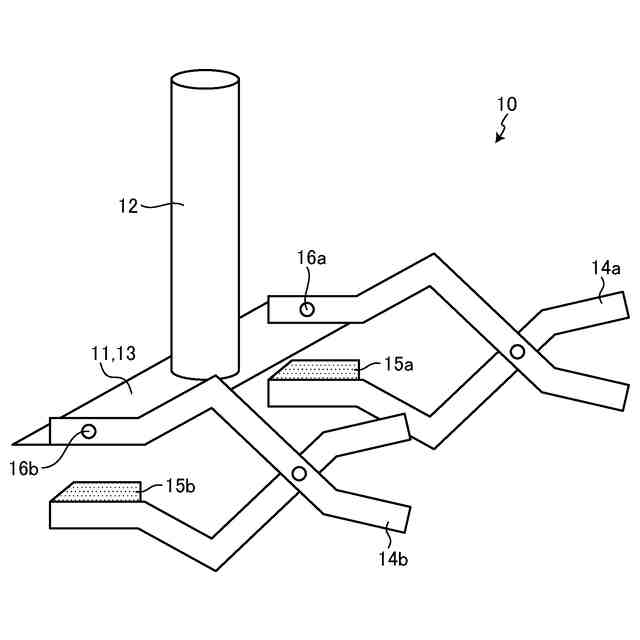
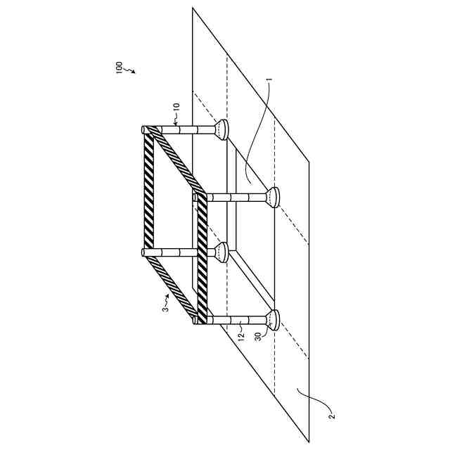
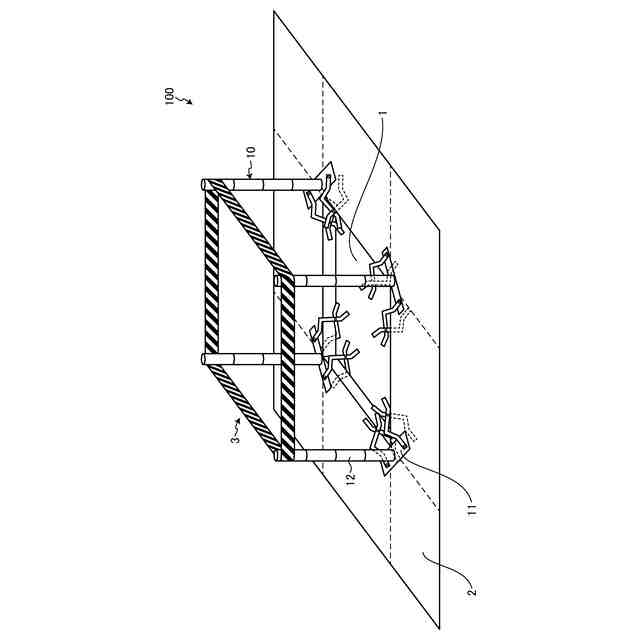
図1は、本実施形態の開口部明示部材に係る概要図である。
図2は、本実施形態の開口部明示部材に係る固定部を示す図である。
図3は、本実施形態の開口部明示部材に係る支柱を示す図である。
図4は、本実施形態2の開口部明示部材に係る固定部を示す図である。
図5は、本実施形態の開口部明示部材に係る平面図である。
図6は、本実施形態3の開口部明示部材に係る概要図である。
図7は、本実施形態3の開口部明示部材に係る固定部を示す図である。
図8は、本実施形態4の開口部明示部材に係る固定部を示す図である。
図9は、本実施形態3の開口部明示部材に係る平面図である。
図10は、本実施形態5の開口部明示部材に係る固定部を示す図である。
【発明を実施するための形態】
【0008】
以下、本実施形態の開口部明示部材10に関して図面を参照して説明する。以下に記載する実施形態の構成、並びに当該構成によってもたらされる作用及び結果(効果)は、あくまで一例であって、以下の記載内容に限られるものではない。なお、本明細書では、序数は、部品や部材を区別するためだけに用いられており、順番や優先度を示すものではない。
【0009】
図1は、本実施形態の開口部明示部材10に係る概要図である。図1に示した様に、開口部明示部材の全体100は、例えば、フリーアクセスフロア2と、フリーアクセスフロア2の下方空間と、フリーアクセスフロア2に形成される開口部1と、開口部明示部材10と、複数の開口部明示部材10同士に亘って設けられる開口部1を囲むための囲い材(注意喚起テープ)3と、を有する。
【0010】
フリーアクセスフロア2は、例えば、複数枚のフロアパネルが設置されることで形成されている。そして、フリーアクセスフロア2の下方空間には、配線等の配索空間が設けられている二重底である。フリーアクセスフロア2は、床下空間の底面に配置される複数の支持具によって支えられている。フリーアクセスフロア2は、屋外の路面であっても良い。
(【0011】以降は省略されています)
この特許をJ-PlatPat(特許庁公式サイト)で参照する
関連特許
株式会社東芝
固定子
2か月前
株式会社東芝
センサ
28日前
株式会社東芝
センサ
28日前
株式会社東芝
モータ
23日前
株式会社東芝
センサ
1か月前
株式会社東芝
金型構造
28日前
株式会社東芝
吸音装置
23日前
株式会社東芝
電子装置
22日前
株式会社東芝
電子回路
3日前
株式会社東芝
電子装置
7日前
株式会社東芝
半導体装置
3日前
株式会社東芝
半導体装置
1か月前
株式会社東芝
粒子加速器
22日前
株式会社東芝
半導体装置
7日前
株式会社東芝
電動送風機
1か月前
株式会社東芝
半導体装置
7日前
株式会社東芝
半導体装置
7日前
株式会社東芝
半導体装置
10日前
株式会社東芝
半導体装置
9日前
株式会社東芝
半導体装置
8日前
株式会社東芝
真空バルブ
8日前
株式会社東芝
半導体装置
9日前
株式会社東芝
半導体装置
9日前
株式会社東芝
半導体装置
9日前
株式会社東芝
半導体装置
3日前
株式会社東芝
半導体装置
3日前
株式会社東芝
真空バルブ
2日前
株式会社東芝
半導体装置
25日前
株式会社東芝
半導体装置
25日前
株式会社東芝
半導体装置
25日前
株式会社東芝
半導体装置
25日前
株式会社東芝
半導体装置
25日前
株式会社東芝
半導体装置
25日前
株式会社東芝
半導体装置
1か月前
株式会社東芝
ラック装置
1か月前
株式会社東芝
半導体装置
25日前
続きを見る
他の特許を見る