TOP
|
特許
|
意匠
|
商標
特許ウォッチ
Twitter
他の特許を見る
10個以上の画像は省略されています。
公開番号
2025133855
公報種別
公開特許公報(A)
公開日
2025-09-11
出願番号
2025112707,2023565786
出願日
2025-07-03,2021-12-08
発明の名称
サーバ内データ転送装置、サーバ内データ転送方法およびプログラム
出願人
NTT株式会社
代理人
弁理士法人磯野国際特許商標事務所
主分類
G06F
13/10 20060101AFI20250904BHJP(計算;計数)
要約
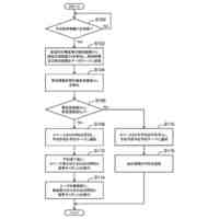
【課題】物理サーバに搭載されたアクセラレータリソースを複数のアプリケーションで使用する際、アクセラレータからアプリケーションへのデータ転送遅延を抑えつつ、データのポーリングに用いるCPUの消費電力を削減する。
【解決手段】アクセラレータを含むデバイスをアプリケーションで使用する際、デバイスからアプリケーションへのデータ転送を行うサーバ内データ転送装置100であって、デバイスの物理キューの代わりとなる仮想キューを用いて、デバイスと、アプリケーションに対応するスレッドとの間の結合を分離し、デバイスに代わって、スレッドからのデータ要求に対応するデータを応答するデバイス擬似部130と、仮想キューと物理キューの間を動的に接続変更するプロキシ部140と、を備える。
【選択図】図1
特許請求の範囲
【請求項1】
アクセラレータを含むデバイスをアプリケーションで使用する際、前記デバイスから前記アプリケーションへのデータ転送を行うサーバ内データ転送装置であって、
前記デバイスの物理キューの代わりとなる仮想キューを用いて、前記デバイスと、前記アプリケーションに対応するスレッドとの間の結合を分離し、前記デバイスに代わって、スレッドからのデータ要求に対応するデータを応答するデバイス擬似部と、
前記仮想キューと前記物理キューの間を動的に接続変更するプロキシ部と、を備える
ことを特徴とするサーバ内データ転送装置。
続きを表示(約 830 文字)
【請求項2】
前記プロキシ部は、前記デバイスの物理キューの代わりとなる1またはM個の仮想キューと、前記デバイスの1またはN個の物理キューとの間をM:N(NおよびMは、任意の自然数)の多対多接続する
ことを特徴とする請求項1記載のサーバ内データ転送装置。
【請求項3】
前記プロキシ部は、前記デバイスの物理キューの代わりとなる1または複数個の仮想キューと、前記デバイスの1または複数個の物理キューとの間の接続先を動的に接続変更する
ことを特徴とする請求項1記載のサーバ内データ転送装置。
【請求項4】
アクセラレータを含むデバイスをアプリケーションで使用する際、前記デバイスから前記アプリケーションへのデータ転送を行うサーバ内データ転送装置のサーバ内データ転送方法であって、
前記サーバ内データ転送装置は、
前記デバイスの物理キューの代わりとなる仮想キューを用いて、前記デバイスと、前記アプリケーションに対応するスレッドとの間の結合を分離し、前記デバイスに代わって、スレッドからのデータ要求に対応するデータを応答するステップと、
前記仮想キューと前記物理キューの間を動的に接続変更するステップと、を実行する
ことを特徴とするサーバ内データ転送方法。
【請求項5】
アクセラレータを含むデバイスをアプリケーションで使用する際、前記デバイスから前記アプリケーションへのデータ転送を行うサーバ内データ転送装置としてのコンピュータに、
前記デバイスの物理キューの代わりとなる仮想キューを用いて、前記デバイスと、前記アプリケーションに対応するスレッドとの間の結合を分離し、前記デバイスに代わって、スレッドからのデータ要求に対応するデータを応答する手順、
前記仮想キューと前記物理キューの間を動的に接続変更する手順、
を実行させるためのプログラム。
発明の詳細な説明
【技術分野】
【0001】
本発明は、サーバ内データ転送装置、サーバ内データ転送方法およびプログラムに関する。
続きを表示(約 2,100 文字)
【背景技術】
【0002】
NFV(Network Functions Virtualization:ネットワーク機能仮想化)による仮想化技術の進展などを背景に、サービス毎にシステムを構築して運用することが行われている。また、上記サービス毎にシステムを構築する形態から、サービス機能を再利用可能なモジュール単位に分割し、独立した仮想マシン(VM:Virtual Machineやコンテナなど)環境の上で動作させる。
【0003】
仮想マシンを構成する技術としてLinux(登録商標)とKVM(kernel-based virtual machine)で構成されたハイパーバイザー環境が知られている。この環境では、KVMモジュールが組み込まれたHost OS(物理サーバ上にインストールされたOSをHost OSと呼ぶ)がハイパーバイザーとしてカーネル空間と呼ばれるユーザ空間とは異なるメモリ領域で動作する。この環境においてユーザ空間にて仮想マシンが動作し、その仮想マシン内にGuest OS(仮想マシン上にインストールされたOSをGuest OSと呼ぶ)が動作する。
【0004】
Guest OSが動作する仮想マシンは、Host OSが動作する物理サーバとは異なり、(イーサネット(登録商標)カードデバイスなどに代表される)ネットワークデバイスを含むすべてのHW(hardware)が、HWからGuest OSへの割込処理やGuest OSからハードウェアへの書き込みに必要なレジスタ制御となる。このようなレジスタ制御では、本来物理ハードウェアが実行すべき通知や処理がソフトウェアで擬似的に模倣されるため、性能がHost OS環境に比べ、低いことが一般的である。
【0005】
この性能劣化において、特にGuest OSから自仮想マシン外に存在するHost OSや外部プロセスに対して、HWの模倣を削減し、高速かつ統一的なインターフェイスにより通信の性能と汎用性を向上させる技術がある。この技術として、virtioというデバイスの抽象化技術、つまり準仮想化技術が開発されており、すでにLinux(登録商標)を始め、FreeBSD(登録商標)など多くの汎用OSに組み込まれ、現在利用されている(特許文献1参照)。
【0006】
virtioでは、コンソール、ファイル入出力、ネットワーク通信といったデータ入出力に関して、転送データの単一方向の転送用トランスポートとして、リングバッファで設計されたキューによるデータ交換をキューのオペレーションにより定義している。そして、virtioのキューの仕様を利用して、それぞれのデバイスに適したキューの個数と大きさをGuest OS起動時に用意することにより、Guest OSと自仮想マシン外部との通信を、ハードウェアエミュレーションを実行せずにキューによるオペレーションだけで実現することができる。
【0007】
サーバ内のデータ転送技術としてNew API(NAPI)、DPDK(Data Plane Development Kit)、KBP(Kernel Busy Poll)がある。
【0008】
New API(NAPI)は、パケットが到着するとハードウェア割込要求の後、ソフトウェア割込要求によりパケット処理を行う。
【0009】
DPDKは、アプリケーションが動作するユーザスペースでパケット処理機能を実現し、ユーザスペースからpollingモデルでパケット到着時に即時刈取りを行う(非特許文献1参照)。詳細には、DPDKは、従来Linux kernel(登録商標)が行っていたNIC(Network Interface Card)の制御をユーザ空間で行うためのフレームワークである。Linux kernelにおける処理との最大の違いは、PMD(Pull Mode Driver)と呼ばれるポーリングベースの受信機構を持つことである。通常、Linux kernelでは、NICへのデータの到達を受けて、割込が発生し、それを契機に受信処理が実行される。一方、PMDは、データ到達の確認や受信処理を専用のスレッドが継続的に行う。コンテキストスイッチや割込などのオーバーヘッドを排除することで高速なパケット処理を行うことができる。DPDKは、パケット処理のパフォーマンスとスループットを大幅に高めて、データプレーン・アプリケーション処理に多くの時間を確保することを可能にする。ただし、DPDKは、CPU(Central Processing Unit)やNICなどのコンピュータ資源を占有的に使用する。
【0010】
非特許文献2には、サーバ内ネットワーク遅延制御装置(KBP:Kernel Busy Poll)が記載されている。KBPは、kernel内でpollingモデルによりパケット到着を常時監視する。これにより、softIRQを抑止し、低遅延なパケット処理を実現する。
(【0011】以降は省略されています)
この特許をJ-PlatPat(特許庁公式サイト)で参照する
関連特許
トヨタ自動車株式会社
貸出料金設定システム
1日前
株式会社ロケッコ
手書き地図連動型情報提供プログラム
1日前
トヨタ自動車株式会社
端末装置
1日前
日本電気株式会社
端末、端末の制御方法及びプログラム
1日前
株式会社NTTドコモ
装置及び方法
1日前
キヤノン株式会社
画像処理装置、画像処理方法及びプログラム
1日前
株式会社ゼロボード
情報処理システム、情報処理方法及びプログラム
1日前
トヨタ自動車株式会社
情報処理装置
1日前
株式会社ゼロボード
情報処理システム、情報処理方法及びプログラム
1日前
三菱電機株式会社
学習環境提案装置および学習環境提案方法
1日前
株式会社電通
魚の品質推定システム
1日前
株式会社マネースクエアHD
金融商品取引管理装置、プログラム
1日前
トヨタ自動車株式会社
搭乗予約システム
1日前
コアテック株式会社
差分検出システム及び差分検出方法
1日前
ツェー・ヨーゼフ・ラミー・ゲーエムベーハー
入力装置
1日前
株式会社大林組
運搬予約装置、運搬予約方法および運搬予約プログラム
1日前
キヤノン株式会社
情報処理装置およびその制御方法
1日前
日本電気株式会社
サーバ装置、システム、サーバ装置の制御方法及びプログラム
1日前
セーフィー株式会社
映像提供システム、映像提供方法および映像提供プログラム
1日前
トヨタ自動車株式会社
情報処理装置および情報処理システム
1日前
国立大学法人 鹿児島大学
丸太識別システム及び丸太識別方法
1日前
NTT株式会社
計算装置
1日前
AVITA株式会社
情報処理装置、情報処理プログラムおよび情報処理方法
1日前
パナソニックIPマネジメント株式会社
検出装置、及び、検出方法
1日前
株式会社メルカリ
情報処理方法、プログラム、及び情報処理装置
1日前
株式会社フォリオ
情報処理システム、情報処理方法、及びプログラム
1日前
ファインディ株式会社
プログラム、方法、情報処理装置、システム
1日前
オムロン株式会社
モデル生成方法、推論プログラム及び推論装置
1日前
トヨタ自動車株式会社
盲導犬付帯乗客検知装置及び車両制御システム
1日前
株式会社MIXI
情報処理装置およびプログラム
1日前
株式会社日立製作所
管路推定システム、管路推定方法、および管路推定プログラム
1日前
LiTAER株式会社
ポイント付与システム、ポイント付与プログラム及びポイント付与方法
1日前
株式会社マーケットヴィジョン
情報処理システム
1日前
株式会社豊田中央研究所
触覚提示装置および触覚提示装置の制御方法
1日前
カシオ計算機株式会社
電子機器、電源供給状態表示方法およびプログラム
1日前
日本電気株式会社
フライトストリップ処理システム
1日前
続きを見る
他の特許を見る