TOP
|
特許
|
意匠
|
商標
特許ウォッチ
Twitter
他の特許を見る
公開番号
2025158601
公報種別
公開特許公報(A)
公開日
2025-10-17
出願番号
2024061305
出願日
2024-04-05
発明の名称
盲導犬付帯乗客検知装置及び車両制御システム
出願人
トヨタ自動車株式会社
代理人
個人
,
個人
,
個人
,
個人
主分類
G06T
7/215 20170101AFI20251009BHJP(計算;計数)
要約
【課題】盲導犬を連れて車両の出入口に向かって移動する乗客を車両に乗車する前に検知することができる盲導犬付帯乗客検知装置を提供する。
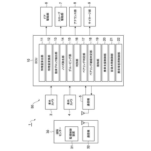
【解決手段】盲導犬付帯乗客検知装置50は、車外カメラ3の画像データを複数のブロックに区分し、ブロック毎に動き方向及び動き量を表す特徴量を算出する特徴量算出部11と、特徴量に基づいて、バス2の乗降口2aに向かって規定量以上の動きがあるブロックを動体ブロックとして抽出する動体ブロック抽出部13と、隣り合う動体ブロック同士をグルーピングすることで、乗降口2aに向かう移動体を決定するグルーピング部15と、移動体に人及び犬が含まれているかどうかを判別する判別部16と、人及び犬の双方が同一の移動体グループに属しているかどうかを判定するペアリング判定部17と、人及び犬の双方が同一の移動体グループに規定時間継続して属しているかどうかを判定するペアリング継続判定部18とを備える。
【選択図】図2
特許請求の範囲
【請求項1】
出入口を有する車両に乗客が乗車する際に、盲導犬を付帯する乗客を検知する盲導犬付帯乗客検知装置であって、
前記車両の外部における前記出入口を含む領域に存在する物体を検出する物体検出部と、
前記物体検出部の検出データを複数のブロックに区分し、前記ブロック毎に動き方向及び動き量を表す特徴量を算出する特徴量算出部と、
前記特徴量算出部により前記ブロック毎に算出された前記特徴量に基づいて、前記出入口に向かって規定量以上の動きがあるブロックを動体ブロックとして抽出する抽出部と、
前記抽出部により抽出された動体ブロックのうち隣り合う動体ブロック同士をグルーピングすることで、前記出入口に向かう移動体を決定する移動体決定部と、
前記移動体決定部により決定された移動体に人及び犬が含まれているかどうかを判別する判別部と、
前記判別部により前記移動体に人及び犬が含まれていると判別されたときに、人及び犬の双方が人及び犬をペアと認定するための同一の移動体グループに属しているかどうかを判定するペアリング判定部と、
前記ペアリング判定部により人及び犬の双方が前記同一の移動体グループに属していると判定されたときに、人及び犬の双方が前記同一の移動体グループに規定時間継続して属しているかどうかを判定するペアリング継続判定部と、
前記ペアリング継続判定部により前記人及び前記犬の双方が前記同一の移動体グループに前記規定時間継続して属していると判定されたときに、人及び犬がペアであると認定し、当該犬が前記盲導犬であると検知し、当該人が前記盲導犬を付帯した乗客であると検知する検知部とを備える盲導犬付帯乗客検知装置。
続きを表示(約 770 文字)
【請求項2】
前記特徴量算出部は、前記ブロック毎に前記特徴量として動きベクトルを算出し、
前記抽出部は、前記動きベクトルの大きさをスカラ値に変換し、前記スカラ値が予め決められた閾値以上であるブロックを前記動体ブロックとして抽出する請求項1記載の盲導犬付帯乗客検知装置。
【請求項3】
前記物体検出部は、前記車両の外部における前記出入口を含む領域を撮像するカメラであり、
前記特徴量算出部は、前記カメラの画像データを前記複数のブロックに区分した画像フレームを生成し、
前記ペアリング継続判定部は、人及び犬の双方が前記同一の移動体グループに属していると判定されたときに、前記特徴量算出部により時系列に生成された画像フレームに基づいて、人及び犬の双方が前記同一の移動体グループに属している画像フレームの数が予め決められた規定数以上であるかどうかを判定し、
前記検知部は、人及び犬の双方が前記同一の移動体グループに属している前記画像フレームの数が前記規定数以上であると判定されたときに、人及び犬がペアであると認定する請求項1記載の盲導犬付帯乗客検知装置。
【請求項4】
請求項1記載の盲導犬付帯乗客検知装置と、
前記検知部により前記人が前記盲導犬を付帯した乗客であると検知されたときに、前記盲導犬を付帯した乗客の乗車を支援する制御を行う乗車支援制御部とを備える車両制御システム。
【請求項5】
前記検知部により前記犬が前記盲導犬であると検知されたときに、前記盲導犬を刺激しない制御を行う盲導犬用制御部と、
前記検知部により前記犬が前記盲導犬でないと検知されたときに、異常事態向けの制御を行う異常事態用制御部とを更に備える請求項4記載の車両制御システム。
発明の詳細な説明
【技術分野】
【0001】
本発明は、盲導犬付帯乗客検知装置及び車両制御システムに関する。
続きを表示(約 2,000 文字)
【背景技術】
【0002】
例えば特許文献1には、マルチビームセンサによって、かごの出入口を通過する乗客の遮光情報を検出し、このマルチビームセンサによる検出結果に基づいて、出入口を通過する乗客の特徴を表す乗客画像を生成し、その乗客画像に基づいて、かごに乗り込む乗客が盲導犬を連れている盲導犬利用者であるか否かを判定する技術が記載されている。
【先行技術文献】
【特許文献】
【0003】
特開2016-3097号公報
【発明の概要】
【発明が解決しようとする課題】
【0004】
上記従来技術においては、かごの出入口を通過する乗客の特徴を表す乗客画像に基づいて、乗客が盲導犬を連れている盲導犬利用者であるか否かが判定される。このような画像処理による判定は、人工知能(AI)の一種である機械学習を用いて行うこともできる。しかしながら、上記従来技術では、かごの出入口を通過するまで、かごに乗り込む乗客が盲導犬利用者であるか否かを判定することができない。このため、例えばバス等といった乗客輸送用の車両に上記従来技術を適用した場合、盲導犬を連れて車両の出入口に向かって移動する乗客(盲導犬利用者)を、車両に乗車する前に検知することができない。
【0005】
本発明の目的は、盲導犬を連れて車両の出入口に向かって移動する乗客を車両に乗車する前に検知することができる盲導犬付帯乗客検知装置及び車両制御システムを提供することである。
【課題を解決するための手段】
【0006】
(1)本発明の一態様は、出入口を有する車両に乗客が乗車する際に、盲導犬を付帯する乗客を検知する盲導犬付帯乗客検知装置であって、車両の外部における出入口を含む領域に存在する物体を検出する物体検出部と、物体検出部の検出データを複数のブロックに区分し、ブロック毎に動き方向及び動き量を表す特徴量を算出する特徴量算出部と、特徴量算出部によりブロック毎に算出された特徴量に基づいて、出入口に向かって規定量以上の動きがあるブロックを動体ブロックとして抽出する抽出部と、抽出部により抽出された動体ブロックのうち隣り合う動体ブロック同士をグルーピングすることで、出入口に向かう移動体を決定する移動体決定部と、移動体決定部により決定された移動体に人及び犬が含まれているかどうかを判別する判別部と、判別部により移動体に人及び犬が含まれていると判別されたときに、人及び犬の双方が人及び犬をペアと認定するための同一の移動体グループに属しているかどうかを判定するペアリング判定部と、ペアリング判定部により人及び犬の双方が同一の移動体グループに属していると判定されたときに、人及び犬の双方が同一の移動体グループに規定時間継続して属しているかどうかを判定するペアリング継続判定部と、ペアリング継続判定部により人及び犬の双方が同一の移動体グループに規定時間継続して属していると判定されたときに、人及び犬がペアであると認定し、当該犬が盲導犬であると検知し、当該人が盲導犬を付帯した乗客であると検知する検知部とを備える。
【0007】
(2)上記の(1)において、特徴量算出部は、ブロック毎に特徴量として動きベクトルを算出し、抽出部は、動きベクトルの大きさをスカラ値に変換し、スカラ値が予め決められた閾値以上であるブロックを動体ブロックとして抽出してもよい。
【0008】
(3)上記の(1)または(2)において、物体検出部は、車両の外部における出入口を含む領域を撮像するカメラであり、特徴量算出部は、カメラの画像データを複数のブロックに区分した画像フレームを生成し、ペアリング継続判定部は、人及び犬の双方が同一の移動体グループに属していると判定されたときに、特徴量算出部により時系列に生成された画像フレームに基づいて、人及び犬の双方が同一の移動体グループに属している画像フレームの数が予め決められた規定数以上であるかどうかを判定し、検知部は、人及び犬の双方が同一の移動体グループに属している画像フレームの数が規定数以上であると判定されたときに、人及び犬がペアであると認定してもよい。
【0009】
(4)本発明の他の態様に係る車両制御システムは、上記の(1)~(3)の何れかの盲導犬付帯乗客検知装置と、検知部により人が盲導犬を付帯した乗客であると検知されたときに、盲導犬を付帯した乗客の乗車を支援する制御を行う乗車支援制御部とを備える。
【0010】
(5)車両制御システムは、検知部により犬が盲導犬であると検知されたときに、盲導犬を刺激しない制御を行う盲導犬用制御部と、検知部により犬が盲導犬でないと検知されたときに、異常事態向けの制御を行う異常事態用制御部とを更に備えてもよい。
【発明の効果】
(【0011】以降は省略されています)
この特許をJ-PlatPat(特許庁公式サイト)で参照する
関連特許
個人
詐欺保険
8日前
個人
縁伊達ポイン
8日前
個人
QRコードの彩色
12日前
個人
地球保全システム
21日前
個人
農作物用途分配システム
7日前
個人
残土処理システム
14日前
個人
知的財産出願支援システム
15日前
個人
タッチパネル操作指代替具
1日前
個人
スケジュール調整プログラム
今日
個人
携帯端末障害問合せシステム
今日
株式会社キーエンス
受発注システム
20日前
株式会社キーエンス
受発注システム
20日前
株式会社キーエンス
受発注システム
20日前
個人
食品レシピ生成システム
20日前
個人
帳票自動生成型SaaSシステム
15日前
エッグス株式会社
情報処理装置
1日前
個人
音声・通知・再配達UX制御構造
15日前
キヤノン株式会社
印刷システム
今日
キヤノン株式会社
表示システム
20日前
株式会社キーエンス
製品受発注システム
20日前
株式会社カネカ
製造工場の管理システム
15日前
大同特殊鋼株式会社
棒材計数方法
13日前
個人
マーケティング活動支援装置
19日前
株式会社PIPS
2次元可視コード
5日前
個人
本人認証連動型帳票出力支援システム
23日前
TOTO株式会社
衛生評価システム
13日前
株式会社梓総合研究所
冷却システム
19日前
株式会社オカムラ
電力供給システム
12日前
TOTO株式会社
姿勢評価システム
13日前
株式会社カネカ
生産計画立案システム
23日前
ワキ製薬株式会社
配置薬管理システム
19日前
株式会社栗本鐵工所
触覚提示システム
13日前
株式会社栗本鐵工所
触覚提示システム
13日前
中国電力株式会社
空き家判定システム
12日前
株式会社国際電気
タスク管理システム
19日前
株式会社栗本鐵工所
触覚提示システム
13日前
続きを見る
他の特許を見る