TOP
|
特許
|
意匠
|
商標
特許ウォッチ
Twitter
他の特許を見る
公開番号
2025158429
公報種別
公開特許公報(A)
公開日
2025-10-17
出願番号
2024060951
出願日
2024-04-04
発明の名称
情報処理装置および情報処理システム
出願人
トヨタ自動車株式会社
代理人
弁理士法人秀和特許事務所
主分類
G06F
9/50 20060101AFI20251009BHJP(計算;計数)
要約
【課題】連合学習に参加する情報処理装置をより好適に選択可能な技術を提供する。
【解決手段】第1の情報処理装置と複数の第2の情報処理装置を含む情報処理システムであって、前記複数の第2の情報処理装置が、連合学習への貢献度を含む連合学習プロファイルを送信し、前記第1の情報処理装置が、前記複数の第2の情報処理装置の前記連合学習プロファイルを受信し、前記第1の情報処理装置が、前記連合学習プロファイルに基づいて、連合学習に参加する情報処理装置を決定する、ことを特徴とする情報処理システム。
【選択図】図4
特許請求の範囲
【請求項1】
プロセッサを有し、前記プロセッサは、
他の情報処理装置に関する連合学習プロファイルであって、少なくとも連合学習への貢献度を含む連合学習プロファイルを取得するステップと、
前記連合学習プロファイルに基づいて、連合学習に参加する情報処理装置を決定するステップと、
を実行する、ことを特徴とする情報処理装置。
続きを表示(約 1,100 文字)
【請求項2】
前記連合学習プロファイルを取得するステップでは、レポジトリから前記連合学習プロファイルを取得する、
ことを特徴とする請求項1に記載の情報処理装置。
【請求項3】
前記貢献度は、学習種別ごとに設定され、
前記連合学習プロファイルを取得するステップでは、実行する学習種別に対応する連合学習プロファイルを取得する、
ことを特徴とする請求項1に記載の情報処理装置。
【請求項4】
前記プロセッサは、さらに、
連合学習に参加する情報処理装置から取得されるローカルモデル情報に基づくモデル統合処理における、それぞれの情報処理装置の連合学習への貢献度を算出するステップと、
算出された貢献度をレポジトリまたはそれぞれの情報処理装置へ送信するステップと、
実行する、ことを特徴とする請求項1に記載の情報処理装置。
【請求項5】
前記連合学習に参加する情報処理装置を決定するステップでは、前記貢献度が上位の所定数の情報処理装置、または前記貢献度が閾値以上の情報処理装置を選択する、
ことを特徴とする請求項1に記載の情報処理装置。
【請求項6】
前記連合学習は、水平連合学習または垂直連合学習である、
ことを特徴とする請求項1に記載の情報処理装置。
【請求項7】
前記情報処理装置は、移動通信コアネットワークにおけるネットワークファンクションの1つである、
ことを特徴とする請求項1に記載の情報処理装置。
【請求項8】
前記情報処理装置は、NWDAFである、
ことを特徴とする請求項7に記載の情報処理装置。
【請求項9】
前記情報処理装置は、移動通信コアネットワークの外部にあり前記移動通信コアネットワークを介してサービスを提供するアプリケーションファンクションである、
ことを特徴とする請求項1に記載の情報処理装置。
【請求項10】
第1の情報処理装置と複数の第2の情報処理装置を含む情報処理システムであって、
前記複数の第2の情報処理装置が、連合学習への貢献度を含む連合学習プロファイルを送信し、
前記第1の情報処理装置が、前記複数の第2の情報処理装置の前記連合学習プロファイルを受信し、
前記第1の情報処理装置が、前記連合学習プロファイルに基づいて、連合学習に参加する情報処理装置を決定する、
ことを特徴とする情報処理システム。
(【請求項11】以降は省略されています)
発明の詳細な説明
【技術分野】
【0001】
本開示は、情報処理装置および情報処理システム
続きを表示(約 1,700 文字)
【背景技術】
【0002】
機械学習技術が注目を集める中、データのプライバシーを保護する観点から、分散している学習データを1箇所に集約することなくモデルを学習する連合学習の研究・開発が進められている(非特許文献1)。また、非特許文献2には、5Gコアシステムにおける複数のNWDAF(Network Data Analysis Function)による連合学習を開示しており、その中で、連合学習処理に参加するNWDAFの発見手順が開示されている。
【先行技術文献】
【特許文献】
【0003】
特開2023-141510号公報
【非特許文献】
【0004】
Feng, Siwei, and Han Yu. "Multi-participant multi-class vertical federated learning." 2020. <URL: https://doi.org/10.48550/arXiv.2001.11154>
3GPP TS 23.288 V18.3.0 6.2C
【発明の概要】
【発明が解決しようとする課題】
【0005】
本開示の態様の一つは、連合学習に参加する情報処理装置をより好適に選択可能な技術を提供することを目的とする。
【課題を解決するための手段】
【0006】
本開示の態様の一つは、
プロセッサを有し、前記プロセッサは、
他の情報処理装置に関する連合学習プロファイルであって、少なくとも連合学習への貢献度を含む連合学習プロファイルを取得するステップと、
前記連合学習プロファイルに基づいて、連合学習に参加する情報処理装置を決定するステップと、
を実行する、ことを特徴とする情報処理装置である。
【0007】
本開示の態様の他の一つは、
第1の情報処理装置と複数の第2の情報処理装置を含む情報処理システムであって、
前記複数の第2の情報処理装置が、連合学習への貢献度を含む連合学習プロファイルを送信し、
前記第1の情報処理装置が、前記複数の第2の情報処理装置の前記連合学習プロファイルを受信し、
前記第1の情報処理装置が、前記連合学習プロファイルに基づいて、連合学習に参加する情報処理装置を決定する、
ことを特徴とする情報処理システムである。
【発明の効果】
【0008】
本開示の態様によれば、連合学習に参加する情報処理装置をより好適に選択可能である。
【図面の簡単な説明】
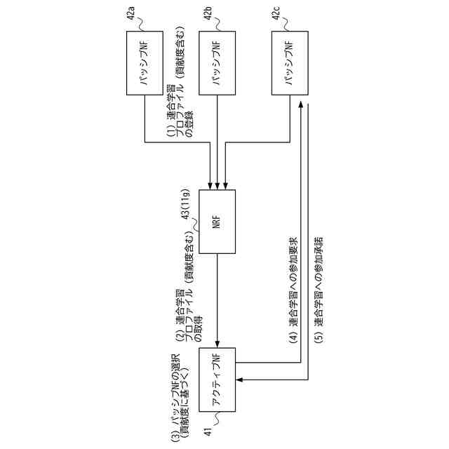
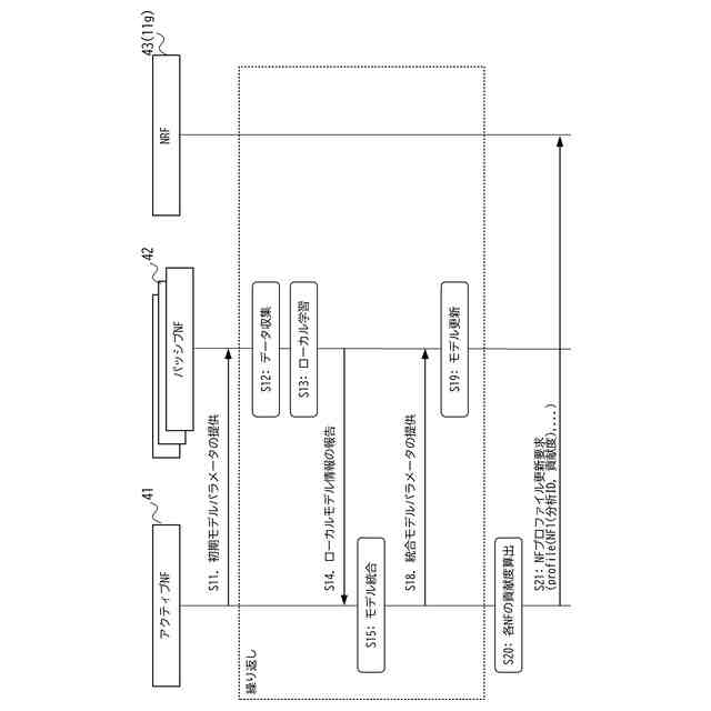
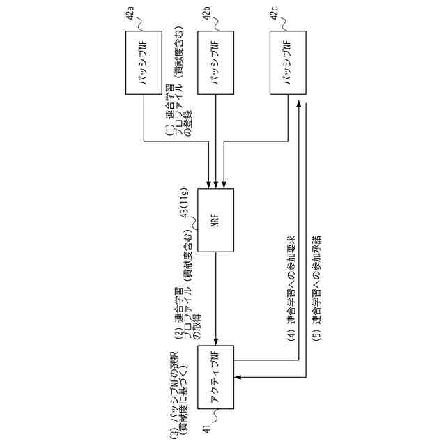
【0009】
一実施形態に係る情報処理システムの構成要素を例示する図。
一実施形態に係る情報処理システムを構成する情報処理装置の構成例を示す図。
一実施形態に係る情報処理システムを構成する情報処理装置の機能構成を示す図。
一実施形態に係る登録および発見手順を説明する図。
一実施形態に係る登録および発見手順を説明する図。
一実施形態に係る連合学習の基本手順および貢献度更新手順を説明する図。
一実施形態に係る連合学習の基本手順および貢献度更新手順を説明する図。
一実施形態に係る連合学習の基本手順および貢献度更新手順を説明する図。
【発明を実施するための形態】
【0010】
(概要)
連合学習処理では、コーディネータあるいはアクティブ参加者(以下総称して、アクティブ参加者と称する)が学習処理全体の制御を司る。アクティブ参加者は、連合学習を行うパッシブ参加者の選択を行い、パッシブ参加者へのグローバルモデル情報の提供、パッシブ参加者からのローカル学習結果の取得、ローカル学習結果の統合によるグローバルモデルの更新などの処理を行う。パッシブ参加者は、アクティブ参加者から取得したグローバルモデルおよび自身が有する学習データを用いてローカル学習処理を行い、その学習結果をアクティブ参加者へ送信する。
(【0011】以降は省略されています)
この特許をJ-PlatPat(特許庁公式サイト)で参照する
関連特許
トヨタ自動車株式会社
電池
2日前
トヨタ自動車株式会社
車両
10日前
トヨタ自動車株式会社
車両
16日前
トヨタ自動車株式会社
電池
12日前
トヨタ自動車株式会社
電池
11日前
トヨタ自動車株式会社
椅子
5日前
トヨタ自動車株式会社
車両
9日前
トヨタ自動車株式会社
方法
5日前
トヨタ自動車株式会社
車両
2日前
トヨタ自動車株式会社
方法
5日前
トヨタ自動車株式会社
車両
4日前
トヨタ自動車株式会社
電動車
16日前
トヨタ自動車株式会社
電動車
16日前
トヨタ自動車株式会社
加熱器
9日前
トヨタ自動車株式会社
電動車
5日前
トヨタ自動車株式会社
電磁弁
5日前
トヨタ自動車株式会社
電解液
16日前
トヨタ自動車株式会社
モータ
3日前
トヨタ自動車株式会社
電動車
12日前
トヨタ自動車株式会社
ケース
11日前
トヨタ自動車株式会社
飛行体
2日前
トヨタ自動車株式会社
電動車
16日前
トヨタ自動車株式会社
固定子
10日前
トヨタ自動車株式会社
判定装置
5日前
トヨタ自動車株式会社
制御装置
9日前
トヨタ自動車株式会社
蓄電セル
16日前
トヨタ自動車株式会社
製造装置
10日前
トヨタ自動車株式会社
駆動装置
2日前
トヨタ自動車株式会社
監視装置
10日前
トヨタ自動車株式会社
端末装置
2日前
トヨタ自動車株式会社
製造方法
2日前
トヨタ自動車株式会社
塗工装置
10日前
トヨタ自動車株式会社
車両構造
9日前
トヨタ自動車株式会社
切断装置
16日前
トヨタ自動車株式会社
搬送装置
2日前
トヨタ自動車株式会社
バッテリ
10日前
続きを見る
他の特許を見る