TOP
|
特許
|
意匠
|
商標
特許ウォッチ
Twitter
他の特許を見る
10個以上の画像は省略されています。
公開番号
2025158898
公報種別
公開特許公報(A)
公開日
2025-10-17
出願番号
2024179286
出願日
2024-10-11
発明の名称
検出装置、及び、検出方法
出願人
パナソニックIPマネジメント株式会社
代理人
弁理士法人栄光事務所
主分類
G06V
30/14 20220101AFI20251009BHJP(計算;計数)
要約
【課題】トレーラに記載されたトレーラIDまたはコンテナIDを精度良く検出する。
【解決手段】検出装置は、トラクタとトレーラが連結された車両の少なくとも一部を撮影した撮像画像から、トレーラが撮影された領域であるトレーラ領域を検出するトレーラ領域検出部と、トレーラ領域から、トレーラIDまたはコンテナIDが記載されていると推定される領域であるID領域を検出し、ID領域に対する文字認識によりトレーラIDまたはコンテナIDを認識する文字認識部に、ID領域を示す情報を出力するID領域出力部とを備える。
【選択図】図2
特許請求の範囲
【請求項1】
トラクタとトレーラが連結された車両の少なくとも一部を撮影した撮像画像から、前記トレーラが撮影された領域であるトレーラ領域を検出するトレーラ領域検出部と、
前記トレーラ領域から、トレーラIDまたはコンテナIDが記載されていると推定される領域であるID領域を検出し、前記ID領域に対する文字認識により前記トレーラIDまたはコンテナIDを認識する文字認識部に、前記ID領域を示す情報を出力するID領域検出部と、を備える、
検出装置。
続きを表示(約 720 文字)
【請求項2】
前記トレーラ領域検出部は、前記撮像画像から前記トレーラの前面又は後面が撮影された領域を前記トレーラ領域として検出する、
請求項1に記載の検出装置。
【請求項3】
前記トレーラ領域のサイズに基づいて前記撮像画像をリサイズし、リサイズ画像を生成するリサイズ部、をさらに備え、
前記ID領域検出部は、前記リサイズ画像の前記トレーラ領域から、前記ID領域を検出する、
請求項1又は2に記載の検出装置。
【請求項4】
前記リサイズ部は、前記トレーラ領域の高さに基づいて、前記撮像画像をリサイズする、
請求項3に記載の検出装置。
【請求項5】
前記リサイズ部は、
前記トレーラ領域の高さが所定の閾値以上の場合、前記撮像画像を縮小し、
前記トレーラ領域の高さが前記閾値未満の場合、前記撮像画像を縮小しない、
請求項4に記載の検出装置。
【請求項6】
前記ID領域検出部は、前記トレーラ領域以外の領域を、前記ID領域の検出対象から除外する、
請求項1に記載の検出装置。
【請求項7】
トラクタとトレーラが連結された車両の少なくとも一部を撮影した撮像画像から、前記トレーラが撮影された領域であるトレーラ領域を検出し、
前記トレーラ領域から、トレーラIDまたはコンテナIDが記載されていると推定される領域であるID領域を検出し、
前記ID領域に対する文字認識により前記トレーラIDまたはコンテナIDを認識する文字認識部に、前記ID領域を示す情報を出力する、
検出方法。
発明の詳細な説明
【技術分野】
【0001】
本開示は、検出装置、及び、検出方法に関する。
続きを表示(約 1,700 文字)
【背景技術】
【0002】
特許文献1には、入力画像からナンバープレート領域候補の四辺形を複数検出して、ナンバープレート領域候補に含まれる文字領域の文字認識を実行するナンバープレート認識装置が開示されている。ナンバープレート認識装置は、各ナンバープレート領域候補の文字認識結果と四辺形の情報とに基づいて、検出された複数のナンバープレート領域候補の中から出力するナンバープレート領域候補を選択する。ナンバープレート認識装置は、当該選択されたナンバープレート領域候補に関する情報を出力する。
【先行技術文献】
【特許文献】
【0003】
特開2008-217347号公報
【発明の概要】
【発明が解決しようとする課題】
【0004】
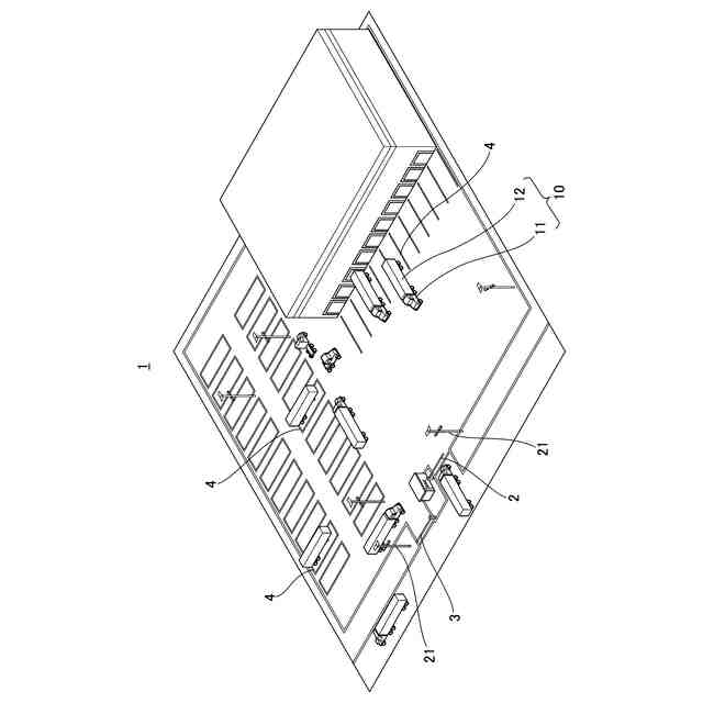
近年、トレーラを用いた物流が盛んである。トレーラは、トラクタに牽引されて、ヤード(例えば倉庫施設)を出入りする。トレーラには、当該トレーラを識別するためのIdentifaction(ID)(以下、トレーラIDと称する)が記載されている。そこで、トレーラIDを用いてヤードを出入りするトレーラを関することが検討されている。しかしながら、トレーラには、トレーラID以外にも様々な文字、模様、デザインが記載されている場合があり、トレーラIDを精度良く検出することが難しい。
【0005】
本開示は、トレーラに記載されたトレーラIDまたはコンテナIDを精度良く検出することを目的とする。
【課題を解決するための手段】
【0006】
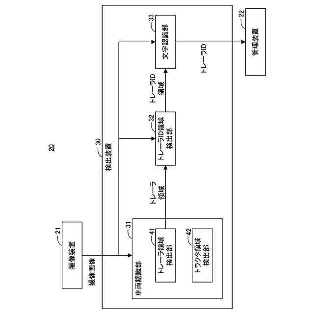
本開示の一態様は、トラクタとトレーラが連結された車両の少なくとも一部を撮影した撮像画像から、前記トレーラが撮影された領域であるトレーラ領域を検出するトレーラ領域検出部と、前記トレーラ領域から、トレーラIDまたはコンテナIDが記載されていると推定される領域であるID領域を検出し、前記ID領域に対する文字認識により前記トレーラIDまたはコンテナIDを認識する文字認識部に、前記ID領域を示す情報を出力するID領域検出部と、を備える、検出装置を提供する。
【0007】
本開示の一態様は、トラクタとトレーラが連結された車両の少なくとも一部を撮影した撮像画像から、前記トレーラが撮影された領域であるトレーラ領域を検出し、前記トレーラ領域から、トレーラIDまたはコンテナIDが記載されていると推定される領域であるID領域を検出し、前記ID領域に対する文字認識により前記トレーラIDまたはコンテナIDを認識する文字認識部に、前記ID領域を示す情報を出力する、検出方法を提供する。
【0008】
なお、これらの包括的又は具体的な態様は、システム、装置、方法、集積回路、コンピュータプログラム又は記録媒体で実現されてもよく、システム、装置、方法、集積回路、コンピュータプログラム及び記録媒体の任意な組み合わせで実現されてもよい。
【発明の効果】
【0009】
本開示によれば、トレーラに記載されたトレーラIDまたはコンテナIDを精度良く検出することができる。
【図面の簡単な説明】
【0010】
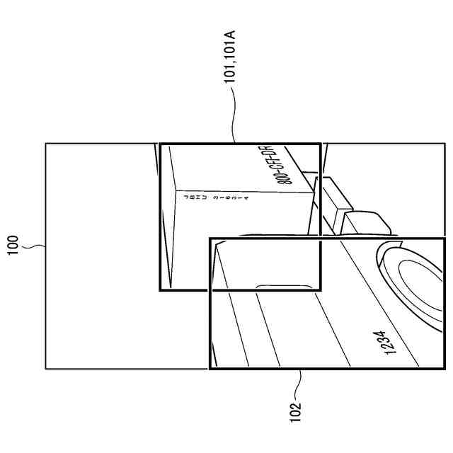
実施の形態1に係るヤードの一例を示す図
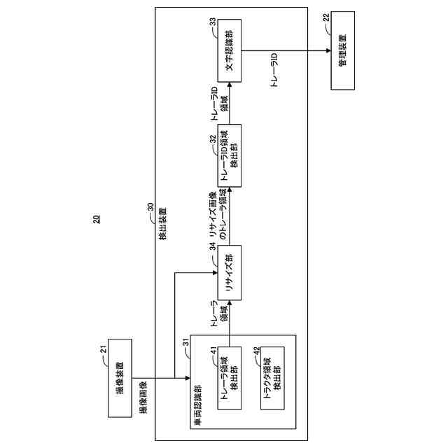
実施の形態1に係る管理システムの一例を示すブロック図
実施の形態1に係る、トラクタ領域及びトレーラ領域を検出する第1の方法を説明するための図
実施の形態1に係る、トラクタ領域及びトレーラ領域を検出する第2の方法を説明するための図
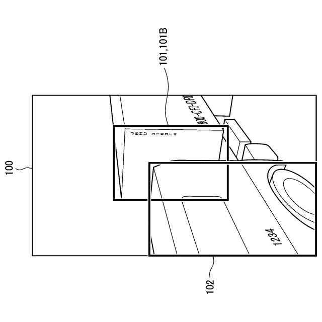
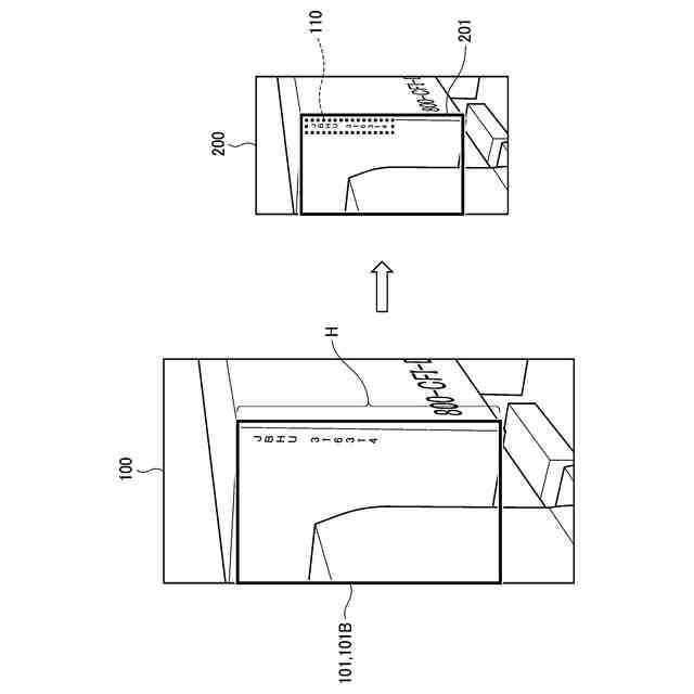
実施の形態1に係る、トレーラID領域を検出する方法を説明するための図
実施の形態2に係る管理システムの一例を示すブロック図
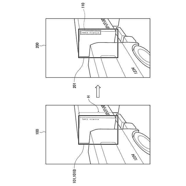
実施の形態2に係る撮像画像のリサイズを説明するための第1の図
実施の形態2に係る撮像画像のリサイズを説明するための第2の図
実施の形態2に係る撮像画像のリサイズ倍率の一例を説明するためのグラフ
本開示に係る検出装置のハードウェア構成例を示すブロック図
【発明を実施するための形態】
(【0011】以降は省略されています)
この特許をJ-PlatPat(特許庁公式サイト)で参照する
関連特許
個人
詐欺保険
4日前
個人
縁伊達ポイン
4日前
個人
工程設計支援装置
2か月前
個人
QRコードの彩色
8日前
個人
フラワーコートA
2か月前
個人
地球保全システム
17日前
個人
冷凍食品輸出支援構造
1か月前
個人
為替ポイント伊達夢貯
1か月前
個人
表変換編集支援システム
1か月前
個人
残土処理システム
10日前
個人
携帯情報端末装置
2か月前
個人
農作物用途分配システム
3日前
個人
結婚相手紹介支援システム
2か月前
個人
知的財産出願支援システム
11日前
個人
知財出願支援AIシステム
1か月前
個人
AIによる情報の売買の仲介
1か月前
個人
パスワード管理支援システム
1か月前
個人
行動時間管理システム
1か月前
個人
食品レシピ生成システム
16日前
日本精機株式会社
施工管理システム
1か月前
株式会社キーエンス
受発注システム
16日前
個人
パスポートレス入出国システム
1か月前
株式会社キーエンス
受発注システム
16日前
個人
AIキャラクター制御システム
1か月前
個人
システム及びプログラム
1か月前
個人
海外支援型農作物活用システム
29日前
株式会社キーエンス
受発注システム
16日前
株式会社アジラ
進入判定装置
1か月前
個人
アンケート支援システム
2か月前
個人
音声対話型帳票生成支援システム
1か月前
大同特殊鋼株式会社
疵判定方法
23日前
個人
帳票自動生成型SaaSシステム
11日前
個人
SaaS型勤務調整支援システム
1か月前
個人
音声・通知・再配達UX制御構造
11日前
サクサ株式会社
中継装置
1か月前
個人
人格進化型対話応答制御システム
1か月前
続きを見る
他の特許を見る