TOP
|
特許
|
意匠
|
商標
特許ウォッチ
Twitter
他の特許を見る
10個以上の画像は省略されています。
公開番号
2025158972
公報種別
公開特許公報(A)
公開日
2025-10-17
出願番号
2025063388
出願日
2025-04-07
発明の名称
金融商品取引管理装置、プログラム
出願人
株式会社マネースクエアHD
代理人
個人
,
個人
主分類
G06Q
40/04 20120101AFI20251009BHJP(計算;計数)
要約
【課題】コンピュータシステムを用いて行う金融商品の取引において、相場状況の変動に応じて損失発生のリスクを低減できる金融商品取引管理装置を提供する。
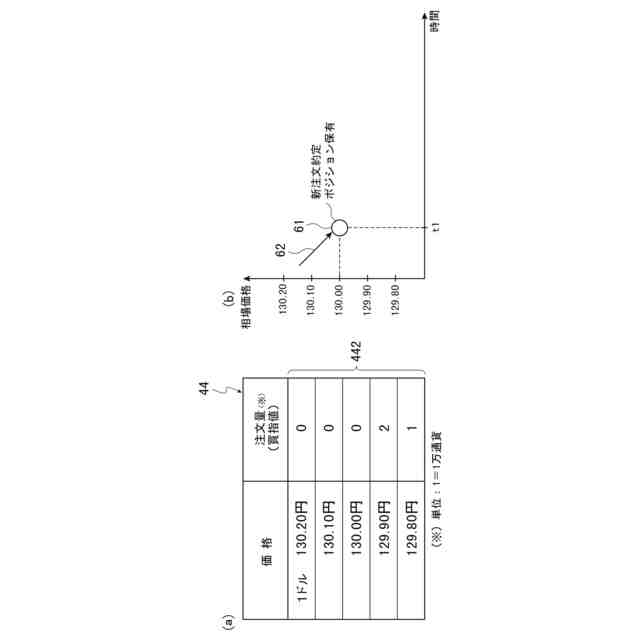
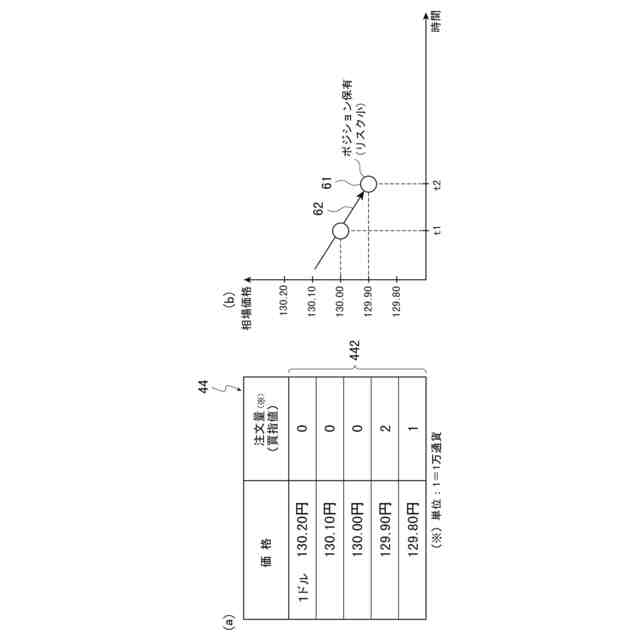
【解決手段】金融商品取引管理装置1は、金融商品の注文を行うための注文情報を生成する注文情報生成部41と、生成された注文情報のうち、既存注文の取引を行うための既存注文情報441,442を記録する既存注文情報記録部44と、相場価格の情報を取得する相場価格情報取得部42と、金融商品の所定の注文の取引と相場価格の変動とによって、金融商品の金融商品取引業者が被る、既存注文情報を用いた所定の処理により限定的にできる所定のリスクについて、所定の処理を行う必要があるか否かを評価するリスク評価部52とを備える。
【選択図】図1
特許請求の範囲
【請求項1】
金融商品の取引を行う金融商品取引管理装置であって、
金融商品の注文を行うための注文情報を生成する注文情報生成手段と、
前記注文情報生成手段が生成した前記注文情報のうち、所定の条件を満たす既存の前記注文としての既存注文の取引を行うための既存の前記注文情報として生成された既存注文情報を記録する既存注文情報記録手段と、
前記金融商品の相場価格の情報を取得する相場価格情報取得手段と、
前記金融商品の所定の注文の取引と前記相場価格の変動とによって、前記金融商品の取引を行う金融商品取引業者が損失を被るリスクであって、前記既存注文情報を用いた所定の処理が行われることで限定的なものにできる前記リスクとしての所定のリスクについて、該所定のリスクに対する前記所定の処理を行う必要があるか否かを評価するリスク評価手段とを備えたことを特徴とする金融商品取引管理装置。
続きを表示(約 980 文字)
【請求項2】
前記リスク評価手段は、前記金融商品取引業者が保有するポジションが前記金融商品取引業者にとって不利益を生じさせる可能性を前記所定のリスクとし、保有する前記所定のリスクが、限定的なものにできる大きさか否かの評価を行うことを特徴とする請求項1に記載の金融商品取引管理装置。
【請求項3】
前記リスク評価手段は、前記既存注文情報記録手段に記録された前記既存注文の注文量に依存して、保有可能な前記所定のリスクの大きさを評価することを特徴とする請求項2に記載の金融商品取引管理装置。
【請求項4】
前記リスク評価手段は、前記相場価格が特定の方向に変動した場合に、変動方向に存在する前記既存注文情報を用いて前記所定のリスクが保有可能な大きさか否かを評価することを特徴とする請求項1に記載の金融商品取引管理装置。
【請求項5】
前記リスク評価手段は、前記既存注文情報のうち、前記特定の前記注文の取引時の前記相場価格に近い前記既存注文情報から順に用いて、前記所定の処理を行う必要があるか否かを評価することを特徴とする請求項4に記載の金融商品取引管理装置。
【請求項6】
前記所定の処理は、前記金融商品取引業者が金融機関に対して前記所定の注文の約定に伴うカバー取引を行うための処理であることを特徴とする請求項1に記載の金融商品取引管理装置。
【請求項7】
前記所定の注文は成行注文であることを特徴とする請求項1に記載の金融商品取引管理装置。
【請求項8】
前記所定の処理の実行により、前記リスクを限定的なものとするリスクヘッジの処理を行うリスクヘッジ実行手段を備えたことを特徴とする請求項1に記載の金融商品取引管理装置。
【請求項9】
前記リスクヘッジ実行手段は、前記リスクヘッジのための前記所定の処理の実行として、前記金融商品取引業者と取引を行う金融機関の管理する金融機関システムに対し、前記所定の注文の約定に伴うカバー取引の処理を行うことを特徴とする請求項8に記載の金融商品取引管理装置。
【請求項10】
コンピュータを請求項1乃至9の何れか一つに記載の金融商品取引管理装置として機能させることを特徴とするプログラム。
発明の詳細な説明
【技術分野】
【0001】
本発明は、各種の金融商品の取引の管理及び支援を行う技術に関する。本発明は、各種の金融商品の取引を管理及び支援する装置等に適用することができる。
続きを表示(約 2,200 文字)
【背景技術】
【0002】
株式、債券、投資信託、不動産投資信託、コモディティ(商品)、外国為替、株価指数、暗号資産、仮想通貨、等、相場価格が変動する各種の金融商品の取引方法として、成行注文(注文発注時点の相場価格で取引を行う注文形態)や指値注文(相場価格が予め指定された価格になった時点で取引を行う形態)等が知られている。この取引方法によって顧客と銀行等との金融機関とが行う金融商品の取引を、各種金融商品の取引を行う金融商品取引業者(以下「金融商品取引業者」と称する。)が介在して行う場合がある。金融商品取引業者は、金融商品のカバー取引を行う場合がある。このカバー取引とは、顧客の注文が約定することで金融商品取引業者が保有するポジションを決済させるために、金融商品取引業者が金融機関と行う取引のことである。金融商品取引業者が、顧客から引き受けた取引と反対の取引を銀行等に対しカバー取引として行うことで、為替変動のリスクヘッジが可能になる。
【0003】
従来、これらの注文形態、例えば指値注文による取引を、カバー取引を含む形でコンピュータシステムを用いて行う発明が知られている(例えば、特許文献1参照)。この発明においては、為替取引等の通貨取引において、通貨取引指標の実勢値を定期的に取得し、予め受け付けられた通貨取引指標に関する指定値と取得された実勢値とに基づいて、実勢値で通貨取引を締結するか否かを仮決定する。そして、実勢値での通貨取引を締結することが仮決定された場合、通貨取引に関するカバー取引の締結の可否を確認し、カバー取引の締結が可能であると確認された場合、カバー取引を締結し、仮決定された通貨取引を締結する。
【先行技術文献】
【特許文献】
【0004】
特開2017-167820号公報
【発明の概要】
【発明が解決しようとする課題】
【0005】
ここで、特許文献1に記載の発明で金融商品取引業者が金融商品の取引を行う場合、金融商品取引業者は、相場価格に一致した金融商品を約定させる顧客との取引と、約定に基づく銀行等とのカバー取引とを行う必要が生ずる。この場合の取引は、まず顧客との取引が行われ、その取引の結果に基づいてカバー取引が行われる。ここで、相場価格は時々刻々と変化するため、顧客との取引とカバー取引との時間差により、金融商品の約定価格とカバー取引を行う際の取引価格との価格差が生じ、金融商品取引業者が実質的な損失を被るリスクが発生する。
【0006】
しかし、特許文献1に記載の発明においては、顧客との取引で約定したそれぞれの金融商品のデータを、コンピュータシステムを構成するディーリングを行う装置に逐次送る。ディーリングを行う装置は、その金融商品のデータに基づいて逐次カバー取引を行う。そのため、大量の約定が発生した場合、処理対象となる金融商品のデータ量が膨大になる。このため、特許文献1に記載の発明においては、取引量の増大に依存して金融商品取引業者が実質的な損失を被るリスクが大きくなる問題がある。
【0007】
一方、上述の、金融商品取引業者が実質的な損失を被るか否かは、顧客との取引で約定した後の相場価格の変動状況による。しかし、特許文献1に記載の発明においては、顧客との取引で約定した場合の処理は、相場価格の変動状況と無関係に行われる。そのため、特許文献1に記載の発明において、金融商品取引業者が相場状況の変動に応じてリスクを回避することができないという問題がある。
【0008】
本発明はかかる課題に鑑みてなされたものであり、コンピュータシステムを用いて行う金融商品の取引において、相場状況の変動に応じて損失発生のリスクを低減できる金融商品取引管理装置を提供することを課題としている。
【課題を解決するための手段】
【0009】
かかる課題を達成するために、請求項1に記載の発明は、金融商品の取引を行う金融商品取引管理装置であって、金融商品の注文を行うための注文情報を生成する注文情報生成手段と、前記注文情報生成手段が生成した前記注文情報のうち、所定の条件を満たす既存の前記注文としての既存注文の取引を行うための既存の前記注文情報として生成された既存注文情報を記録する既存注文情報記録手段と、前記金融商品の相場価格の情報を取得する相場価格情報取得手段と、前記金融商品の所定の注文の取引と前記相場価格の変動とによって、前記金融商品の取引を行う金融商品取引業者が損失を被るリスクであって、前記既存注文情報を用いた所定の処理が行われることで限定的なものにできる前記リスクとしての所定のリスクについて、該所定のリスクに対する前記所定の処理を行う必要があるか否かを評価するリスク評価手段とを備えたことを特徴とする。
【0010】
請求項2に記載の発明は、請求項1に記載の構成に加え、前記リスク評価手段は、前記金融商品取引業者が保有するポジションが前記金融商品取引業者にとって不利益を生じさせる可能性を前記所定のリスクとし、保有する前記所定のリスクが、限定的なものにできる大きさか否かの評価を行うことを特徴とする。
(【0011】以降は省略されています)
この特許をJ-PlatPat(特許庁公式サイト)で参照する
関連特許
個人
詐欺保険
5日前
個人
縁伊達ポイン
5日前
個人
工程設計支援装置
2か月前
個人
QRコードの彩色
9日前
個人
地球保全システム
18日前
個人
冷凍食品輸出支援構造
1か月前
個人
為替ポイント伊達夢貯
1か月前
個人
携帯情報端末装置
2か月前
個人
残土処理システム
11日前
個人
農作物用途分配システム
4日前
個人
表変換編集支援システム
1か月前
個人
知的財産出願支援システム
12日前
個人
結婚相手紹介支援システム
2か月前
個人
知財出願支援AIシステム
1か月前
個人
パスワード管理支援システム
1か月前
個人
AIによる情報の売買の仲介
1か月前
個人
行動時間管理システム
1か月前
個人
AIキャラクター制御システム
1か月前
個人
システム及びプログラム
1か月前
株式会社キーエンス
受発注システム
17日前
株式会社キーエンス
受発注システム
17日前
個人
海外支援型農作物活用システム
1か月前
個人
パスポートレス入出国システム
1か月前
日本精機株式会社
施工管理システム
1か月前
個人
食品レシピ生成システム
17日前
株式会社キーエンス
受発注システム
17日前
株式会社アジラ
進入判定装置
1か月前
大阪瓦斯株式会社
住宅設備機器
1か月前
個人
人格進化型対話応答制御システム
1か月前
サクサ株式会社
中継装置
1か月前
個人
SaaS型勤務調整支援システム
1か月前
個人
未来型家系図構築システム
1か月前
個人
帳票自動生成型SaaSシステム
12日前
キヤノン株式会社
表示システム
17日前
個人
社会還元・施設向け供給支援構造
1か月前
大同特殊鋼株式会社
疵判定方法
24日前
続きを見る
他の特許を見る