TOP
|
特許
|
意匠
|
商標
特許ウォッチ
Twitter
他の特許を見る
公開番号
2025158714
公報種別
公開特許公報(A)
公開日
2025-10-17
出願番号
2024061530
出願日
2024-04-05
発明の名称
貸出料金設定システム
出願人
トヨタ自動車株式会社
代理人
個人
主分類
G06Q
30/0283 20230101AFI20251009BHJP(計算;計数)
要約
【課題】適切な貸出料金の設定を行う貸出料金設定システムを提供すること。
【解決手段】本開示にかかる貸出料金設定システムは、二次電池を搭載する電気自動車の貸出料金設定システムであって、利用者が使用開始するときに二次電池のハイレート劣化状態を取得するハイレート劣化取得手段を有し、次の利用者が使用開始するときに、ハイレート劣化取得手段によって取得した、現在の利用者のハイレート劣化状態と次の利用者のハイレート劣化状態とに応じて、現在の利用者の還元率を設定するものである。
【選択図】図1
特許請求の範囲
【請求項1】
二次電池を搭載する電気自動車の貸出料金設定システムであって、
利用者が使用開始するときに二次電池のハイレート劣化状態を取得するハイレート劣化取得手段を有し、
次の利用者が使用開始するときに、前記ハイレート劣化取得手段によって取得した、現在の利用者のハイレート劣化状態と次の利用者のハイレート劣化状態とに応じて、現在の利用者の還元率を設定する、
貸出料金設定システム。
発明の詳細な説明
【技術分野】
【0001】
本開示は、電気自動車の貸出料金設定システムに関する。
続きを表示(約 1,200 文字)
【背景技術】
【0002】
電気自動車や電気自動車に搭載される蓄電装置を利用者に貸して貸出料金を徴収する貸出システムがある。例えば、特許文献1には、蓄電装置の劣化度合に応じて還元率を設定する電気自動車の貸出料金設定システムが開示されている。
【先行技術文献】
【特許文献】
【0003】
特開2019-095990号公報
【発明の概要】
【発明が解決しようとする課題】
【0004】
特許文献1に開示される貸出料金設定システムにおいては、電気自動車の蓄電装置の劣化度合に与する挙動として、蓄電装置のSOC(State Of Charge)が低いことや、急速充電回数を挙げている。例えば、SOCが大きい状態で返却されると、確保する充電時間が短くなるため、次に貸出を受け付けやすくなることから、貸出料金が低くなるように設定される。また、急速充電が行われた回数が多くなると、蓄電装置の劣化の進行が早まるため、貸出料金は高くなるように設定される。
【0005】
一方で、蓄電装置の劣化は一過性の抵抗上昇(ハイレート劣化)と、不可逆的な抵抗上昇の両方がある。一過性であるハイレート劣化は、急速充電及び充放電後に放置期間を置くことにより解消される。したがって、返却後しばらく次の利用者がいない場合には、放置期間中に蓄電装置の性能が回復する。
【0006】
このように、急速充電による劣化は一過性の劣化も含むため、時間経過により改善される可能性があり、還元率の設定には改善の余地がある。
【0007】
本開示は、このような課題を解決するためになされたものであり、適切な貸出料金の設定を行う貸出料金設定システムを提供することを目的とする。
【課題を解決するための手段】
【0008】
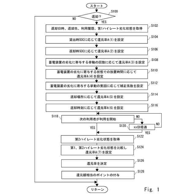
本開示にかかる貸出料金設定システムは、二次電池を搭載する電気自動車の貸出料金設定システムであって、利用者が使用開始するときに二次電池のハイレート劣化状態を取得するハイレート劣化取得手段を有し、次の利用者が使用開始するときに、前記ハイレート劣化取得手段によって取得した、現在の利用者のハイレート劣化状態と次の利用者のハイレート劣化状態とに応じて、現在の利用者の還元率を設定するものである。これにより、適切な貸出料金の設定を行う貸出料金設定システムを提供することができる。
【発明の効果】
【0009】
本開示により、適切な貸出料金の設定を行う貸出料金設定システムを提供することができる。
【図面の簡単な説明】
【0010】
本開示にかかる貸出料金設定システムのフローチャートである。
【発明を実施するための形態】
(【0011】以降は省略されています)
この特許をJ-PlatPat(特許庁公式サイト)で参照する
関連特許
トヨタ自動車株式会社
電池
1日前
トヨタ自動車株式会社
方法
4日前
トヨタ自動車株式会社
車両
3日前
トヨタ自動車株式会社
車両
1日前
トヨタ自動車株式会社
方法
4日前
トヨタ自動車株式会社
椅子
4日前
トヨタ自動車株式会社
飛行体
1日前
トヨタ自動車株式会社
電磁弁
4日前
トヨタ自動車株式会社
モータ
2日前
トヨタ自動車株式会社
電動車
4日前
トヨタ自動車株式会社
電源装置
1日前
トヨタ自動車株式会社
充電設備
1日前
トヨタ自動車株式会社
判定装置
4日前
トヨタ自動車株式会社
搬送装置
1日前
トヨタ自動車株式会社
乾燥装置
1日前
トヨタ自動車株式会社
製造方法
1日前
トヨタ自動車株式会社
車載装置
8日前
トヨタ自動車株式会社
車両構造
8日前
トヨタ自動車株式会社
電動車両
2日前
トヨタ自動車株式会社
駆動装置
1日前
トヨタ自動車株式会社
端末装置
1日前
トヨタ自動車株式会社
電池パック
1日前
トヨタ自動車株式会社
三角表示板
8日前
トヨタ自動車株式会社
電池パック
1日前
トヨタ自動車株式会社
電動飛行体
1日前
トヨタ自動車株式会社
車両制御装置
4日前
トヨタ自動車株式会社
乗客支援装置
1日前
トヨタ自動車株式会社
車両前部構造
4日前
トヨタ自動車株式会社
車両下部構造
4日前
トヨタ自動車株式会社
電池システム
1日前
トヨタ自動車株式会社
走行制御装置
1日前
トヨタ自動車株式会社
車両下部構造
4日前
トヨタ自動車株式会社
情報処理装置
1日前
トヨタ自動車株式会社
画像記録装置
1日前
トヨタ自動車株式会社
情報処理装置
1日前
トヨタ自動車株式会社
対話システム
1日前
続きを見る
他の特許を見る