TOP
|
特許
|
意匠
|
商標
特許ウォッチ
Twitter
他の特許を見る
公開番号
2025158497
公報種別
公開特許公報(A)
公開日
2025-10-17
出願番号
2024061083
出願日
2024-04-04
発明の名称
画像記録装置
出願人
トヨタ自動車株式会社
代理人
個人
,
個人
,
個人
,
個人
主分類
H04N
7/18 20060101AFI20251009BHJP(電気通信技術)
要約
【課題】映像データと制御データとを同期させる技術を改善する。
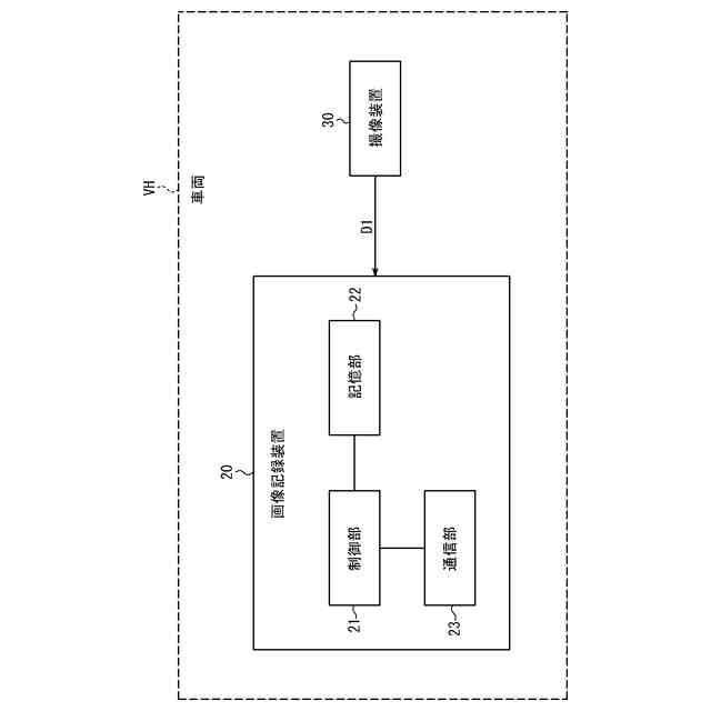
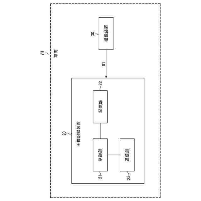
【解決手段】画像記録装置20は、車両VHに備えられた撮像装置30により撮像された車両VHの1つ以上の画像により構成される映像データD1と、各画像が撮影されたときに車両VHから取得されたタイムスタンプを含む当該車両VHの制御データとを取得し、取得された制御データを画像のデータにメタデータとして埋め込んで保存する制御を行う制御部21を備える。
【選択図】図1
特許請求の範囲
【請求項1】
車両に備えられた撮像装置により撮像された1つ以上の画像により構成される映像データと、各画像が撮影されたときに前記車両から取得されたタイムスタンプを含む当該車両の制御データとを取得し、取得された制御データを前記画像のデータにメタデータとして埋め込んで保存する制御を行う制御部を備える、画像記録装置。
発明の詳細な説明
【技術分野】
【0001】
本開示は、画像記録装置に関する。
続きを表示(約 1,700 文字)
【背景技術】
【0002】
特許文献1には、複数のカメラが撮影した映像信号が変換された映像データをそれぞれフレーム単位で記憶するフレームメモリ回路と、フレームメモリ回路のいずれかを制御して映像データを時系列に前後して出力するように制御する制御部と、フレームメモリ回路のいずれかから出力されるフレーム単位の映像データを圧縮する映像データ圧縮回路と、圧縮された映像データをメモリカードに記録するデジタル記録部と、予め定めた設定値に基づいて各フレームメモリ回路から出力するフレームレートを設定する記録フレームレート設定部とを備える車載型映像記録装置が開示されている。
【先行技術文献】
【特許文献】
【0003】
特開2010-028635号公報
【発明の概要】
【発明が解決しようとする課題】
【0004】
車両から取得された映像データと当該車両の制御データとを解析して、車両における不具合を診断することが行われている。制御データは、時系列データともよばれる。データ解析時には、映像のある瞬間での、制御データの値を確認したいというニーズがある。制御データは、例えば、車両における故障等を診断するために行われる「ダイアグ通信」の記録及びタイムスタンプを含む。ダイアグ通信では、故障診断用のデータがECUから送信される。「ECU」は、electronic control unitの略語である。一般的に、ECU間では、例えばCAN等の車載ネットワークを利用してデータが送受信される。「CAN」は、Controller Area Networkの略語である。
【0005】
現状では、映像データを構成する1つ以上の画像(フレーム)には画像ごとにタイムスタンプが記録されているわけではなく、映像の記録開始時刻と当該映像のフレームレート(FPS)とに基づいて、画像ごとに撮影時刻を計算し、計算された撮影時刻に基づいて映像データと制御データとを同期させることが行われている。「FPS」はframes per secondの略語である。これは、既存の映像データフォーマット(例えば、MP4規格など)には、タイムスタンプなどのメタデータを埋め込むことができないためである。「MP4」の正式名称は、MPEG Layer-4 Part 14の略語である。「MPEG」は、Moving Pictures Expert Groupの略語である。従来は、映像データと制御データ(時系列)のデータとを紐づけて扱うには、映像データの各画像についてタイムスタンプを付与するという前処理が必要であり、手間がかかっていた。よって、映像データと制御データとを同期させる技術には改善の余地があった。
【0006】
本開示の目的は、映像データと制御データとを同期させる技術を改善することである。
【課題を解決するための手段】
【0007】
本開示に係る画像記録装置は、車両に備えられた撮像装置により撮像された1つ以上の画像により構成される映像データと、各画像が撮影されたときに前記車両から取得されたタイムスタンプを含む当該車両の制御データとを取得し、取得された制御データを前記画像のデータにメタデータとして埋め込んで保存する制御を行う制御部を備える。
【発明の効果】
【0008】
本開示によれば、映像データと制御データとを同期させる技術を改善することができる。その結果、映像データと制御データとを扱うのが容易になる。
【図面の簡単な説明】
【0009】
本開示の実施形態に係る画像記録装置の構成を示すブロック図である。
本開示の実施形態に係る画像記録装置の動作を示すフローチャートである。
本開示の実施形態に係る画像記録方法を説明するための図である。
本開示の実施形態に係る画像記録装置により記録されたデータの再生について説明するための図である。
【発明を実施するための形態】
【0010】
以下、本開示の実施形態について、図を参照して説明する。
(【0011】以降は省略されています)
この特許をJ-PlatPat(特許庁公式サイト)で参照する
関連特許
個人
監視カメラシステム
6日前
キーコム株式会社
光伝送線路
7日前
WHISMR合同会社
収音装置
1か月前
サクサ株式会社
中継装置
12日前
個人
スキャン式車載用撮像装置
6日前
サクサ株式会社
中継装置
13日前
キヤノン株式会社
撮像装置
1か月前
アイホン株式会社
電気機器
1か月前
株式会社リコー
画像形成装置
1か月前
サクサ株式会社
無線システム
11日前
キヤノン電子株式会社
画像読取装置
1か月前
キヤノン電子株式会社
画像読取装置
5日前
株式会社リコー
画像形成装置
2か月前
個人
ワイヤレスイヤホン対応耳掛け
1か月前
サクサ株式会社
無線通信装置
12日前
サクサ株式会社
無線通信装置
12日前
株式会社リコー
画像形成装置
1か月前
ブラザー工業株式会社
読取装置
2か月前
キヤノン株式会社
撮像システム
1か月前
個人
発信機及び発信方法
11日前
日本電気株式会社
海底分岐装置
7日前
パテントフレア株式会社
水中電波通信法
2か月前
国立大学法人電気通信大学
小型光学装置
1か月前
シャープ株式会社
端末装置
4日前
大日本印刷株式会社
写真撮影装置
1か月前
DXO株式会社
情報処理システム
2か月前
株式会社松平商会
携帯機器カバー
1か月前
株式会社JVCケンウッド
通信システム
18日前
沖電気工業株式会社
画像形成装置
22日前
株式会社NTTドコモ
端末
7日前
沖電気工業株式会社
画像形成装置
14日前
有限会社フィデリックス
マイクロフォン
18日前
株式会社小糸製作所
画像照射装置
1か月前
株式会社NTTドコモ
端末
6日前
株式会社NTTドコモ
端末
6日前
キヤノン電子株式会社
シート材搬送装置
2か月前
続きを見る
他の特許を見る