TOP
|
特許
|
意匠
|
商標
特許ウォッチ
Twitter
他の特許を見る
10個以上の画像は省略されています。
公開番号
2025155298
公報種別
公開特許公報(A)
公開日
2025-10-14
出願番号
2024059052
出願日
2024-04-01
発明の名称
車両前部構造
出願人
トヨタ自動車株式会社
代理人
弁理士法人太陽国際特許事務所
主分類
B62D
25/08 20060101AFI20251006BHJP(鉄道以外の路面車両)
要約
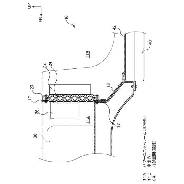
【課題】ダッシュモジュールによって発熱機器を冷却することができる車両前部構造を得る。
【解決手段】車両前部構造10は、車幅方向に延在するように配設された冷却冷媒の流路24を有し、車室内と車室外とを区切るダッシュモジュール20と、ダッシュモジュール20に当接又は近接した状態で配置された発熱機器34、36と、を備える。
【選択図】図2
特許請求の範囲
【請求項1】
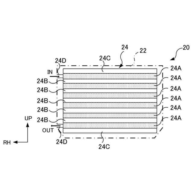
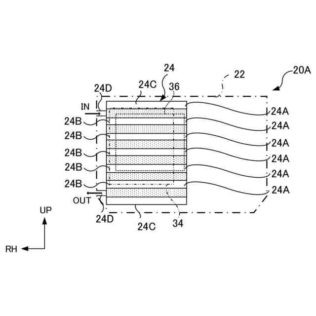
車幅方向に延在するように配設された冷却冷媒の流路を有し、車室内と車室外とを区切るダッシュモジュールと、
前記ダッシュモジュールに当接又は近接した状態で配置された発熱機器と、を備えた車両前部構造。
続きを表示(約 820 文字)
【請求項2】
前記発熱機器は、前記ダッシュモジュールに直接取り付けられている請求項1に記載の車両前部構造。
【請求項3】
前記ダッシュモジュールは車両の骨格部材に取り付けられている請求項1に記載の車両前部構造。
【請求項4】
前記ダッシュモジュールは、板状のダッシュパネルを備えており、
前記流路は、前記ダッシュパネルの内部に設けられている請求項1に記載の車両前部構造。
【請求項5】
前記ダッシュモジュールは、板状のダッシュパネルと当該ダッシュパネルに固定された板部材とを含んで構成されており、
前記流路は、前記板部材と前記ダッシュパネルとによって形成されている請求項1に記載の車両前部構造。
【請求項6】
前記ダッシュモジュールは、板状のダッシュパネルと当該ダッシュパネルに固定された板部材とを含んで構成されており、
前記流路は、前記板部材に形成されている請求項1に記載の車両前部構造。
【請求項7】
前記流路は、少なくとも前記発熱機器と車両前後方向に対向するように配設されている請求項1に記載の車両前部構造。
【請求項8】
前記ダッシュモジュールを介して前記発熱機器と対向するように前記ダッシュモジュールに取り付けられた第2の発熱機器をさらに備える請求項7に記載の車両前部構造。
【請求項9】
前記流路は、少なくとも車幅方向に延在すると共に車両上下方向に複数設けられ、
前記ダッシュモジュールは、前記流路に対応する部分が車両前後方向に凸となるように形成され、当該凸部の先端面が平坦に形成されている請求項1に記載の車両前部構造。
【請求項10】
前記流路の流入口及び流出口は、車幅方向の一方側に設けられる請求項1に記載の車両前部構造。
(【請求項11】以降は省略されています)
発明の詳細な説明
【技術分野】
【0001】
本発明は、車両前部構造に関する。
続きを表示(約 1,000 文字)
【背景技術】
【0002】
下記特許文献1には、ダッシュパネルに隣接して補助バッテリが配設されたガソリン車が開示されている。
【先行技術文献】
【特許文献】
【0003】
特開2008-207616号公報
【発明の概要】
【発明が解決しようとする課題】
【0004】
ところで、電気自動車においては、ガソリン車と比較してグリル開口が狭くなっているため、駆動源としてのパワーユニットが配設されるパワーユニットルーム内の空気が滞留する場合がある。そのため、ダッシュパネル付近に配置されている補助バッテリ及び統合制御装置(以下、ECU;Electronic Control Unitという)等が発熱すると、排熱が不十分となり機能が低下してしまう可能性がある。
【0005】
本発明は上記事情に鑑みてなされたものであり、ダッシュモジュールによって発熱機器を冷却することができる車両前部構造を得ることを目的とする。
【課題を解決するための手段】
【0006】
第1の態様に係る車両前部構造は、車幅方向に延在するように配設された冷却冷媒の流路を有し、車室内と車室外とを区切るダッシュモジュールと、前記ダッシュモジュールに当接又は近接した状態で配置された発熱機器と、を備えている。
【0007】
第1の態様に係る車両前部構造では、ダッシュモジュールが車幅方向に延在するように配設された冷却冷媒の流路を有し、冷却冷媒の流路を有するダッシュモジュールに発熱機器が当接又は近接した状態で配置されている。そのため、流路を流れる冷却冷媒によってダッシュモジュールが冷却されるので、ダッシュモジュールに当接又は近接した状態で配置された発熱機器を冷却することができる。
【0008】
第2の態様に係る車両前部構造は、上記第1の態様に記載の構成において、前記発熱機器は、前記ダッシュモジュールに直接取り付けられている。
【0009】
第2の態様に係る車両前部構造では、発熱機器がダッシュモジュールに直接取り付けられているので、ダッシュモジュールによって発熱機器を効率的に冷却することができる。
【0010】
第3の態様に係る車両前部構造は、上記第1の態様又は上記第2の態様に記載の構成において、前記ダッシュモジュールは車両の骨格部材に取り付けられる。
(【0011】以降は省略されています)
この特許をJ-PlatPat(特許庁公式サイト)で参照する
関連特許
トヨタ自動車株式会社
方法
14日前
トヨタ自動車株式会社
車両
10日前
トヨタ自動車株式会社
方法
15日前
トヨタ自動車株式会社
車両
15日前
トヨタ自動車株式会社
車両
8日前
トヨタ自動車株式会社
車両
16日前
トヨタ自動車株式会社
方法
16日前
トヨタ自動車株式会社
車両
8日前
トヨタ自動車株式会社
治具
9日前
トヨタ自動車株式会社
車両
14日前
トヨタ自動車株式会社
車両
2日前
トヨタ自動車株式会社
電池
2日前
トヨタ自動車株式会社
車両
1日前
トヨタ自動車株式会社
車体
17日前
トヨタ自動車株式会社
電池
21日前
トヨタ自動車株式会社
車両
1日前
トヨタ自動車株式会社
車体
1日前
トヨタ自動車株式会社
方法
1日前
トヨタ自動車株式会社
電池
14日前
トヨタ自動車株式会社
方法
15日前
トヨタ自動車株式会社
蓄電池
1日前
トヨタ自動車株式会社
モータ
今日
トヨタ自動車株式会社
サーバ
11日前
トヨタ自動車株式会社
電動機
14日前
トヨタ自動車株式会社
自動車
15日前
トヨタ自動車株式会社
正極層
14日前
トヨタ自動車株式会社
モータ
11日前
トヨタ自動車株式会社
モータ
16日前
トヨタ自動車株式会社
飛行体
21日前
トヨタ自動車株式会社
電源装置
9日前
トヨタ自動車株式会社
蓄電装置
8日前
トヨタ自動車株式会社
蓄電装置
8日前
トヨタ自動車株式会社
蓄電装置
9日前
トヨタ自動車株式会社
蓄電装置
8日前
トヨタ自動車株式会社
濾過装置
2日前
トヨタ自動車株式会社
蓄電装置
11日前
続きを見る
他の特許を見る