TOP
|
特許
|
意匠
|
商標
特許ウォッチ
Twitter
他の特許を見る
公開番号
2025158721
公報種別
公開特許公報(A)
公開日
2025-10-17
出願番号
2024061538
出願日
2024-04-05
発明の名称
差分検出システム及び差分検出方法
出願人
コアテック株式会社
代理人
弁理士法人森特許事務所
主分類
G06T
7/00 20170101AFI20251009BHJP(計算;計数)
要約
【課題】低コストで操作が簡単なオートエンコーダの利点は維持しながら、パラメータを大規模化したり複雑化させることなく、再現性が高く立体物の検査の精度が高い差分検出システム及び差分検出方法を提供する。
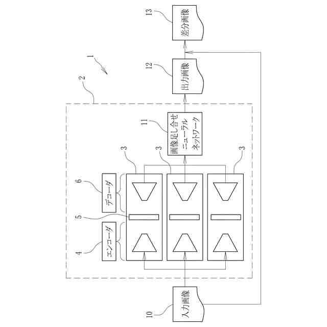
【解決手段】オートエンコーダを用い、入力画像10と出力画像12の差分13を検出する差分検出システムであって、オートエンコーダは、画像入力から画像出力までのプロセスを実行し、かつ一対のエンコーダ4とデコーダ6とを含むニューラルネットワーク3を備えており、ニューラルネットワーク3の1つ分を1ヘッドとすると、オートエンコーダは、複数ヘッドが並列に配置されたマルチヘッドオートエンコーダ1である。
【選択図】図3
特許請求の範囲
【請求項1】
オートエンコーダを用い、入力画像と出力画像の差分を検出する差分検出システムであって、
前記オートエンコーダは、画像入力から画像出力までのプロセスを実行し、かつ一対のエンコーダとデコーダとを含むニューラルネットワークを備えており、
前記ニューラルネットワークの1つ分を1ヘッドとすると、
前記オートエンコーダは、複数ヘッドが並列に配置されたマルチヘッドオートエンコーダであることを特徴とする差分検出システム。
続きを表示(約 340 文字)
【請求項2】
前記複数ヘッドのそれぞれに入力される入力画像は同一である請求項1に記載の差分検出システム。
【請求項3】
オートエンコーダを用い、入力画像と出力画像の差分を検出する差分検出方法であって、
前記オートエンコーダは、画像入力から画像出力までのプロセスを実行し、かつ一対のエンコーダとデコーダとを含むニューラルネットワークを備えており、
前記ニューラルネットワークの1つ分を1ヘッドとすると、
前記オートエンコーダは、複数ヘッドが並列に配置されたマルチヘッドオートエンコーダであることを特徴とする差分検出方法。
【請求項4】
前記複数ヘッドのそれぞれに入力される入力画像は同一である請求項3に記載の差分検出方法。
発明の詳細な説明
【技術分野】
【0001】
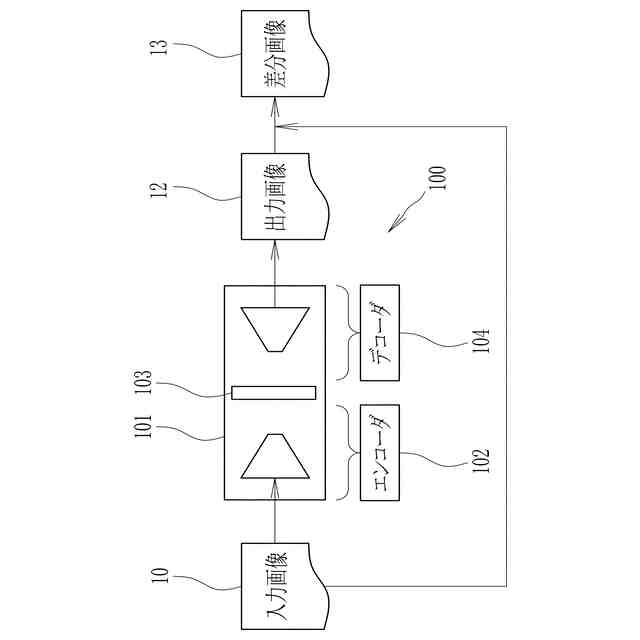
本発明は、立体物検査に適した技術であり、ディープラーニング(深層学習)の一種であるオートエンコーダ(自己符号化器)を用い、入力画像と出力画像の差分を検出する差分検出システム及び差分検出方法に関する。
続きを表示(約 1,600 文字)
【背景技術】
【0002】
従来より、立体物検査の手法として、レーザー光等を用いた縞投影や光切断法が知られていた。例えば特許文献1に開示された立体物検査は、レーザー光源からのスリット光を照射して取得した被検査物の三次元形状の点群データに基いて被検査物を表示する。そして、この表示した被検査物に切断線を設定する。その後、設定した切断線に対応した点群データにより、切断線における被検査物の断面形状を算出する。しかし、レーザー光等を用いた立体物検査用の装置は高額で、導入の敷居が高く、操作も困難であった。
【0003】
一方、人工知能技術を利用すれば、低コストで操作が簡単な立体物検査が可能になる。具体的には、ディープラーニングの一種であるオートエンコーダは、入力画像を復元する機能を持っている。良品画像のみで学習させれば、不良品画像も良品画像に復元されることになる。これを利用して入力画像と出力画像の差分を取ることで、不良箇所を浮かび上がらせることができる。
【先行技術文献】
【特許文献】
【0004】
特開2012-37487号公報
【発明の概要】
【発明が解決しようとする課題】
【0005】
本願発明者らは、より利便性の高いオートエンコーダの開発に取り組んだ結果、従来のオートエンコーダに、次のような課題が見い出された。すなわち、オートエンコーダの再現性を向上させたり、立体物を様々なアングルから検査可能とするには、パラメータが大規模化かつ複雑化してしまう。この場合、学習データをパラメータに見合った量だけ準備しないと、過学習を引き起こしたり、エポック数を増やす必要があるという問題が生じる。また、学習データやエポック数を増やすと、より高性能なGPU(Graphics Processing Unit)が必要となるという問題があった。
【0006】
本発明は、低コストで操作が簡単なオートエンコーダの利点は維持しながら、パラメータを大規模化したり複雑化させることなく、再現性が高く立体物の検査の精度が高い差分検出システム及び差分検出方法を提供することを目的とする。
【課題を解決するための手段】
【0007】
前記目的を達成するために、本発明の差分検出システムは、オートエンコーダを用い、入力画像と出力画像の差分を検出する差分検出システムであって、前記オートエンコーダは、画像入力から画像出力までのプロセスを実行し、かつ一対のエンコーダとデコーダとを含むニューラルネットワークを備えており、前記ニューラルネットワークの1つ分を1ヘッドとすると、前記オートエンコーダは、複数ヘッドが並列に配置されたマルチヘッドオートエンコーダであることを特徴とする。
【0008】
本発明の差分検出方法は、オートエンコーダを用い、入力画像と出力画像の差分を検出する差分検出方法であって、前記オートエンコーダは、画像入力から画像出力までのプロセスを実行し、かつ一対のエンコーダとデコーダとを含むニューラルネットワークを備えており、前記ニューラルネットワークの1つ分を1ヘッドとすると、前記オートエンコーダは、複数ヘッドが並列に配置されたマルチヘッドオートエンコーダであることを特徴とする。
【0009】
前記本発明の差分検出システム又は差分検出方法においては、前記複数ヘッドのそれぞれに入力される入力画像は同一であることが好ましい。
【発明の効果】
【0010】
本発明によれば、低コストで操作が簡単なオートエンコーダの利点は維持しながら、パラメータを大規模化したり複雑化させることなく、再現性が高く立体物の検査の精度が高い差分検出システム及び差分検出方法を実現することができる。
【図面の簡単な説明】
(【0011】以降は省略されています)
この特許をJ-PlatPat(特許庁公式サイト)で参照する
関連特許
個人
詐欺保険
4日前
個人
縁伊達ポイン
4日前
個人
地球保全システム
17日前
個人
QRコードの彩色
8日前
個人
為替ポイント伊達夢貯
1か月前
個人
冷凍食品輸出支援構造
1か月前
個人
残土処理システム
10日前
個人
農作物用途分配システム
3日前
個人
表変換編集支援システム
1か月前
個人
知的財産出願支援システム
11日前
個人
知財出願支援AIシステム
1か月前
個人
AIによる情報の売買の仲介
1か月前
個人
パスワード管理支援システム
1か月前
個人
行動時間管理システム
1か月前
株式会社キーエンス
受発注システム
16日前
個人
海外支援型農作物活用システム
29日前
株式会社キーエンス
受発注システム
16日前
個人
食品レシピ生成システム
16日前
個人
AIキャラクター制御システム
1か月前
日本精機株式会社
施工管理システム
1か月前
株式会社アジラ
進入判定装置
1か月前
個人
システム及びプログラム
1か月前
株式会社キーエンス
受発注システム
16日前
個人
人格進化型対話応答制御システム
1か月前
個人
社会還元・施設向け供給支援構造
1か月前
個人
SaaS型勤務調整支援システム
1か月前
個人
未来型家系図構築システム
29日前
個人
音声対話型帳票生成支援システム
1か月前
キヤノン株式会社
表示システム
16日前
個人
冷凍加工連携型農場運用システム
1か月前
大同特殊鋼株式会社
疵判定方法
23日前
個人
音声・通知・再配達UX制御構造
11日前
個人
帳票自動生成型SaaSシステム
11日前
サクサ株式会社
中継装置
1か月前
株式会社竹中工務店
管理システム
29日前
大同特殊鋼株式会社
棒材計数方法
9日前
続きを見る
他の特許を見る