TOP
|
特許
|
意匠
|
商標
特許ウォッチ
Twitter
他の特許を見る
公開番号
2025158678
公報種別
公開特許公報(A)
公開日
2025-10-17
出願番号
2024061458
出願日
2024-04-05
発明の名称
丸太識別システム及び丸太識別方法
出願人
国立大学法人 鹿児島大学
代理人
個人
,
個人
,
個人
,
個人
主分類
G06T
7/60 20170101AFI20251009BHJP(計算;計数)
要約
【課題】丸太に電子タグ等を取り付けることなく、丸太のトレーサビリティを実現することができる丸太識別システム及び丸太識別方法を提供する。
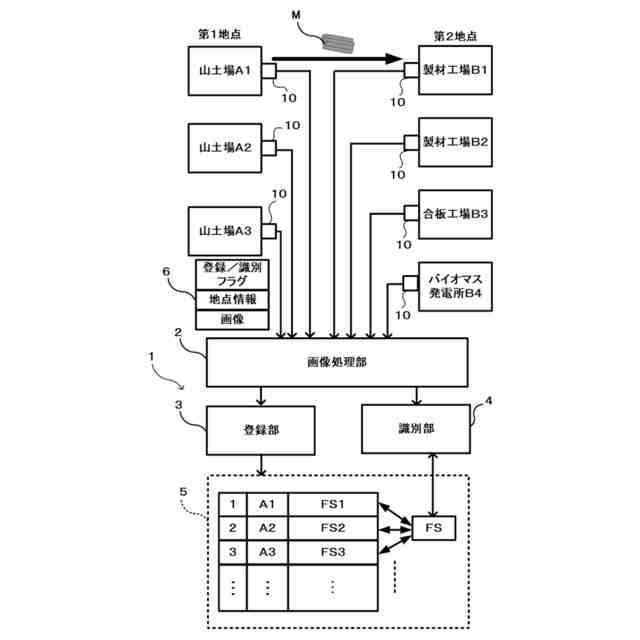
【解決手段】丸太識別システム1は、画像処理部2と、登録部3と、識別部4と、を備える。画像処理部2は、丸太Mの木口の画像である木口画像に基づいて、木口の輪郭の凹凸を表す凹凸波形に含まれる周波数スペクトルを算出する。登録部3は、第1地点A1、A2、A3、・・・で撮像された丸太Mの木口画像に基づいて、画像処理部2によって算出された周波数スペクトルFS1、FS2,FS3、・・・と、第1地点A1、A2、A3、・・・の情報とを関連付けて丸太M毎にデータベースに登録する。識別部4は、第1地点A1、A2、A3、・・・とは異なる第2地点B1、B2、B3、B4、・・・で撮像された丸太Mの木口画像に基づいて画像処理部2によって算出された周波数スペクトルFSを用いて、データベース5を参照し、周波数スペクトルFSに対応する丸太Mを識別する。
【選択図】図1
特許請求の範囲
【請求項1】
丸太の木口の画像である木口画像に基づいて、前記木口の輪郭の凹凸を表す凹凸波形に含まれる周波数スペクトルを算出する画像処理部と、
第1地点で撮像された丸太の木口画像に基づいて、前記画像処理部によって算出された周波数スペクトルと、前記第1地点の情報とを関連付けて丸太毎にデータベースに登録する登録部と、
前記第1地点とは異なる第2地点で撮像された丸太の木口画像に基づいて前記画像処理部によって算出された周波数スペクトルを用いて、前記データベースを参照し、周波数スペクトルに対応する丸太を識別する識別部と、
を備える丸太識別システム。
続きを表示(約 1,000 文字)
【請求項2】
前記画像処理部は、
事前に学習されたセグメンテーションモデルを用いて、前記木口画像から、樹皮を除く前記木口の領域である木口領域が抽出された木口領域画像を生成する領域抽出部と、
前記木口領域画像から、前記木口領域の輪郭を抽出する輪郭抽出部と、
前記木口領域の重心を始点とする半直線を、前記重心を中心として回転させ、前記半直線の回転角度を横軸とし、前記重心から前記半直線と前記輪郭との交点までの距離を縦軸とする凹凸波形を生成する波形生成部と、
前記凹凸波形に対して周波数変換を行って、前記周波数スペクトルを生成する周波数変換部と、を備える、
請求項1に記載の丸太識別システム。
【請求項3】
前記波形生成部は、前記凹凸波形の振幅を所定の基準で標準化し、
前記周波数変換部は、振幅が標準化された前記凹凸波形に対して周波数変換を行う、
請求項2に記載の丸太識別システム。
【請求項4】
前記波形生成部は、前記木口領域画像の前記輪郭を構成するピクセルを通る前記半直線をサンプリング点として前記凹凸波形を生成し、隣り合うサンプリング点の回転角度の差が均等になるように前記サンプリング点を補間してリサンプリングを行い、
前記周波数変換部は、リサンプリングされた前記凹凸波形に対して周波数変換を行う、
請求項2に記載の丸太識別システム。
【請求項5】
前記識別部は、前記データベースを参照して、k最近傍法を用いて、前記周波数スペクトルに関連付けられた前記第1地点を識別する、
請求項1から4のいずれか一項に記載の丸太識別システム。
【請求項6】
情報処理装置によって実行される丸太識別方法であって、
丸太の木口の画像である木口画像に基づいて、前記木口の輪郭の凹凸を表す凹凸波形に含まれる周波数スペクトルを算出する画像処理ステップと、
第1地点で撮像された丸太の木口画像に基づいて、前記画像処理ステップで算出された前記周波数スペクトルと、前記第1地点の情報とを関連付けて丸太毎にデータベースに登録する登録ステップと、
前記第1地点とは異なる第2地点で撮像された丸太の木口画像に基づいて前記画像処理ステップで算出された前記周波数スペクトルを用いて、前記データベースを参照し、前記周波数スペクトルに対応する丸太を識別する識別ステップと、
を含む丸太識別方法。
発明の詳細な説明
【技術分野】
【0001】
本発明は、丸太識別システム及び丸太識別方法に関する。
続きを表示(約 1,700 文字)
【背景技術】
【0002】
違法伐採対策として、木材の合法性確認の義務化や合法伐採木材の利用促進等の取り組みが行われている。木材の合法性確認及び合法伐採木材の信頼性の向上には木材のトレーサビリティが不可欠であり、識別情報による丸太の識別・管理が重要である。これまで、電子タグを用いた木材のトレーサビリティ技術が考案されている(例えば、非特許文献1参照)。
【先行技術文献】
【非特許文献】
【0003】
添原 洋平、外3名、“建築用木材データベースに関する研究 その2 長野県・新潟県における木材トレーサビリティシステムの検証”、[online]、平成26年7月、日本建築学会北陸支部研究報告集、[令和6年3月23日検索]、インターネット<URL:https://www.shinshu-u.ac.jp/faculty/engineering/chair/arch009/old/doc/reserch/traceability/pdf2.pdf>
【発明の概要】
【発明が解決しようとする課題】
【0004】
しかし、電子タグを用いる場合、丸太に電子タグを取り付ける作業が必要となるうえ、電子タグの製造費用など、追加のコストが生じる。さらに、電子タグが抜き取られて他の丸太に不正使用される場合もある。
【0005】
本発明は、上記実情の下になされたものであり、丸太に電子タグ等を取り付けることなく、丸太のトレーサビリティを実現することができる丸太識別システム及び丸太識別方法を提供することを目的とする。
【課題を解決するための手段】
【0006】
上記目的を達成するために、本発明の第1の観点に係る丸太識別システムは、
丸太の木口の画像である木口画像に基づいて、前記木口の輪郭の凹凸を表す凹凸波形に含まれる周波数スペクトルを算出する画像処理部と、
第1地点で撮像された丸太の木口画像に基づいて、前記画像処理部によって算出された周波数スペクトルと、前記第1地点の情報とを関連付けて丸太毎にデータベースに登録する登録部と、
前記第1地点とは異なる第2地点で撮像された丸太の木口画像に基づいて前記画像処理部によって算出された周波数スペクトルを用いて、前記データベースを参照し、周波数スペクトルに対応する丸太を識別する識別部と、
を備える。
【0007】
前記画像処理部は、
事前に学習されたセグメンテーションモデルを用いて、前記木口画像から、樹皮を除く前記木口の領域である木口領域が抽出された木口領域画像を生成する領域抽出部と、
前記木口領域画像から、前記木口領域の輪郭を抽出する輪郭抽出部と、
前記木口領域の重心を始点とする半直線を、前記重心を中心として回転させ、前記半直線の回転角度を横軸とし、前記重心から前記半直線と前記輪郭との交点までの距離を縦軸とする凹凸波形を生成する波形生成部と、
前記凹凸波形に対して周波数変換を行って、前記周波数スペクトルを生成する周波数変換部と、を備える、
こととしてもよい。
【0008】
前記波形生成部は、前記凹凸波形の振幅を所定の基準で標準化し、
前記周波数変換部は、振幅が標準化された前記凹凸波形に対して周波数変換を行う、
こととしてもよい。
【0009】
前記波形生成部は、前記木口領域画像の前記輪郭を構成するピクセルを通る前記半直線をサンプリング点として前記凹凸波形を生成し、隣り合うサンプリング点の回転角度の差が均等になるように前記サンプリング点を補間してリサンプリングを行い、
前記周波数変換部は、リサンプリングされた前記凹凸波形に対して周波数変換を行う、
こととしてもよい。
【0010】
前記識別部は、前記データベースを参照して、k最近傍法を用いて、前記周波数スペクトルに関連付けられた前記第1地点を識別する、
こととしてもよい。
(【0011】以降は省略されています)
この特許をJ-PlatPat(特許庁公式サイト)で参照する
関連特許
国立大学法人 鹿児島大学
プログラム
6か月前
国立大学法人 鹿児島大学
骨補填材の製造方法
6か月前
国立大学法人 鹿児島大学
予測システム及びプログラム
3か月前
ロート製薬株式会社
鎮痒剤
1か月前
国立大学法人 鹿児島大学
評価方法、評価装置及びプログラム
3か月前
国立大学法人 鹿児島大学
丸太識別システム及び丸太識別方法
3日前
国立大学法人 鹿児島大学
ラダー状ポリシロキサン及びその製造方法
5か月前
国立大学法人 鹿児島大学
経路設計システム、経路設計方法及びプログラム
1か月前
国立大学法人 鹿児島大学
魚介類用配合飼料及び魚介類用配合飼料の製造方法
5か月前
三彩化工株式会社
防錆用組成物および防錆方法
6日前
国立大学法人 鹿児島大学
映像訓練データ拡張システム、映像訓練データ拡張方法及びプログラム
12日前
国立大学法人 鹿児島大学
生成AIの調整用データのデータ構造、対話システム、調整方法及びプログラム
1か月前
国立大学法人 鹿児島大学
被験者の抗PD-1抗体に対する応答性をin vitroで予測するための方法
4か月前
国立大学法人 鹿児島大学
PAC1受容体拮抗薬を用いた鎮痒薬
2か月前
KAICO株式会社
経口ワクチン組成物
4か月前
国立大学法人 鹿児島大学
消化管出血モデル動物の製造方法、消化管出血モデル動物及び止血剤のスクリーニング方法
6か月前
国立大学法人 鹿児島大学
船員見守り装置、船員見守りシステム、及び船員見守りプログラム
1か月前
環境バイオエンジニアリング株式会社
土壌伝染性病害原因菌である基腐病菌に抗菌性を有する防除剤及びそれを用いた土壌伝染性病害防除方法
1か月前
デンカ株式会社
IgG結合ペプチドを用いたIgG抗体の部位特異的修飾体を用いた免疫測定方法
3か月前
個人
詐欺保険
6日前
個人
縁伊達ポイン
6日前
個人
工程設計支援装置
2か月前
個人
地球保全システム
19日前
個人
QRコードの彩色
10日前
個人
フラワーコートA
2か月前
個人
冷凍食品輸出支援構造
1か月前
個人
為替ポイント伊達夢貯
1か月前
個人
残土処理システム
12日前
個人
表変換編集支援システム
1か月前
個人
農作物用途分配システム
5日前
個人
携帯情報端末装置
2か月前
個人
知的財産出願支援システム
13日前
個人
結婚相手紹介支援システム
2か月前
個人
知財出願支援AIシステム
1か月前
個人
パスワード管理支援システム
1か月前
個人
行動時間管理システム
1か月前
続きを見る
他の特許を見る