TOP
|
特許
|
意匠
|
商標
特許ウォッチ
Twitter
他の特許を見る
公開番号
2025133698
公報種別
公開特許公報(A)
公開日
2025-09-11
出願番号
2025024875
出願日
2025-02-19
発明の名称
熱回収蒸気発生器用の入口ダクトシステム
出願人
ジーイー・ベルノバ・テクノロジー・ゲーエムベーハー
,
GE Vernova Technology GmbH
代理人
個人
,
弁理士法人NIP&SBPJ国際特許事務所
主分類
F22B
37/06 20060101AFI20250904BHJP(蒸気発生)
要約
【解決方法】熱回収蒸気発生器用の入口ダクトシステムを提供する。
【解決手段】
システム(10)は、熱回収蒸気発生器(HRSG)(16)用の排気ディフューザシステム(22)を含む。システム(10)は、入口部(23)と、入口部(23)から軸方向に延びるディフューザ部(24)と、ディフューザ部(24)の軸方向遠位端に流体的に結合された出口部(26)とを含み、出口部分(26)の出口範囲(252)は、入口部(23)の入口範囲(254)よりも大きい。ディフューザ部(24)は複数の壁部(272)を含み、複数の壁部(272)は、入口部(23)から出口部分(26)まで延びる軸方向範囲(258)に対して漸増的に角度が付けられている。システム(10)は、入口部(23)に結合されたガスタービンエンジン(12)と、出口部(26)に結合されたHRSG(16)とを更に含むことができる。
【選択図】図2
特許請求の範囲
【請求項1】
システム(10)であって、
熱回収蒸気発生器(HRSG)(16)用の排気ディフューザシステム(22)を含み、前記排気ディフューザシステム(22)は、
入口部(23)、
前記入口部(23)から軸方向に延びるディフューザ部(24)であって、前記ディフューザ部(24)は、前記ディフューザ部(24)の中心軸の周囲に配置された複数の側部(280)を有する、ディフューザ部(24)、及び
前記ディフューザ部(24)の軸方向遠位端に流体的に結合された出口部(26)
を含み、
前記出口部(26)の出口範囲(252)は、前記入口部(23)の入口範囲(254)よりも大きく、前記ディフューザ部(24)の複数の側部(280)のうちの少なくとも1つの側部は、複数の壁部(272)を有し、前記複数の壁部(272)は、前記入口部(23)から前記出口部(26)まで広がる軸方向範囲(258)に対して漸増的に角度が付けられており、
前記複数の壁部(272)の各壁部は、前記複数の壁部(272)の直前の壁部に対して、150度と179度との間の角度の共通角度範囲内の或る角度だけ相対的に角度が付けられている、前記複数の壁部(272)の連続する壁部の間の角度が10度より小さい角度だけ変化する、又はこの組合せが実現されている、システム(10)。
続きを表示(約 1,200 文字)
【請求項2】
前記ディフューザ部(24)の複数の側部(280)は、
前記複数の壁部(272)のうちの第1の複数の壁部(290)を有する第1の側壁(281)、
前記複数の壁部(272)のうちの第2の複数の壁部(318)を有する第2の側壁(282)、
前記複数の壁部(272)のうちの第3の複数の壁部(480)を有する第3の側壁(284)、
前記複数の壁部(272)のうちの第4の複数の壁部(346)を有する第4の側壁(286)、又は、
これらの側壁の組合せ
を有する、請求項1に記載のシステム(10)。
【請求項3】
前記第1の複数の壁部(290)は4つ以上の壁部を含む、前記第2の複数の壁部(318)は4つ以上の壁部を含む、前記第3の複数の壁部(480)は4つ以上の壁部を含む、前記第4の複数の壁部(346)は4つ以上の壁部を含む、又は、これらの組合せが実現されている、請求項2に記載のシステム(10)。
【請求項4】
前記第1の複数の壁部(290)、前記第2の複数の壁部(318)、前記第3の複数の壁部(480)、及び前記第4の複数の壁部(346)のうちの少なくとも1つは、平坦な壁部を有する、請求項2又は3に記載のシステム(10)。
【請求項5】
前記第1の複数の壁部(290)、前記第2の複数の壁部(318)、前記第3の複数の壁部(480)、及び前記第4の複数の壁部(346)のうちの少なくとも1つは、前記軸方向範囲(258)に対して外側に湾曲した壁部を有する、請求項2、3、又は4に記載のシステム(10)。
【請求項6】
前記ディフューザ部(24)は、前記第1の複数の壁部(290)、前記第2の複数の壁部(318)、前記第3の複数の壁部(480)、及び前記第4の複数の壁部(346)によって形成された複数の略矩形の断面を有する、請求項2、3、4、又は5に記載のシステム(10)。
【請求項7】
前記複数の壁部(272)は、錐体形状を有する少なくとも1つの壁部を有する、請求項1に記載のシステム(10)。
【請求項8】
前記出口部(26)は、前記軸方向範囲(258)に対して交差する方向に広がる湾曲壁(256)を有する、請求項1に記載のシステム(10)。
【請求項9】
前記ディフューザ部(24)は、前記出口部(26)の湾曲壁(256)の凸部(260)に結合されている、請求項8に記載のシステム(10)。
【請求項10】
前記湾曲壁(256)に関連する曲率は、前記出口部(26)の横方向範囲(524)に沿った位置(544)で増加し始め、前記位置(544)は、前記出口部(26)の横方向遠位端(546)から、前記横方向範囲(524)の全長の10パーセントの長さよりも内側の位置にある、請求項8又は9に記載のシステム(10)。
(【請求項11】以降は省略されています)
発明の詳細な説明
【技術分野】
【0001】
本明細書で開示される主題は、一般に、熱回収蒸気発生器用の入口ダクトシステムに関する。
続きを表示(約 2,900 文字)
【背景技術】
【0002】
熱回収蒸気発生器(HRSG)は、HRSGに結合された入口ダクトを通じて排気流を取り込むことができ、入口ダクトはガスタービン装置に結合されている。残念なことに、排気流は入口ダクトの内面から剥離し、排気流と内面との間に1つ又は複数の渦を形成することがある。入口ダクトの内面から排気流が剥離すると、入口ダクトの内部で圧力損失が生じ、それにより、接続されたタービン(すなわち、膨張タービン)への背圧が増大し、ガスタービンシステムを含む複合サイクル発電所の効率が低下する。したがって、排気流が入口ダクトの内面から剥離してHRSGに向かうことを少なくとも緩和する又は防止する必要がある。
【発明の概要】
【0003】
当初請求した発明の範囲に相応する特定の実施形態を以下に要約する。これらの実施形態は、特許請求される発明の範囲を限定することを意図したものではなく、これらの実施形態は、本発明の可能な形態の簡単な要約を提供することのみを意図したものである。実際、本発明は、以下に示す実施形態に類似する又は異なる様々な形態を包含し得るものである。
【0004】
特定の実施形態では、システムは、熱回収蒸気発生器(HRSG)用の排気ディフューザシステムを含む。本システムは、入口部、前記入口部から軸方向に延びるディフューザ部、及び前記ディフューザ部の軸方向遠位端に流体的に結合された出口部を含み、前記出口部の出口範囲は、前記入口部の入口範囲よりも大きい。前記ディフューザ部は複数の側壁を含み、前記複数の側壁は、前記入口部から前記出口部まで広がる軸方向範囲に対して漸増的に角度が付けられている。
【0005】
特定の実施形態では、システムは、ガスタービンシステム、熱回収蒸気発生器(HRSG)、及び排気ディフューザシステムを含む。前記排気ディフューザシステムは、前記ガスタービンシステムに結合された入口部と、前記入口部から軸方向に延びるディフューザ部と、前記ディフューザ部の軸方向遠位端に流体的に結合されたプレナムとを含み、前記プレナムはHRSGに結合され、前記プレナムのプレナム範囲は、前記入口部の入口範囲よりも大きい。前記ディフューザ部は、複数の壁部を含み、前記複数の壁部は、前記入口部から前記プレナムまで広がる軸方向範囲に対して漸増的に角度が付けられており、前記プレナムは、前記軸方向範囲に対して交差する方向に広がる湾曲壁を含む。
【0006】
特定の実施形態では、方法は、排気ディフューザシステムの入口部を通じてガスタービンからの排気流を受け取ることを含む。本方法は、前記排気ディフューザシステムのディフューザ部の排気流を膨張させることを更に含み、前記ディフューザ部は、前記排気ディフューザシステムの入口部から出口部に向かって漸増的に角度が付けられた複数の壁部を含む。本方法は、前記排気流を、前記出口部のプレナムを通じてHRSGに排出することを更に含み、前記プレナムは、前記ディフューザ部に対して交差するように広がる湾曲壁を含む。
【図面の簡単な説明】
【0007】
本発明のこれらの特徴、態様、及び利点並びに他の特徴、態様、及び利点は、以下の詳細な説明を図面を参照しながら読むと、更によく理解することができる。図面において、同種の文字は同種の部品を表している。
ガスタービンシステム、蒸気タービンシステム、HRSG、及びガスタービンシステムとHRSGとの間の排気ディフューザシステムを有する複合サイクル発電プラントシステム(以下、「複合サイクルシステム」という)の一実施形態のブロック図である。
図1のHRSGに結合された排気ディフューザシステムの一実施形態の側面図であり、排気流をHRSGに導くことができる排気ディフューザシステムの態様を示す。
図2の排気ディフューザシステムの一実施形態の側面図であり、排気ディフューザシステムの移行部及び結合部の態様を示す。
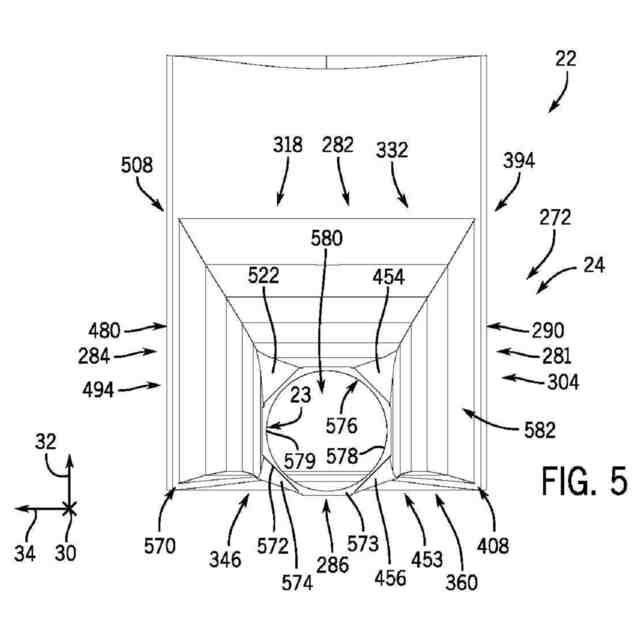
図2の排気ディフューザシステムの一実施形態の上面図であり、排気ディフューザシステムの移行部及び結合部の態様を示す。
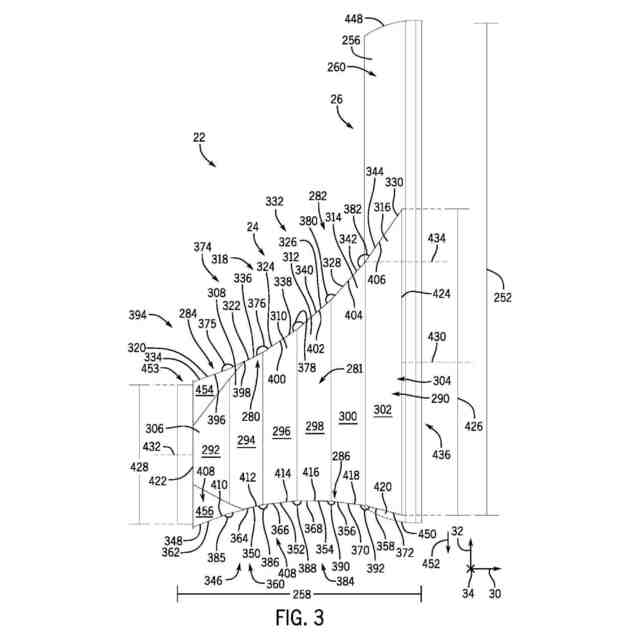
図2の排気ディフューザシステムの一実施形態の正面図であり、排気ディフューザシステムの、漸増的に角度が付けられた複数の平坦な壁部を有する移行部の態様を示す。
図2の排気ディフューザシステムの一実施形態の正面図であり、排気ディフューザシステムにおいて漸増的に角度が付けられた複数の湾曲状の壁部を有する移行部の態様を示す。
図2の排気ディフューザシステムの入口部の動作のプロセスの一実施形態のフローチャートである。
【発明を実施するための形態】
【0008】
以下に、本発明の1つ又は複数の具体的な実施形態が記載される。これらの実施形態は簡潔に記載することが試みられており、実際の実装の全ての特徴が本明細書に記載されているとは限らない。どのような実際の実装の開発でも、エンジニアリングプロジェクト又はデザインプロジェクトのように、開発者の特定の目標(システム関連の制約及びビジネス関連の制約の順守などであり、実装によって異なる場合がある)を達成するために、実装に固有の多数の決定を実行しなければならないことを理解すべきである。更に、このような開発努力は複雑で時間がかかるかもしれないが、本開示の利益を得る当業者にとっては、設計、製作、及び製造の日常的な業務であることを理解すべきである。
【0009】
本主題の様々な実施形態の要素を導入する場合、冠詞「1つ(a)」、「1つ(an)」、「この(the)」、及び「前記(said)」は、その要素が1つ又は複数存在することが意図されている。「含む、備える、有する(comprising、including、having)」という用語は、包括的であることが意図されており、列挙された要素以外の追加の要素が存在してもよいことを意味している。
【0010】
以下により詳細に説明するように、開示される実施形態は、HRSG用の排気ディフューザシステム(例えば、入口ダクト)を含んでおり、HRSG用の排気ディフューザシステムは、排気ディフューザシステムの移行部の内面からの排気ガス流の流れ剥離を緩和するように構成されている。特定の実施形態において、排気ディフューザシステムは、移行部に結合された入口部を含み、移行部は、入口部から軸方向に延びる。移行部は複数の側壁を含み、1つ以上の側壁は複数の壁部を有している。この壁部は、外側に漸増的に角度が付けられており、移行部が移行部の軸方向範囲に沿って外側に徐々に広がるようになっている。移行部が徐々に広がることにより、移行部を流れる排気ガスの流れが移行部の内面から剥離してしまうことが緩和され、それにより、内面と排気ガス流との間に渦が形成されることが緩和される。
(【0011】以降は省略されています)
この特許をJ-PlatPat(特許庁公式サイト)で参照する
関連特許
三浦工業株式会社
台数制御装置
2か月前
三浦工業株式会社
ボイラ
5か月前
三浦工業株式会社
水蒸気発生装置
1か月前
三菱重工業株式会社
ボイラ壁
1か月前
日精オーバル株式会社
蒸気発生装置
2か月前
三浦工業株式会社
管理装置
5か月前
三浦工業株式会社
貫流ボイラ
1か月前
三浦工業株式会社
電極式ボイラ
13日前
株式会社ミヤワキ
蒸気プラント
3か月前
栗田工業株式会社
ボイラ水処理装置および処理方法
4か月前
三浦工業株式会社
ボイラ水の水質評価用試料水の調製装置
8か月前
三浦工業株式会社
蒸気発生装置
5か月前
三菱重工業株式会社
蒸気生成システム及び蒸気生成方法
2か月前
三菱重工業株式会社
ガスバーナ及びこれを備えたボイラ
8か月前
三菱重工業株式会社
伝熱管の検査装置および方法
7か月前
神鋼検査サービス株式会社
スケール除去ユニット
2か月前
三浦工業株式会社
水素ボイラシステムの制御装置
5か月前
株式会社ヒラカワ
ボイラからの排ガスの温度制御方法
5か月前
中国電力株式会社
吊下パネルの修繕方法及び吊下管整列用具
27日前
JFEエンジニアリング株式会社
排熱回収ボイラ及びその給水バイパス制御方法
1か月前
丸高工業株式会社
加熱装置の制御方法及び加熱装置
6か月前
株式会社東芝
蒸気発生装置
8か月前
日本特殊陶業株式会社
蒸発器および蒸発器を備えるホットモジュール
7か月前
三菱重工業株式会社
プラント制御装置、プラント制御方法、及び、プラント制御プログラム
7か月前
東京電力ホールディングス株式会社
蒸気タービンプラント
2か月前
シェンチェン ウッディー ベイプス テクノロジー カンパニー,リミテッド
アトマイザー
6か月前
JFEエンジニアリング株式会社
過熱装置および過熱装置による過熱蒸気温度の制御方法
5か月前
三菱重工業株式会社
熱電併給用蒸気生成システム及び熱電併給システム並びに熱電併給用蒸気生成方法
1か月前
三菱重工業株式会社
ボイラ制御装置、ボイラ、発電プラント、ボイラ制御方法およびボイラ制御プログラム
3か月前
DOWAテクノエンジ株式会社
熱伸縮吸収用エキスパンション構造
6か月前
三菱重工業株式会社
ボイラの制御装置、これを備えたボイラシステム、ボイラの制御方法及びボイラの制御プログラム
2か月前
トクデン株式会社
過熱水蒸気生成装置、及び、過熱水蒸気生成装置に用いられる導体管の製造方法
6か月前
株式会社サーモテック
温度調節システム
26日前
三菱重工業株式会社
CO2回収装置用蒸気生成システム及びこれを備えたCO2回収装置並びにCO2回収装置用蒸気生成方法
1か月前
ASTRA FOOD PLAN株式会社
過熱水蒸気発生装置
5か月前
インターナショナル・ペーパー・カンパニー
ファウリングを減少させるように回収ボイラの動作を制御するシステムおよび方法
7日前
続きを見る
他の特許を見る