TOP
|
特許
|
意匠
|
商標
特許ウォッチ
Twitter
他の特許を見る
10個以上の画像は省略されています。
公開番号
2025134127
公報種別
公開特許公報(A)
公開日
2025-09-17
出願番号
2024031827
出願日
2024-03-04
発明の名称
蒸気発生装置
出願人
日精オーバル株式会社
代理人
個人
,
個人
,
個人
主分類
F22B
27/16 20060101AFI20250909BHJP(蒸気発生)
要約
【課題】散布された水の一部がサウナストーンによって水蒸気にならずにサウナストーンを通過したとしても、その水を全て水蒸気にして拡散させることができる蒸気発生装置を提供する。
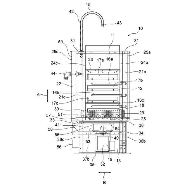
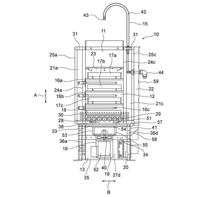
【解決手段】蒸気発生装置10では、第1~第3赤外線ヒーター16a~16cによって高温に加熱されたそれらサウナストーン14に水をかけることで水蒸気が発生し、それらサウナストーン14によって発生した水蒸気がシロッコファン19によって空気流路22から上方へ放出される気流に乗って第1収容スペース11から上方へ拡散し、第1水平プレート23の通気孔26から第2収容スペース12に落下した水が第1~第3傾斜蒸発プレート17a~17cを流れる過程において水蒸気となるとともに、水平蒸発プレート18において水蒸気となって第1収容スペース11から上方へ拡散する。
【選択図】図1
特許請求の範囲
【請求項1】
高温に加熱されたサウナストーンに水をかけて水蒸気を発生させる蒸気発生装置において、
前記蒸気発生装置が、複数の通気孔を有する水平プレートと前記水平プレートの周縁から上下方向上方へ延びる内周壁とから形成されて複数のサウナストーンを収容する所定容積の第1収容スペースと、前記第1収容スペースの下方に位置する水平蒸発プレートと前記水平蒸発プレートの周縁から上下方向上方へ延びる前記内周壁とから形成された所定容積の第2収容スペースと、前記第2収容スペースに配置されて該第2収容スペースの上下方向上方から下方に向かって並ぶ少なくとも2つの傾斜蒸発プレートと、前記第2収容スペースに配置されて前記サウナストーン、前記水平蒸発プレート、前記傾斜蒸発プレートを加熱する熱源と、前記第1及び第2収容スペースの側方に形成されて空気が通流する空気流路と、前記水平蒸発プレートの下方に設置されて前記空気流路に沿って下方から上方へ向かう気流を発生させる送風ファンとを有し、上方に位置する前記傾斜蒸発プレートの傾斜する向きに対し、下方に位置する該傾斜蒸発プレートの傾斜する向きが逆になり、
前記蒸気発生装置では、前記熱源によって高温に加熱されたそれらサウナストーンに水をかけることで水蒸気が発生し、それらサウナストーンによって発生した水蒸気が前記送風ファンによって前記空気流路から上方へ放出される気流に乗って前記第1収容スペースから上方へ拡散するとともに、前記水平プレートの通気孔から前記第2収容スペースに落下した水がそれら傾斜蒸発プレートを流れる過程において水蒸気となって前記第1収容スペースから上方へ拡散することを特徴とする蒸気発生装置。
続きを表示(約 1,700 文字)
【請求項2】
前記上方に位置する傾斜蒸発プレートの他端部が、前記下方に位置する傾斜蒸発プレートの他端部の幅方向内側に位置するとともに、前記上方に位置する傾斜蒸発プレートの一端部が、前記下方に位置する傾斜蒸発プレートの一端部の幅方向内側に位置し、前記上方に位置する傾斜蒸発プレートの他端部から上下方向下方へ流れ落ちた水が、前記下方に位置する傾斜蒸発プレートの他端部に落下し、前記上方に位置する傾斜蒸発プレートの一端部から上下方向下方へ流れ落ちた水が、前記下方に位置する傾斜蒸発プレートの一端部に落下する請求項1に記載の蒸気発生装置。
【請求項3】
前記傾斜蒸発プレートが、前記第2収容スペースの最上に位置してその一端部から他端部に向かって所定角度で下り勾配に傾斜する第1傾斜蒸発プレートと、前記第1傾斜蒸発プレートの直下に位置してその他端部から一端部に向かって所定角度で下り勾配に傾斜する第2傾斜蒸発プレートと、前記第2傾斜蒸発プレートの直下に位置してその一端部から他端部に向かって所定角度で下り勾配に傾斜する第3傾斜蒸発プレートとから形成され、前記熱源が、前記第1傾斜蒸発プレートと前記第2傾斜蒸発プレートとの間に位置する第1熱源と、前記第2傾斜蒸発プレートと前記第3傾斜蒸発プレートとの間に位置する第2熱源と、前記第3傾斜蒸発プレートと前記水平蒸発プレートとの間に位置する第3熱源とから形成され、前記第1傾斜蒸発プレートの他端部が、前記第2傾斜蒸発プレートの他端部の幅方向内側に位置し、前記第2傾斜蒸発プレートの一端部が、前記第3傾斜蒸発プレートの一端部の幅方向内側に位置し、前記第1傾斜蒸発プレートの他端部から上下方向下方へ流れ落ちた水が、前記第2傾斜蒸発プレートの他端部に落下し、前記第2傾斜蒸発プレートの一端部から上下方向下方へ流れ落ちた水が、前記第3傾斜蒸発プレートの一端部に落下する請求項2に記載の蒸気発生装置。
【請求項4】
前記蒸気発生装置が、前記第1収容スペースの上方から該第1収容スペースに収容されたそれらサウナストーンに向かって水を散水する散水ノズルを備えた給水装置を含む請求項3に記載の蒸気発生装置。
【請求項5】
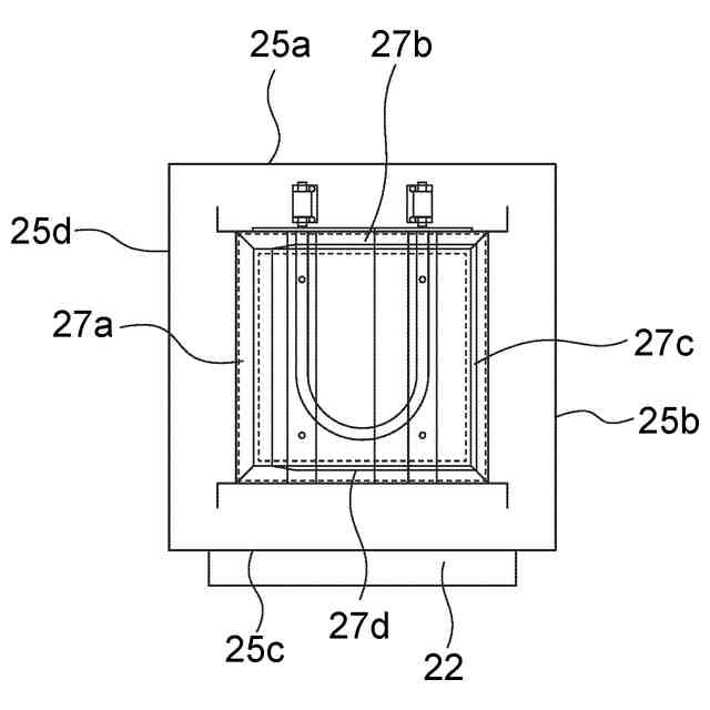
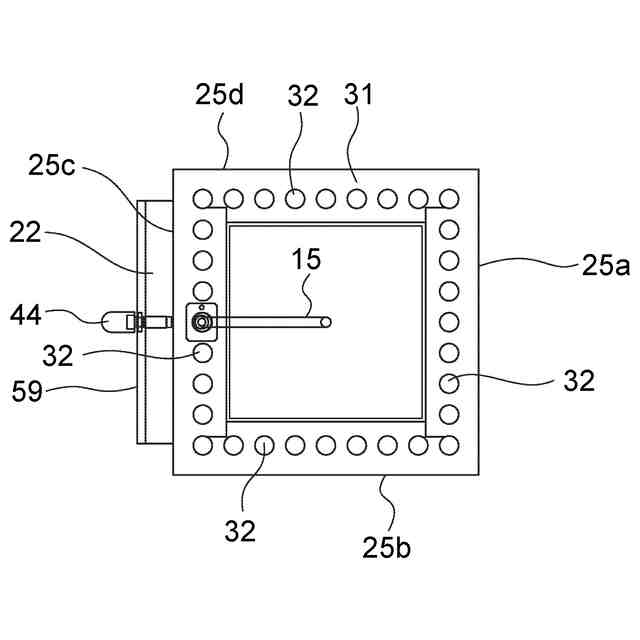
前記蒸気発生装置が、前記内周壁の径方向外側に位置して上下方向へ延びる外周壁と、前記内周壁及び前記外周壁の間に形成されて縦方向へ延びていて前記水平蒸発プレート及び前記第1~第3傾斜蒸発プレートにおいて発生した水蒸気が通流する水蒸気流路とを含み、前記蒸気発生装置では、前記水平蒸発プレート及び前記第1~第3傾斜蒸発プレートにおいて発生した水蒸気が水蒸気流路を通流して水蒸気流路から上方へ放出される請求項4に記載の蒸気発生装置。
【請求項6】
前記蒸気発生装置が、前記水平蒸発プレートに対向する前記外周壁に穿孔された複数の外側通気孔と、前記水平蒸発プレートに対向する前記内周壁に穿孔された複数の内側通気孔とを含み、前記蒸気発生装置では、前記外側通気孔から流入した空気が前記内側通気孔から前記第2収容スペースに進入して前記熱源の放熱及び前記サウナストーンの対流放熱及び赤外線放熱によって熱気となり、その熱気が前記第1収容スペースから上方へ放出される請求項5に記載の蒸気発生装置。
【請求項7】
前記蒸気発生装置は、前記第1~第3傾斜蒸発プレートと前記水平蒸発プレートとが前記第1~第3熱源によって高温に加熱され、前記水をかぶって温度が低下したそれらサウナストーンが前記第1~第3熱源からの放熱と前記第1~第3傾斜蒸発プレート及び前記水平蒸発プレートの対流放熱及び赤外線放熱とによって加熱される請求項6に記載の蒸気発生装置。
【請求項8】
前記第1~第3傾斜蒸発プレート及び前記水平蒸発プレートが、15~20mmの厚さ寸法を有する鉄板を含み、前記水平蒸発プレートが、前記第2収容スペースの平面面積と略同一の平面面積を有し、前記第1~第3熱源が、赤外線ヒーターである請求項7に記載の蒸気発生装置。
発明の詳細な説明
【技術分野】
【0001】
本発明は、高温に加熱されたサウナストーンに水をかけて水蒸気を発生させる蒸気発生装置に関する。
続きを表示(約 2,700 文字)
【背景技術】
【0002】
サウナストーブと、サウナストーブの上方に設置されてサウナストーブに対して水を供給する散水部とを備え、散水部がそれぞれ排水口が設けられた複数の分岐管及び複数の分岐管の上部が接続される接続部を有するウォーターガイドエレメントを備え、サウナ装置を鉛直方向に見たときに、複数の分岐管のそれぞれの排水口がサウナストーブに重なる範囲内で異なる位置に位置し、接続部との接続部分における複数の分岐管の水平方向の分散範囲が複数の分岐管の排水口の水平方向の分散範囲よりも狭いサウナ装置が開示されている(特許文献1参照)。サウナストーブは、容器とヒーターエレメントとサウナストーンとを備えている。ヒーターエレメンは、電気式ヒーターエレメントであり、サウナストーンを加熱するために容器の内部に収納されている。
【先行技術文献】
【特許文献】
【0003】
実用新案登録第3222639号
【発明の概要】
【発明が解決しようとする課題】
【0004】
前記特許文献1に開示のサウナ装置は、サウナストーブの周囲への水の飛散を抑制しつつ、サウナストーンに対して満遍なく水を散布することができる。サウナストーンに水が散布されると、その水が高温のサウナストーンによって瞬時に蒸発し、多量の水蒸気が発生し、その水蒸気がサウナ室に充満する。しかし、このサウナ装置は、散布された多量の水のうちのサウナストーンによって水蒸気にならなかった水がヒーターエレメントの温度を低下させることで、ヒーターエレメントによってサウナストーンを十分に加熱することができない場合があり、水によって冷やされて温度が低下したサウナストーンをヒーターエレメントによって十分に加熱することができず、サウナストーンが再び高温になるまでに時間を要し、サウナストーンを迅速に高温にすることができない。又、このサウナ装置では、発生した水蒸気がサウナストーブの四方に拡散するが、水蒸気の拡散方向を制御することができず、所定の方向へ水蒸気を拡散させることができない。
【0005】
本発明の目的は、散布された水の一部がサウナストーンによって水蒸気にならずにサウナストーンを通過したとしても、その水を全て水蒸気にして拡散させることができる蒸気発生装置を提供することにある。本発明の他の目的は、温度が低下したサウナストーンを迅速に高温にすることができる蒸気発生装置を提供することにある。本発明の他の目的は、発生した水蒸気の拡散力を強めることができ、サウナ室全域に水蒸気を満遍なく拡散させることができる蒸気発生装置を提供することにある。
【課題を解決するための手段】
【0006】
前記課題を解決するための本発明の前提は、高温に加熱されたサウナストーンに水をかけて水蒸気を発生させる蒸気発生装置である。
【0007】
前記前提における本発明の特徴は、蒸気発生装置が、複数の通気孔を有する水平プレートと水平プレートの周縁から上下方向上方へ延びる内周壁とから形成されて複数のサウナストーンを収容する所定容積の第1収容スペースと、第1収容スペースの下方に位置する水平蒸発プレートと水平蒸発プレートの周縁から上下方向上方へ延びる内周壁とから形成された所定容積の第2収容スペースと、第2収容スペースに配置されて第2収容スペースの上下方向上方から下方に向かって並ぶ少なくとも2つの傾斜蒸発プレートと、第2収容スペースに配置されてサウナストーン、水平蒸発プレート、傾斜蒸発プレートを加熱する熱源と、第1及び第2収容スペースの側方に形成されて空気が通流する空気流路と、水平蒸発プレートの下方に設置されて空気流路に沿って下方から上方へ向かう気流を発生させる送風ファンとを有し、上方に位置する傾斜蒸発プレートの傾斜する向きに対し、下方に位置する傾斜蒸発プレートの傾斜する向きが逆になり、蒸気発生装置では、熱源によって高温に加熱されたそれらサウナストーンに水をかけることで水蒸気が発生し、それらサウナストーンによって発生した水蒸気が送風ファンによって空気流路から上方へ放出される気流に乗って第1収容スペースから上方へ拡散するとともに、水平プレートの通気孔から第2収容スペースに落下した水がそれら傾斜蒸発プレートを流れる過程において水蒸気となって第1収容スペースから上方へ拡散することにある。
【0008】
本発明の一例としては、上方に位置する傾斜蒸発プレートの他端部が、下方に位置する傾斜蒸発プレートの他端部の幅方向内側に位置するとともに、上方に位置する傾斜蒸発プレートの一端部が、下方に位置する傾斜蒸発プレートの一端部の幅方向内側に位置し、上方に位置する傾斜蒸発プレートの他端部から上下方向下方へ流れ落ちた水が、下方に位置する傾斜蒸発プレートの他端部に落下し、上方に位置する傾斜蒸発プレートの一端部から上下方向下方へ流れ落ちた水が、下方に位置する傾斜蒸発プレートの一端部に落下する。
【0009】
本発明の他の一例としては、傾斜蒸発プレートが、第2収容スペースの最上に位置してその一端部から他端部に向かって所定角度で下り勾配に傾斜する第1傾斜蒸発プレートと、第1傾斜蒸発プレートの直下に位置してその他端部から一端部に向かって所定角度で下り勾配に傾斜する第2傾斜蒸発プレートと、第2傾斜蒸発プレートの直下に位置してその一端部から他端部に向かって所定角度で下り勾配に傾斜する第3傾斜蒸発プレートとから形成され、熱源が、第1傾斜蒸発プレートと第2傾斜蒸発プレートとの間に位置する第1熱源と、第2傾斜蒸発プレートと第3傾斜蒸発プレートとの間に位置する第2熱源と、第3傾斜蒸発プレートと水平蒸発プレートとの間に位置する第3熱源とから形成され、第1傾斜蒸発プレートの他端部が、第2傾斜蒸発プレートの他端部の幅方向内側に位置し、第2傾斜蒸発プレートの一端部が、第3傾斜蒸発プレートの一端部の幅方向内側に位置し、第1傾斜蒸発プレートの他端部から上下方向下方へ流れ落ちた水が、第2傾斜蒸発プレートの他端部に落下し、第2傾斜蒸発プレートの一端部から上下方向下方へ流れ落ちた水が、第3傾斜蒸発プレートの一端部に落下する。
【0010】
本発明の他の一例としては、蒸気発生装置が、第1収容スペースの上方から第1収容スペースに収容されたそれらサウナストーンに向かって水を散水する散水ノズルを備えた給水装置を含む。
(【0011】以降は省略されています)
この特許をJ-PlatPat(特許庁公式サイト)で参照する
関連特許
三浦工業株式会社
台数制御装置
1か月前
三浦工業株式会社
ボイラ
4か月前
三浦工業株式会社
水蒸気発生装置
26日前
三菱重工業株式会社
ボイラ壁
12日前
日精オーバル株式会社
蒸気発生装置
1か月前
三浦工業株式会社
管理装置
4か月前
三浦工業株式会社
貫流ボイラ
19日前
栗田工業株式会社
ボイラ水処理装置および処理方法
3か月前
株式会社ミヤワキ
蒸気プラント
2か月前
三浦工業株式会社
蒸気発生装置
4か月前
三菱重工業株式会社
蒸気生成システム及び蒸気生成方法
1か月前
三浦工業株式会社
水素ボイラシステムの制御装置
4か月前
神鋼検査サービス株式会社
スケール除去ユニット
1か月前
三菱重工業株式会社
伝熱管の検査装置および方法
6か月前
株式会社ヒラカワ
ボイラからの排ガスの温度制御方法
4か月前
JFEエンジニアリング株式会社
排熱回収ボイラ及びその給水バイパス制御方法
12日前
丸高工業株式会社
加熱装置の制御方法及び加熱装置
5か月前
日本特殊陶業株式会社
蒸発器および蒸発器を備えるホットモジュール
6か月前
三菱重工業株式会社
プラント制御装置、プラント制御方法、及び、プラント制御プログラム
6か月前
東京電力ホールディングス株式会社
蒸気タービンプラント
2か月前
シェンチェン ウッディー ベイプス テクノロジー カンパニー,リミテッド
アトマイザー
5か月前
三菱重工業株式会社
熱電併給用蒸気生成システム及び熱電併給システム並びに熱電併給用蒸気生成方法
26日前
JFEエンジニアリング株式会社
過熱装置および過熱装置による過熱蒸気温度の制御方法
4か月前
三菱重工業株式会社
ボイラ制御装置、ボイラ、発電プラント、ボイラ制御方法およびボイラ制御プログラム
2か月前
DOWAテクノエンジ株式会社
熱伸縮吸収用エキスパンション構造
5か月前
トクデン株式会社
過熱水蒸気生成装置、及び、過熱水蒸気生成装置に用いられる導体管の製造方法
5か月前
三菱重工業株式会社
ボイラの制御装置、これを備えたボイラシステム、ボイラの制御方法及びボイラの制御プログラム
1か月前
三菱重工業株式会社
CO2回収装置用蒸気生成システム及びこれを備えたCO2回収装置並びにCO2回収装置用蒸気生成方法
26日前
ASTRA FOOD PLAN株式会社
過熱水蒸気発生装置
4か月前
ジーイー・ベルノバ・テクノロジー・ゲーエムベーハー
熱回収蒸気発生器用の入口ダクトシステム
1か月前
ゼネラル エレクトリック テクノロジー ゲゼルシャフト ミット ベシュレンクテル ハフツング
複合サイクル発電所の水・蒸気系統を運転前に洗浄する方法、及びこの方法のために構成された複合サイクル発電所
3か月前
株式会社野村総合研究所
情報処理システム、情報処理方法およびコンピュータプログラム
7か月前
株式会社デンソー
通信レシーバ
3か月前
株式会社新川
実装方法、実装装置及び実装プログラム
3か月前
ブラザー工業株式会社
画像形成装置
6か月前
ブラザー工業株式会社
フィルムカートリッジ、フィルムユニットおよび層転写装置
3か月前
続きを見る
他の特許を見る