TOP
|
特許
|
意匠
|
商標
特許ウォッチ
Twitter
他の特許を見る
公開番号
2025123747
公報種別
公開特許公報(A)
公開日
2025-08-25
出願番号
2024019395
出願日
2024-02-13
発明の名称
蒸気プラント
出願人
株式会社ミヤワキ
代理人
弁理士法人三協国際特許事務所
主分類
F22D
11/06 20060101AFI20250818BHJP(蒸気発生)
要約
【課題】省エネルギーの効果を向上することが可能な蒸気プラントを得る。
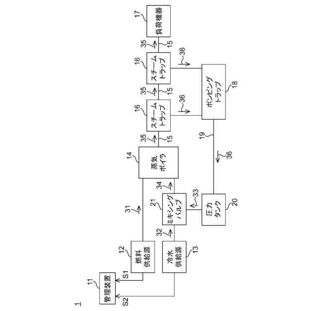
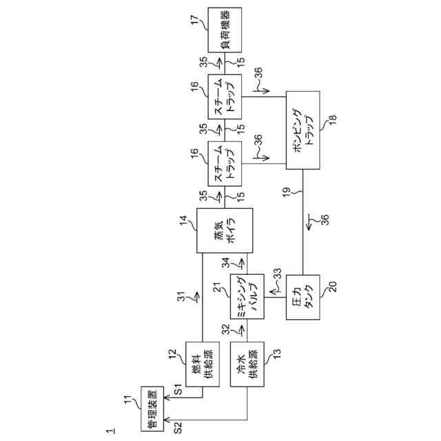
【解決手段】蒸気プラントは、蒸気を発生する蒸気ボイラと、前記蒸気ボイラが発生した前記蒸気を負荷機器に輸送する蒸気配管と、前記蒸気配管内に生じたドレンを排出するスチームトラップと、前記スチームトラップから回収した前記ドレンを圧送するポンピングトラップと、前記ポンピングトラップから圧送された前記ドレンを高圧の熱水として断熱状態で貯留する圧力タンクと、冷水供給源から圧送された冷水と前記圧力タンクから圧送された前記熱水とが供給され、供給された前記冷水及び前記熱水を混合して前記蒸気ボイラに供給するミキシングバルブと、を備える。
【選択図】図1
特許請求の範囲
【請求項1】
蒸気を発生する蒸気ボイラと、
前記蒸気ボイラが発生した前記蒸気を負荷機器に輸送する蒸気配管と、
前記蒸気配管内に生じたドレンを排出するスチームトラップと、
前記スチームトラップから回収した前記ドレンを圧送するポンピングトラップと、
前記ポンピングトラップから圧送された前記ドレンを高圧の熱水として断熱状態で貯留する圧力タンクと、
冷水供給源から圧送された冷水と前記圧力タンクから圧送された前記熱水とが供給され、供給された前記冷水及び前記熱水を混合して前記蒸気ボイラに供給するミキシングバルブと、
を備える、蒸気プラント。
続きを表示(約 280 文字)
【請求項2】
前記蒸気プラントを管理する管理装置をさらに備え、
前記管理装置は、
前記圧力タンクから前記ミキシングバルブへの前記熱水の供給を停止した状態で前記蒸気プラントを一定期間動作させた時の、前記蒸気ボイラの燃料使用量及び前記冷水供給源からの冷水供給量と、
前記圧力タンクから前記ミキシングバルブへ前記熱水を供給した状態で前記蒸気プラントを一定期間動作させた時の、前記蒸気ボイラの燃料使用量及び前記冷水供給源からの冷水供給量と、
を比較し、その比較の結果を出力する、
請求項1に記載の蒸気プラント。
発明の詳細な説明
【技術分野】
【0001】
本発明は、蒸気プラントに関する。
続きを表示(約 1,500 文字)
【背景技術】
【0002】
特許文献1には、背景技術に係る蒸気プラント回路のドレン回収システムが開示されている。当該システムは、高圧加熱機器のドレン排出回路にフラッシュタンクを接続してドレン排出回路を構成し、当該ドレン排出回路内のドレンをドレン排出回路より高い圧力に保持された圧力タンクにドレン圧送ポンプによって送給し、当該圧力タンク内の熱水をドレン回収ポンプの吸引によってボイラに供給する。
【先行技術文献】
【特許文献】
【0003】
特開平8-247406号公報
【発明の概要】
【発明が解決しようとする課題】
【0004】
背景技術に係る蒸気プラント回路のドレン回収システムによると、回収したドレンをボイラに供給することによってドレンを再利用することはできるが、ドレン圧送ポンプ及びドレン回収ポンプの駆動のために電気エネルギーが消費されると、システム全体として省エネルギーの効果が不十分となる。
【0005】
本発明は、かかる事情に鑑みて成されたものであり、蒸気プラントにおける省エネルギーの効果を向上することを目的とする。
【課題を解決するための手段】
【0006】
本発明の第1態様に係る蒸気プラントは、蒸気を発生する蒸気ボイラと、前記蒸気ボイラが発生した前記蒸気を負荷機器に輸送する蒸気配管と、前記蒸気配管内に生じたドレンを排出するスチームトラップと、前記スチームトラップから回収した前記ドレンを圧送するポンピングトラップと、前記ポンピングトラップから圧送された前記ドレンを高圧の熱水として断熱状態で貯留する圧力タンクと、冷水供給源から圧送された冷水と前記圧力タンクから圧送された前記熱水とが供給され、供給された前記冷水及び前記熱水を混合して前記蒸気ボイラに供給するミキシングバルブと、を備える。
【0007】
第1態様によれば、スチームトラップから排出されたドレンを廃棄するのではなく、回収したドレンから得られた熱水を蒸気ボイラに供給することにより、冷水供給源からの水道水又は工業用水等の冷水のみを蒸気ボイラに供給する場合と比較して、蒸気ボイラの燃料使用量及び冷水供給源からの冷水供給量を節減できる。また、いずれも駆動電力を必要としないポンピングトラップ、圧力タンク、及びミキシングバルブを用いて、ドレンを蒸気ボイラに供給できる。その結果、蒸気プラントにおける省エネルギーの効果を向上することが可能となる。
【0008】
本発明の第2態様に係る蒸気プラントは、第1態様において、前記蒸気プラントを管理する管理装置をさらに備え、前記管理装置は、前記圧力タンクから前記ミキシングバルブへの前記熱水の供給を停止した状態で前記蒸気プラントを一定期間動作させた時の、前記蒸気ボイラの燃料使用量及び前記冷水供給源からの冷水供給量と、前記圧力タンクから前記ミキシングバルブへ前記熱水を供給した状態で前記蒸気プラントを一定期間動作させた時の、前記蒸気ボイラの燃料使用量及び前記冷水供給源からの冷水供給量と、を比較し、その比較の結果を出力する。
【0009】
第2態様によれば、回収したドレンから得られた熱水を蒸気ボイラに供給することによる、蒸気ボイラの燃料使用量及び冷水供給源からの冷水供給量の節減効果を、ユーザに提示することが可能となる。
【発明の効果】
【0010】
本発明によれば、蒸気プラントにおける省エネルギーの効果を向上することが可能となる。
【図面の簡単な説明】
(【0011】以降は省略されています)
この特許をJ-PlatPat(特許庁公式サイト)で参照する
関連特許
三浦工業株式会社
台数制御装置
2日前
三浦工業株式会社
ボイラ
3か月前
三浦工業株式会社
ドレン回収装置
7か月前
三浦工業株式会社
給水装置、および、ボイラ
6か月前
日精オーバル株式会社
蒸気発生装置
18日前
三浦工業株式会社
管理装置
3か月前
栗田工業株式会社
ボイラ水処理装置および処理方法
2か月前
三浦工業株式会社
蒸気発生装置
3か月前
三浦工業株式会社
ボイラ水の水質評価用試料水の調製装置
6か月前
株式会社ミヤワキ
蒸気プラント
1か月前
株式会社日本汽罐
ボイラーシステム及びボイラーの稼働方法
7か月前
三菱重工業株式会社
ボイラプラント及びその運転方法
7か月前
三菱重工業株式会社
ガスバーナ及びこれを備えたボイラ
6か月前
三菱重工業株式会社
蒸気生成システム及び蒸気生成方法
3日前
三菱重工業株式会社
伝熱管の検査装置および方法
5か月前
神鋼検査サービス株式会社
スケール除去ユニット
3日前
三浦工業株式会社
水素ボイラシステムの制御装置
3か月前
株式会社ヒラカワ
ボイラからの排ガスの温度制御方法
3か月前
株式会社JERA
ボイラ炉内の伝熱管の管壁温度解析方法
7か月前
丸高工業株式会社
加熱装置の制御方法及び加熱装置
4か月前
三菱重工パワーインダストリー株式会社
セメントプラント排熱回収システム
6か月前
株式会社東芝
蒸気発生装置
6か月前
日本特殊陶業株式会社
蒸発器および蒸発器を備えるホットモジュール
5か月前
三菱重工業株式会社
プラント制御装置、プラント制御方法、及び、プラント制御プログラム
5か月前
東京電力ホールディングス株式会社
蒸気タービンプラント
1か月前
シェンチェン ウッディー ベイプス テクノロジー カンパニー,リミテッド
アトマイザー
4か月前
JFEエンジニアリング株式会社
過熱装置および過熱装置による過熱蒸気温度の制御方法
3か月前
三菱重工業株式会社
ボイラ制御装置、ボイラ、発電プラント、ボイラ制御方法およびボイラ制御プログラム
1か月前
DOWAテクノエンジ株式会社
熱伸縮吸収用エキスパンション構造
4か月前
三菱重工業株式会社
ボイラの制御装置、これを備えたボイラシステム、ボイラの制御方法及びボイラの制御プログラム
25日前
トクデン株式会社
過熱水蒸気生成装置、及び、過熱水蒸気生成装置に用いられる導体管の製造方法
4か月前
ASTRA FOOD PLAN株式会社
過熱水蒸気発生装置
3か月前
郵船出光グリーンソリューションズ株式会社
ボイラ燃焼制御システム、ボイラ燃焼制御方法、およびプログラム
7か月前
ジーイー・ベルノバ・テクノロジー・ゲーエムベーハー
熱回収蒸気発生器用の入口ダクトシステム
24日前
株式会社野村総合研究所
情報処理システム、情報処理方法およびコンピュータプログラム
6か月前
ゼネラル エレクトリック テクノロジー ゲゼルシャフト ミット ベシュレンクテル ハフツング
複合サイクル発電所の水・蒸気系統を運転前に洗浄する方法、及びこの方法のために構成された複合サイクル発電所
2か月前
続きを見る
他の特許を見る