TOP
|
特許
|
意匠
|
商標
特許ウォッチ
Twitter
他の特許を見る
公開番号
2025074055
公報種別
公開特許公報(A)
公開日
2025-05-13
出願番号
2024187921
出願日
2024-10-25
発明の名称
アトマイザー
出願人
シェンチェン ウッディー ベイプス テクノロジー カンパニー,リミテッド
代理人
個人
,
個人
,
個人
,
個人
主分類
F22B
1/28 20060101AFI20250502BHJP(蒸気発生)
要約
【課題】アトマイザーが大きな霧化速度を必要とするときに霧化しようとする物質の局所的な過熱を招きやすい、という問題を解決する。
【解決手段】本願において、アトマイザーが提供される。アトマイザーは複数の加熱アセンブリを備え、各々の加熱アセンブリは、加熱スリーブ、導磁部材、励磁コイルを含む。導磁部材は誘導部と2つの出力部を含み、2つの出力部は別々に誘導部の両端に設けられており、誘導部には励磁コイルが設けられており、出力部の誘導部から遠い一端は、加熱スリーブの径方向において加熱スリーブに対向して設けられている。複数の加熱アセンブリの加熱スリーブは、加熱スリーブの軸方向で順次配列されており、複数の誘導部のうちの少なくとも2つの誘導部は、加熱スリーブの軸方向において幅が異なる。
【選択図】図1
特許請求の範囲
【請求項1】
アトマイザーであって、
前記アトマイザーは複数の加熱アセンブリを備え、各々の前記加熱アセンブリは、加熱スリーブ、導磁部材、励磁コイルを含み、
前記導磁部材は誘導部と2つの出力部を含み、2つの前記出力部は別々に前記誘導部の両端に設けられており、前記誘導部には前記励磁コイルが設けられており、前記出力部の前記誘導部から遠い一端は、前記加熱スリーブの径方向において前記加熱スリーブに対向して設けられており、
複数の前記加熱アセンブリの前記加熱スリーブは、前記加熱スリーブの軸方向で順次配列されており、複数の前記誘導部のうちの少なくとも2つの前記誘導部は、前記加熱スリーブの軸方向において幅が異なる、
ことを特徴とするアトマイザー。
続きを表示(約 780 文字)
【請求項2】
複数の前記励磁コイルが順次直列接続されている、
ことを特徴とする請求項1に記載のアトマイザー。
【請求項3】
前記アトマイザーはプリント配線板(PCB)をさらに備え、隣り合う前記励磁コイルの結合部が前記PCBに溶接されている、
ことを特徴とする請求項2に記載のアトマイザー。
【請求項4】
前記加熱アセンブリは、前記加熱スリーブの軸方向に沿った蒸気放出方向を有し、複数の前記誘導部の前記蒸気放出方向における幅は、前記蒸気放出方向に沿って1つずつ小さくなる、
ことを特徴とする請求項1に記載のアトマイザー。
【請求項5】
隣り合う前記導磁部材は互いに離間して設けられている、
ことを特徴とする請求項1に記載のアトマイザー。
【請求項6】
前記出力部の前記加熱スリーブに面する一端の端面は、前記加熱スリーブの表面にマッチする、
ことを特徴とする請求項1に記載のアトマイザー。
【請求項7】
複数の前記励磁コイルのコイル巻き数密度が同じである、
ことを特徴とする請求項1に記載のアトマイザー。
【請求項8】
前記アトマイザーは断熱リングをさらに備え、前記断熱リングは隣り合う前記加熱スリーブの間に設けられている、
ことを特徴とする請求項1に記載のアトマイザー。
【請求項9】
前記加熱スリーブは円筒状に設けられている、
ことを特徴とする請求項1に記載のアトマイザー。
【請求項10】
複数の前記加熱スリーブの筒壁の厚さが同じであるように設けられている、
ことを特徴とする請求項9に記載のアトマイザー。
(【請求項11】以降は省略されています)
発明の詳細な説明
【技術分野】
【0001】
本願はアトマイザーの技術分野に属し、特にアトマイザーに関する。
続きを表示(約 1,100 文字)
【背景技術】
【0002】
アトマイザーは、液体を気化させ、または固体を昇華させて気体を生成するために使用される。気体を生成する過程では、霧化しようとする物質を加熱する必要がある。霧化しようとする物質を加熱する際には、加熱の均一性を確保する必要があり、これによって次の問題、即ち、局所的な過熱により、加熱された物質の分解や酸化などの化学反応を起こして物質の変性をもたらし、結果として、最終的に生成された霧が本来の性質を失い、予想される効果を得られないことが回避される。従来技術では、通常、単一の熱源を用いて霧化しようとする物質を加熱する。大きな霧化速度が必要な場合、局所的な過熱を招いて被霧化物質の変性をもたらしやすい。
【発明の概要】
【発明が解決しようとする課題】
【0003】
本願の実施形態は、従来のアトマイザーの場合、大きな霧化速度を必要とするときに霧化しようとする物質の局所的な過熱を招きやすい、という問題を解決するためのアトマイザーを提供する。
【課題を解決するための手段】
【0004】
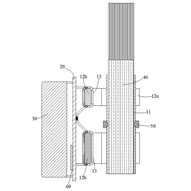
本願の実施形態はアトマイザーを提供する。アトマイザーは複数の加熱アセンブリを備え、各々の加熱アセンブリは、加熱スリーブ、導磁部材、励磁コイルを含む。導磁部材は誘導部と2つの出力部を含み、2つの出力部は別々に誘導部の両端に設けられており、誘導部には励磁コイルが設けられており、出力部の誘導部から遠い一端は、加熱スリーブの径方向において加熱スリーブに対向して設けられている。複数の加熱アセンブリの加熱スリーブは、加熱スリーブの軸方向で順次配列されており、複数の誘導部のうちの少なくとも2つの誘導部は、加熱スリーブの軸方向において幅が異なる。
【0005】
いくつかの実施形態では、複数の励磁コイルが順次直列接続されている。
【0006】
いくつかの実施形態では、アトマイザーはプリント配線板(PCB)をさらに備え、隣り合う励磁コイルの結合部がPCBに溶接されている。
【0007】
いくつかの実施形態では、加熱アセンブリは、加熱スリーブの軸方向に沿った蒸気放出方向を有し、複数の誘導部の蒸気放出方向における幅は、蒸気放出方向に沿って1つずつ小さくなる。
【0008】
いくつかの実施形態では、隣り合う導磁部材は互いに離間して設けられている。
【0009】
いくつかの実施形態では、出力部の加熱スリーブに面する一端の端面は、加熱スリーブの表面にマッチする。
【0010】
いくつかの実施形態では、複数の励磁コイルのコイル巻き数密度が同じである。
(【0011】以降は省略されています)
この特許をJ-PlatPat(特許庁公式サイト)で参照する
関連特許
三浦工業株式会社
台数制御装置
今日
三浦工業株式会社
ボイラ
3か月前
三浦工業株式会社
ドレン回収装置
7か月前
株式会社三五
過熱蒸気発生装置
8か月前
三浦工業株式会社
給水装置、および、ボイラ
6か月前
栗田工業株式会社
エコノマイザ及びボイラ
7か月前
日精オーバル株式会社
蒸気発生装置
16日前
三浦工業株式会社
管理装置
3か月前
栗田工業株式会社
ボイラ水処理装置および処理方法
2か月前
三浦工業株式会社
ボイラ水の水質評価用試料水の調製装置
6か月前
株式会社ミヤワキ
蒸気プラント
1か月前
三浦工業株式会社
蒸気発生装置
3か月前
三菱重工業株式会社
ボイラプラント及びその運転方法
7か月前
株式会社日本汽罐
ボイラーシステム及びボイラーの稼働方法
7か月前
三菱重工業株式会社
ガスバーナ及びこれを備えたボイラ
6か月前
三菱重工業株式会社
蒸気生成システム及び蒸気生成方法
1日前
三菱重工業株式会社
伝熱管の検査装置および方法
5か月前
神鋼検査サービス株式会社
スケール除去ユニット
1日前
三浦工業株式会社
水素ボイラシステムの制御装置
3か月前
株式会社ヒラカワ
ボイラからの排ガスの温度制御方法
3か月前
株式会社JERA
ボイラ炉内の伝熱管の管壁温度解析方法
7か月前
丸高工業株式会社
加熱装置の制御方法及び加熱装置
4か月前
三菱重工業株式会社
ボイラのシール構造及びボイラのシール構造の補修方法
8か月前
三菱重工パワーインダストリー株式会社
セメントプラント排熱回収システム
6か月前
株式会社東芝
蒸気発生装置
6か月前
日本特殊陶業株式会社
蒸発器および蒸発器を備えるホットモジュール
5か月前
三菱重工業株式会社
プラント制御装置、プラント制御方法、及び、プラント制御プログラム
5か月前
東京電力ホールディングス株式会社
蒸気タービンプラント
28日前
シェンチェン ウッディー ベイプス テクノロジー カンパニー,リミテッド
アトマイザー
4か月前
JFEエンジニアリング株式会社
発電設備のボイラ給水ポンプ回転数制御方法及び装置
8か月前
JFEエンジニアリング株式会社
過熱装置および過熱装置による過熱蒸気温度の制御方法
3か月前
三菱重工業株式会社
ボイラ制御装置、ボイラ、発電プラント、ボイラ制御方法およびボイラ制御プログラム
1か月前
DOWAテクノエンジ株式会社
熱伸縮吸収用エキスパンション構造
4か月前
トクデン株式会社
過熱水蒸気生成装置、及び、過熱水蒸気生成装置に用いられる導体管の製造方法
4か月前
三菱重工業株式会社
ボイラの制御装置、これを備えたボイラシステム、ボイラの制御方法及びボイラの制御プログラム
23日前
ASTRA FOOD PLAN株式会社
過熱水蒸気発生装置
3か月前
続きを見る
他の特許を見る