TOP
|
特許
|
意匠
|
商標
特許ウォッチ
Twitter
他の特許を見る
10個以上の画像は省略されています。
公開番号
2025109918
公報種別
公開特許公報(A)
公開日
2025-07-25
出願番号
2025084562,2024107097
出願日
2025-05-21,2019-05-24
発明の名称
フィルムカートリッジ、フィルムユニットおよび層転写装置
出願人
ブラザー工業株式会社
代理人
個人
,
個人
主分類
B65C
9/18 20060101AFI20250717BHJP(運搬;包装;貯蔵;薄板状または線条材料の取扱い)
要約
【課題】転写層を含む被支持層に作業者が触れることを抑制し、支持層に残っている被支持層が剥がれ落ちることを抑制することが可能なフィルムカートリッジ、フィルムユニットおよび層転写装置を提供する。
【解決手段】フィルムカートリッジ(200)は、転写層(F22)を含む被支持層(F2)および支持層(F1)を有する多層フィルム(F)が巻回される供給リール(31)と、多層フィルム(F)を巻き取るための巻取リール(35)を備える。多層フィルム(F)は、被支持層(F2)が供給軸部(31A)に接触するようにして、供給軸部(31A)に巻回され、かつ被支持層(F2)が巻取軸部(35A)に接触するようにして、巻取軸部(35A)に巻回されている。
【選択図】図3
特許請求の範囲
【請求項1】
シートに形成されたトナー像の上に転写層を転写する層転写装置に着脱可能なフィルムカートリッジであって、
前記転写層を含む被支持層と、前記被支持層を支持する支持層と、を有する多層フィルムが巻回される供給軸部を有する供給リールと、
前記多層フィルムを巻き取るための巻取軸部を有する巻取リールと、を備え、
前記多層フィルムは、前記被支持層が前記供給軸部に接触するようにして、前記供給軸部に巻回され、かつ前記被支持層が前記巻取軸部に接触するようにして、前記巻取軸部に巻回されていることを特徴とするフィルムカートリッジ。
発明の詳細な説明
【技術分野】
【0001】
本開示は、シートに形成されたトナー像上に転写層を転写するためのフィルムカートリッジ、フィルムユニットおよび層転写装置に関する。
続きを表示(約 2,100 文字)
【背景技術】
【0002】
従来、フィルムカートリッジとして、内部に転写層を有する多層フィルムが巻回された供給リールおよび巻取リールを備え、層転写装置に対して着脱可能に構成されたものが知られている(特許文献1参照)。この技術では、多層フィルムは、転写層を支持する支持層をさらに有している。そして、支持層が供給リールおよび巻取リールに接触するようにして、多層フィルムが供給リールおよび巻取リールに巻回されている。これにより、供給リールに巻回された多層フィルムのロールの外表面に被支持層が配置されて外部に露出し、巻取リールに巻回された多層フィルムのロールの外表面に被支持層が配置されて外部に露出している。
【先行技術文献】
【特許文献】
【0003】
特開平07-290685号公報
【発明の概要】
【発明が解決しようとする課題】
【0004】
しかしながら、従来技術では、供給リールに巻回された多層フィルムのロールの外表面に被支持層が配置されて外部に露出するので、多層フィルムが巻回された供給リールをフィルムユニットのホルダに取り付ける作業において、作業者が被支持層に触れてしまい、転写層を含む被支持層が傷つくおそれがある。また、層転写を行った後に巻取リールに巻き取られた多層フィルムのロールの外表面に位置する被支持層が外部に露出するので、支持層に残っている被支持層が剥がれ落ちるおそれがある。
【0005】
供給リールをホルダに取り付ける作業中において転写層を含む被支持層に作業者が触れてしまうことを抑制するとともに、層転写後に支持層に残っている被支持層が剥がれ落ちることを抑制することが望まれている。
【課題を解決するための手段】
【0006】
上述の背景に鑑み、シートに形成されたトナー像の上に転写層を転写する層転写装置に着脱可能なフィルムカートリッジを開示する。フィルムカートリッジは、前記転写層を含む被支持層と、前記被支持層を支持する支持層と、を有する多層フィルムが巻回される供給軸部を有する供給リールと、前記多層フィルムを巻き取るための巻取軸部を有する巻取リールと、を備える。
前記多層フィルムは、前記被支持層が前記供給軸部に接触するようにして、前記供給軸部に巻回され、かつ前記被支持層が前記巻取軸部に接触するようにして、前記巻取軸部に巻回されている。
【0007】
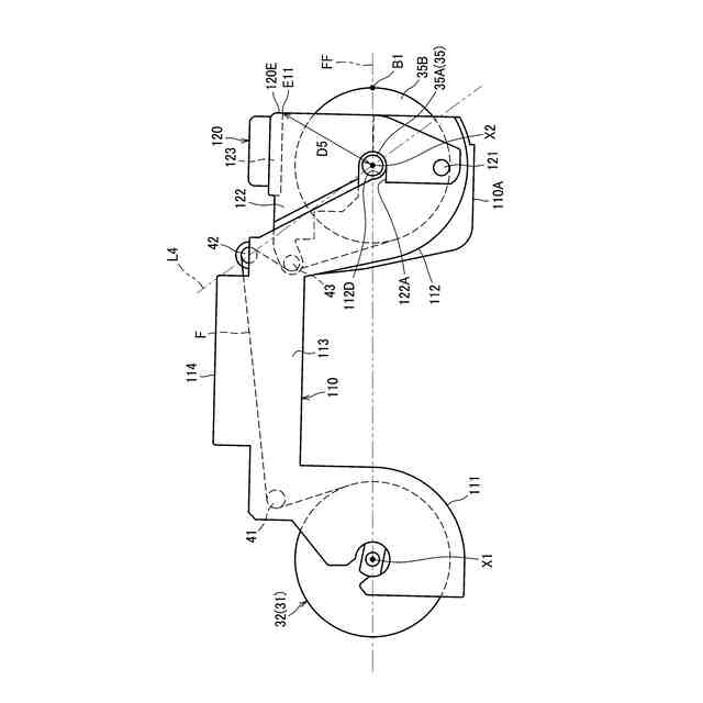
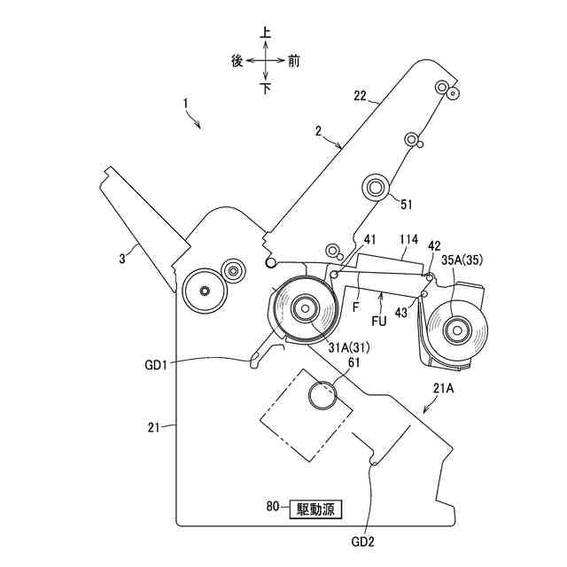
また、前記したフィルムカートリッジと、前記供給リールおよび前記巻取リールを支持するホルダと、前記供給リールから引き出される前記多層フィルムの前記支持層に接触して、前記多層フィルムの進行方向を変更する第1案内軸と、前記第1案内軸で案内された前記多層フィルムの前記支持層に接触して、前記多層フィルムの進行方向を変更する第2案内軸と、を備えるフィルムユニットを開示する。
【0008】
この構成によれば、被支持層が供給軸部に接触するようにして、多層フィルムが供給軸部に巻回されているので、供給リールをホルダに取り付ける際に、作業者が供給リールに巻回された多層フィルムに触れてしまっても、作業者は支持層に触れるだけで被支持層には触れないため、被支持層を保護することができる。また、被支持層が巻取軸部に接触するようにして、多層フィルムが巻取軸部に巻回されているので、巻取リールに巻き取られた多層フィルムにおいて、支持層に残っている被支持層が剥がれ落ちることを、支持層で抑えることができる。
【0009】
前記フィルムカートリッジは、前記供給リールを収容する供給ケースを備えていてもよい。また、前記供給リールは、前記供給ケースに回転可能に支持されていてもよい。また、前記供給リールは、前記供給リールの軸方向端部に供給ギヤを有し、前記供給ギヤは、前記供給ケースに形成された切欠から外部に露出しているものとすることができる。また、前記供給ケースは、前記軸方向の端部に設けられる2つの側壁と、前記2つの側壁のうち、前記供給ギヤに近い一方の側壁から前記軸方向に離れて位置し、かつ前記供給ギヤの少なくとも一部を前記軸方向から覆う外側壁と、前記一方の側壁と前記外側壁とを連結する外周壁と、を有し、
前記供給ギヤは、少なくとも一部が前記一方の側壁と前記外側壁との間に位置しており、かつ前記外周壁に形成された切欠から外部に露出していてもよい。また、前記供給リールは前記側壁に回転可能に支持されていてもよい。
【0010】
前記外側壁は、前記切欠の前記供給リールの回転軸回りの角度α1の範囲において、前記供給リールの軸方向に沿って見て、前記供給ギヤの歯先と重ならないことが望ましい。また、前記外側壁は、前記切欠の前記供給リールの回転軸回りの角度α1の範囲において、前記供給リールの軸方向に沿って見て、前記供給ギヤの歯底と重ならないことが望ましい。
(【0011】以降は省略されています)
この特許をJ-PlatPat(特許庁公式サイト)で参照する
関連特許
ブラザー工業株式会社
電子機器
28日前
ブラザー工業株式会社
印刷装置
4日前
ブラザー工業株式会社
印刷装置
1か月前
ブラザー工業株式会社
印刷装置
1か月前
ブラザー工業株式会社
水塗布装置
20日前
ブラザー工業株式会社
水塗布装置
20日前
ブラザー工業株式会社
水塗布装置
20日前
ブラザー工業株式会社
水塗布装置
20日前
ブラザー工業株式会社
液体吐出装置
6日前
ブラザー工業株式会社
画像形成装置
25日前
ブラザー工業株式会社
画像形成装置
1か月前
ブラザー工業株式会社
画像形成装置
1か月前
ブラザー工業株式会社
画像形成装置
1か月前
ブラザー工業株式会社
液体吐出装置
13日前
ブラザー工業株式会社
画像形成装置
1か月前
ブラザー工業株式会社
液体吐出装置
4日前
ブラザー工業株式会社
シート給送装置
27日前
ブラザー工業株式会社
液体吐出ヘッド
4日前
ブラザー工業株式会社
液滴吐出ヘッド
6日前
ブラザー工業株式会社
サポートプログラム
1か月前
ブラザー工業株式会社
サポートプログラム
1か月前
ブラザー工業株式会社
情報処理プログラム
4日前
ブラザー工業株式会社
タンクおよび液体吐出装置
4日前
ブラザー工業株式会社
プリンタおよびプログラム
1か月前
ブラザー工業株式会社
プリンタおよびプログラム
1か月前
ブラザー工業株式会社
定着装置及び画像形成装置
25日前
ブラザー工業株式会社
プログラムおよび情報処理装置
4日前
ブラザー工業株式会社
インクジェット記録方法及び印刷物
1か月前
ブラザー工業株式会社
プログラム、および、データ処理装置
4日前
ブラザー工業株式会社
サポートプログラムおよび印刷システム
4日前
ブラザー工業株式会社
サポートプログラムおよび印刷システム
13日前
ブラザー工業株式会社
印刷管理システム、サーバ、印刷管理方法
20日前
ブラザー工業株式会社
プログラム、電子装置、方法、及び印刷システム
18日前
ブラザー工業株式会社
コンピュータプログラム、および、データ処理装置
4日前
ブラザー工業株式会社
液体吐出装置用ヘッド及びこれを備える液体吐出装置
4日前
ブラザー工業株式会社
プログラム、データ処理装置、および、データ処理方法
1か月前
続きを見る
他の特許を見る