TOP
|
特許
|
意匠
|
商標
特許ウォッチ
Twitter
他の特許を見る
公開番号
2025133262
公報種別
公開特許公報(A)
公開日
2025-09-11
出願番号
2024031090
出願日
2024-03-01
発明の名称
車体端部構造
出願人
豊田鉄工株式会社
代理人
弁理士法人岡田国際特許事務所
主分類
B62D
25/08 20060101AFI20250904BHJP(鉄道以外の路面車両)
要約
【課題】スモールオーバーラップ衝突の際に、車体を効率よくバリアから遠ざけることができる車体端部構造を提供する。
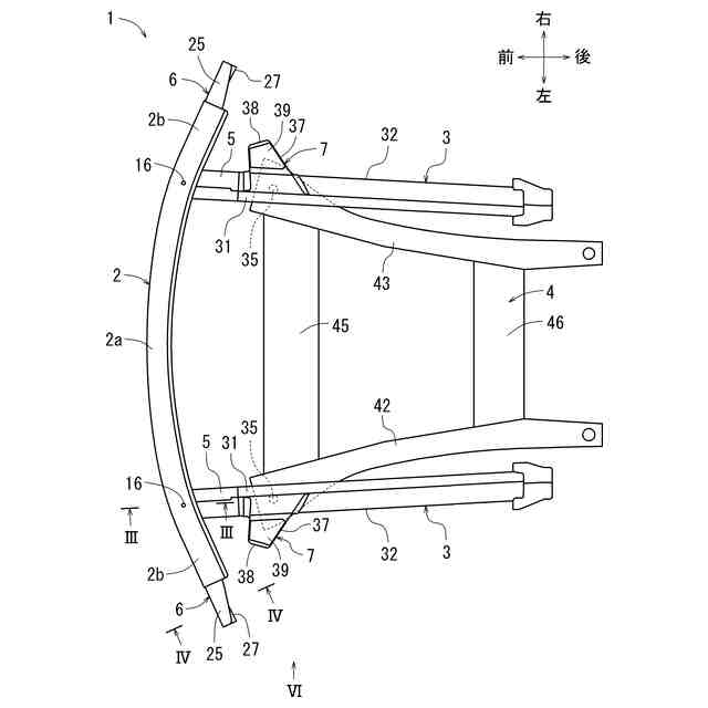
【解決手段】衝突荷重を車体に伝達する車体端部構造1であって、車体の前後方向における端部に配設され、車幅方向に延在する長尺状のバンパリンフォースメント2と、車体前後方向においてバンパリンフォースメント2より内側に配設され、車体前後方向に延在するサイドメンバ3と、サイドメンバ3の下側に配設されるサスペンションメンバ4を備える。バンパリンフォースメント2の長手方向端部2bにはサイドメンバ3より車幅方向外側に延在する変形部6を備え、サイドメンバ3の車幅方向外側面にはサスペンションメンバ4に連結するように下方向に延在する縦柱体7を備える。変形部6が衝突荷重を受けて衝突方向に変形し、縦柱体7と当接することで、車体に衝突荷重が伝達される。
【選択図】図7
特許請求の範囲
【請求項1】
車体前部及び車体後部の少なくとも一方に設けられ、衝突荷重を車体に伝達する車体端部構造であって、
前記車体の前後方向における端部に配設され、車幅方向に延在する長尺状のバンパリンフォースメントと、
車体前後方向において前記バンパリンフォースメントより車内側に配設され、車体前後方向に延在するサイドメンバと、
前記サイドメンバの下側に配設されるサスペンションメンバと、
前記バンパリンフォースメントの長手方向端部において前記サイドメンバより車幅方向外側に延在する変形部と、
前記サイドメンバの前記バンパリンフォースメント側端部の車幅方向外側面に取付けられ且つ前記サスペンションメンバと連結するように前記サイドメンバより下方向に延在する縦柱体と、を備え、
前記変形部が衝突荷重を受けて衝突方向に変形すると、前記変形部が前記縦柱体と当接する車体端部構造。
続きを表示(約 510 文字)
【請求項2】
請求項1に記載された車体端部構造であって、
前記変形部は、前記サイドメンバの先端に取り付けられたクラッシュボックスと前記バンパリンフォースメントとの間に配設され、前記バンパリンフォースメントを車内側から支持する強度部材で構成されている、車体端部構造。
【請求項3】
請求項1又は請求項2に記載された車体端部構造であって、
前記縦柱体は、前記サイドメンバより車幅方向外側に形成された受圧面を有し、
前記変形部は、車体前後方向の車内側に形成され、衝突荷重を受けて衝突方向に変形すると前記受圧面と当接する当接面を有する、車体端部構造。
【請求項4】
請求項3に記載された車体端部構造であって、
前記縦柱体は、中空体であり、該中空体内で内部空間を上下に仕切るように配設された補強部材を前記受圧面に対応する位置に有する、車体端部構造。
【請求項5】
請求項4に記載された車体端部構造であって、
前記縦柱体は、前記サイドメンバより車幅方向外側に突出した突出部を有し、前記受圧面が前記突出部の突出端に位置する、車体端部構造。
発明の詳細な説明
【技術分野】
【0001】
本発明は、車体端部構造に関する。
続きを表示(約 1,700 文字)
【背景技術】
【0002】
従来、車両のスモールオーバーラップ衝突時における衝突荷重を吸収して衝撃力を緩和する構造や、衝突荷重を車体へ伝達して横力を発生させることで車体をバリアから遠ざける構造などが知られている。例えば、特許文献1には、一対のサイドメンバと、これらサイドメンバを接続するフロントバンパーを備えた車体前部構造が開示されている。サイドメンバには、斜め前方向に延在する補強部材が取り付けられている。スモールオーバーラップ衝突時には、フロントバンパーの端部が変形して補強部材に接触することで、サイドメンバにバリアからの荷重が伝達される構成となっている。
【0003】
特許文献2に開示された車体前部構造は、一対のサイドメンバと、これらサイドメンバを接続するフロントバンパーを備えている。サイドメンバの側面には受圧部が設けられており、フロントバンパーの車幅方向端部には、フロントバンパーがバリアから衝突荷重を受けて折れ曲がるとサイドメンバの受圧部と接触し得る端部部材が取付けられている。そして、スモールオーバーラップ衝突時に、端部部材が受圧部と接触することで、バリアからの衝突荷重がサイドメンバを介しパワーユニットへ伝達される構成となっている。係る構造は、特許文献1のサイドメンバのみで衝突荷重を受ける構成と比較して、強度や剛性の向上を図り得る。
【先行技術文献】
【特許文献】
【0004】
米国特許第9567010号明細書
欧州特許第2987705号明細書
【発明の概要】
【発明が解決しようとする課題】
【0005】
しかしながら、特許文献2に記載の衝突荷重を車体へ伝達する構造は、フロントバンパーの折れ曲がる位置によっては、端部部材がサイドメンバの受圧部に当たらない可能性がある。また、バリアが衝突した直後からバリアと端部部材と受圧部が直列に連なるまでの間は、衝突荷重が伝わり難く、横方向に生じる力が小さい傾向にあった。そのため、車体への衝突荷重の伝達効率向上が求められていた。
【0006】
本発明は、このような点に鑑みて創案されたものであり、本発明が解決しようとする課題は、スモールオーバーラップ衝突の際に、車体を効率よくバリアから遠ざけることができる車体端部構造を提供することにある。
【課題を解決するための手段】
【0007】
上記課題を解決するため、本発明に係る車体端部構造は、次の手段をとる。
【0008】
本発明の第1の発明は、車体前部及び車体後部の少なくとも一方に設けられ、衝突荷重を車体に伝達する車体端部構造であって、前記車体の前後方向における端部に配設され、車幅方向に延在する長尺状のバンパリンフォースメントと、車体前後方向において前記バンパリンフォースメントより車内側に配設され、車体前後方向に延在するサイドメンバと、前記サイドメンバの下側に配設されるサスペンションメンバと、前記バンパリンフォースメントの長手方向端部において前記サイドメンバより車幅方向外側に延在する変形部と、前記サイドメンバの前記バンパリンフォースメント側端部の車幅方向外側面に取付けられ且つ前記サスペンションメンバと連結するように前記サイドメンバより下方向に延在する縦柱体とを備え、前記変形部が衝突荷重を受けて衝突方向に変形すると、前記変形部が前記縦柱体と当接する。
【0009】
本発明の第2の発明は、第1の発明の車体端部構造であって、前記変形部は、前記サイドメンバの先端に取り付けられたクラッシュボックスと前記バンパリンフォースメントとの間に配設され、前記バンパリンフォースメントを車内側から支持する強度部材で構成されている。
【0010】
本発明の第3の発明は、第1又は第2の発明の車体端部構造であって、前記縦柱体は、前記サイドメンバより車幅方向外側に形成された受圧面を有し、前記変形部は、車体前後方向の車内側に形成され、衝突荷重を受けて衝突方向に変形すると前記受圧面と当接する当接面を有する。
(【0011】以降は省略されています)
この特許をJ-PlatPat(特許庁公式サイト)で参照する
関連特許
豊田鉄工株式会社
車両用強度部材
1か月前
個人
カート
4か月前
個人
走行装置
4か月前
個人
三輪バイク
27日前
個人
電動走行車両
4か月前
個人
駐輪設備
2か月前
個人
自転車用歩数計
1か月前
個人
閂式ハンドル錠
4か月前
個人
ボギー・フレーム
3か月前
個人
三輪電動車両
1か月前
個人
ルーフ付きトライク
3か月前
個人
“zen-go.”
3か月前
個人
ルーフ付きトライク
2か月前
個人
パワーアシスト自転車
3か月前
井関農機株式会社
作業車両
20日前
個人
車の室内高温防止屋根
13日前
個人
フロントフットブレーキ。
5か月前
個人
乗用自動車のディフューザー
1か月前
豊田鉄工株式会社
小型車両
4か月前
個人
ハブモーターの配線構造
2か月前
コンビ株式会社
乳母車
1か月前
株式会社GEAR
電動カート
3か月前
個人
走行車両等の粉塵飛散防止装置
4か月前
個人
二輪車の三次元折りたたみ機構
3か月前
株式会社アイドゥス企画
老人電動車
今日
ヤマハ発動機株式会社
自転車
5か月前
個人
折り畳み作業机搭載の変型台車
2か月前
個人
自動車のタイヤの位置について
2か月前
船井電機株式会社
車両
3か月前
豊田合成株式会社
ハンドル装置
5か月前
ダイハツ工業株式会社
車両構造
4か月前
ダイハツ工業株式会社
車両構造
4か月前
ダイハツ工業株式会社
車両構造
2か月前
豊田合成株式会社
ハンドル装置
5か月前
ダイハツ工業株式会社
車両構造
5か月前
ダイハツ工業株式会社
車両構造
1か月前
続きを見る
他の特許を見る