TOP
|
特許
|
意匠
|
商標
特許ウォッチ
Twitter
他の特許を見る
公開番号
2025132703
公報種別
公開特許公報(A)
公開日
2025-09-10
出願番号
2024030444
出願日
2024-02-29
発明の名称
メタン酸化触媒装置の換気システム及びメタン酸化触媒装置の換気方法
出願人
三菱重工業株式会社
代理人
SSIP弁理士法人
主分類
F01N
3/34 20060101AFI20250903BHJP(機械または機関一般;機関設備一般;蒸気機関)
要約
【課題】メタン酸化触媒装置内の排ガスの滞留を抑制できるメタン酸化触媒装置の換気システム及び換気方法を提供する。
【解決手段】メタン酸化触媒装置の換気システムは、内燃機関から排出される排ガスに含まれるメタンの酸化を促進させるためのメタン酸化触媒を備えるメタン酸化触媒反応器、及び前記メタン酸化触媒反応器を収容する触媒ケーシングを含むメタン酸化触媒装置と、内燃機関からメタン酸化触媒装置に排ガスを導くための排ガス導入ラインと、メタン酸化触媒装置の内部を換気するための換気用気体を排ガスの流れ方向におけるメタン酸化触媒反応器よりも上流側に導入するように構成された換気装置と、を備える。
【選択図】図1
特許請求の範囲
【請求項1】
内燃機関から排出される排ガスに含まれるメタンの酸化を促進させるためのメタン酸化触媒を備えるメタン酸化触媒反応器、及び前記メタン酸化触媒反応器を収容する触媒ケーシングを含むメタン酸化触媒装置と、
前記内燃機関から前記メタン酸化触媒装置に前記排ガスを導くための排ガス導入ラインと、
前記メタン酸化触媒装置の内部を換気するための換気用気体を前記排ガスの流れ方向における前記メタン酸化触媒反応器よりも上流側に導入するように構成された換気装置と、を備える、
メタン酸化触媒装置の換気システム。
続きを表示(約 1,400 文字)
【請求項2】
前記換気装置は、
前記メタン酸化触媒装置の一方側の端部において前記メタン酸化触媒装置の他方側に向けて前記換気用気体を噴射するように構成された換気用噴射装置を含む、
請求項1に記載のメタン酸化触媒装置の換気システム。
【請求項3】
前記換気用噴射装置は、
前記触媒ケーシングの内部に配置され、前記換気用気体が流通可能に構成された複数の換気用気体管であって、前記触媒ケーシングの内部を流れる前記排ガスの流れ方向である第1方向に交差する方向に沿って延びるとともに、前記第1方向から視た場合において前記換気用気体管の延在方向に交差する方向において間隔をあけて配置された複数の換気用気体管と、
前記換気用気体を噴射するための複数の噴射ノズルであって、前記換気用気体管の前記延在方向に沿って間隔を隔てて前記換気用気体管に設けられた複数の噴射ノズルと、を含む、
請求項2に記載のメタン酸化触媒装置の換気システム。
【請求項4】
前記換気用噴射装置は、
前記換気用気体管を前記換気用気体管の中心軸線回りに回転させるように構成された回転機構をさらに含む、
請求項3に記載のメタン酸化触媒装置の換気システム。
【請求項5】
前記換気装置は、
前記換気用気体を貯留するように構成された換気用貯留タンクと、
前記換気用貯留タンクから前記換気用気体を抜き出して前記換気用噴射装置に導くための換気用気体導入ラインと、をさらに含む、
請求項2~4の何れか1項に記載のメタン酸化触媒装置の換気システム。
【請求項6】
前記換気装置は、
前記換気用噴射装置に導かれる前記換気用気体を所定圧以上に昇圧するように構成された圧縮機をさらに含む、
請求項2~4の何れか1項に記載のメタン酸化触媒装置の換気システム。
【請求項7】
前記換気装置は、
前記排ガス導入ラインに設けられ、外気を前記メタン酸化触媒装置に押し込むための押込みファンを含む、
請求項1に記載のメタン酸化触媒装置の換気システム。
【請求項8】
前記メタン酸化触媒装置から前記排ガスを排出するための排ガス排出ラインと、
前記排ガス排出ラインに設けられ、前記メタン酸化触媒装置から前記排ガス排出ラインに前記排ガスを吸い出すための誘引ファンと、をさらに備える、
請求項1~4、7の何れか1項に記載のメタン酸化触媒装置の換気システム。
【請求項9】
内燃機関から排出される排ガスに含まれるメタンの酸化を促進させるためのメタン酸化触媒を備えるメタン酸化触媒反応器、及び前記メタン酸化触媒反応器を収容する触媒ケーシングを含むメタン酸化触媒装置の換気方法であって、
前記メタン酸化触媒装置は、前記内燃機関から排出される前記排ガスを導くための排ガス導入ラインに接続され、
前記メタン酸化触媒装置の換気方法は、
前記メタン酸化触媒装置の内部を換気するための換気用気体を前記排ガスの流れ方向における前記メタン酸化触媒反応器よりも上流側に導入する換気用気体導入ステップを備える、
メタン酸化触媒装置の換気方法。
発明の詳細な説明
【技術分野】
【0001】
本開示は、メタン酸化触媒装置の換気システム及び換気方法に関する。
続きを表示(約 1,800 文字)
【背景技術】
【0002】
メタンを含む燃料ガスを使用燃料として燃焼させる内燃機関から排出される排ガス中には、未燃のメタン(メタンスリップ)が含まれることがある。内燃機関から排出される排ガスの経路には、メタンを酸化できるメタン酸化触媒が収容された触媒ケーシング(メタン酸化触媒装置)が設けられることがある(例えば、特許文献1参照)。
【先行技術文献】
【特許文献】
【0003】
特開2018-135809号公報
【発明の概要】
【発明が解決しようとする課題】
【0004】
メタン酸化触媒の使用中は、触媒ケーシングに導入される排ガスが有する熱エネルギや排ガスの酸化反応により生じた熱エネルギがメタン酸化触媒に伝達されるため、メタン酸化触媒は比較的高温に保たれる。これに対して、メタン酸化触媒の使用停止中に、触媒ケーシングの内部に残留する排ガスに含まれる水分が、触媒ケーシングの外部の外気によりメタン酸化触媒とともに冷却されて凝縮水が析出することがある。この凝縮水や触媒ケーシングの内部に残留する排ガス中に含まれる一部の成分が、メタン酸化触媒の劣化要因になる虞がある。
【0005】
上述の事情に鑑みて、本開示の少なくとも一実施形態は、メタン酸化触媒装置内の排ガスの滞留を抑制できるメタン酸化触媒装置の換気システム及び換気方法を提供することを目的とする。
【課題を解決するための手段】
【0006】
本開示の少なくとも一実施形態に係るメタン酸化触媒装置の換気システムは、
内燃機関から排出される排ガスに含まれるメタンの酸化を促進させるためのメタン酸化触媒を備えるメタン酸化触媒反応器、及び前記メタン酸化触媒反応器を収容する触媒ケーシングを含むメタン酸化触媒装置と、
前記内燃機関から前記メタン酸化触媒装置に前記排ガスを導くための排ガス導入ラインと、
前記メタン酸化触媒装置の内部を換気するための換気用気体を前記排ガスの流れ方向における前記メタン酸化触媒反応器よりも上流側に導入するように構成された換気装置と、を備える。
【0007】
本開示の少なくとも一実施形態に係るメタン酸化触媒装置の換気方法は、
内燃機関から排出される排ガスに含まれるメタンの酸化を促進させるためのメタン酸化触媒を備えるメタン酸化触媒反応器、及び前記メタン酸化触媒反応器を収容する触媒ケーシングを含むメタン酸化触媒装置の換気方法であって、
前記メタン酸化触媒装置は、前記内燃機関から排出される前記排ガスを導くための排ガス導入ラインに接続され、
前記メタン酸化触媒装置の換気方法は、
前記メタン酸化触媒装置の内部を換気するための換気用気体を前記排ガスの流れ方向における前記メタン酸化触媒反応器よりも上流側に導入する換気用気体導入ステップを備える。
【発明の効果】
【0008】
本開示の少なくとも一実施形態によれば、メタン酸化触媒装置内の排ガスの滞留を抑制できるメタン酸化触媒装置の換気システム及び換気方法が提供される。
【図面の簡単な説明】
【0009】
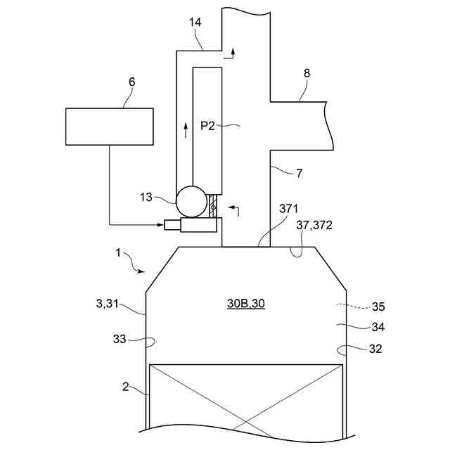
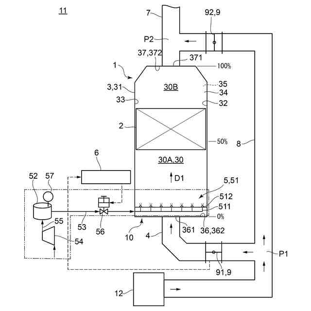
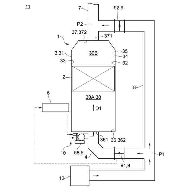
本開示の一実施形態に係るメタン酸化触媒装置の換気システムを備える内燃機関システムの概略図である。
本開示の一実施形態に係るメタン酸化触媒装置の換気システムを備える内燃機関システムの概略図である。
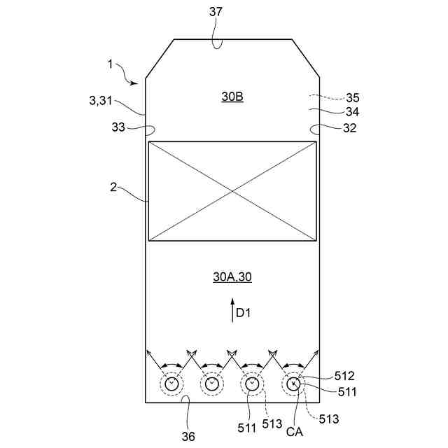
図1に示される触媒ケーシングを排ガスの流れ方向における下流側から視た状態を示す概略断面図である。
本開示の一実施形態における触媒ケーシングの排ガスの流れ方向に沿った概略断面図である。
本開示の一実施形態に係るメタン酸化触媒装置の換気システムの制御フロー図である。
本開示の一実施形態における誘引ファンを説明するための説明図である。
【発明を実施するための形態】
【0010】
以下、添付図面を参照して本開示の幾つかの実施形態について説明する。ただし、実施形態として記載されている又は図面に示されている構成部品の寸法、材質、形状、その相対的配置等は、本開示の範囲をこれに限定する趣旨ではなく、単なる説明例にすぎない。
(【0011】以降は省略されています)
この特許をJ-PlatPat(特許庁公式サイト)で参照する
関連特許
個人
ジェットエンジンタービン羽根
1か月前
トヨタ自動車株式会社
車両
1か月前
株式会社豊田自動織機
エンジン式産業車両
5日前
本田技研工業株式会社
排気装置
4日前
本田技研工業株式会社
排気装置
4日前
本田技研工業株式会社
排気装置
4日前
トヨタ自動車株式会社
エンジンシステム
11日前
トヨタ自動車株式会社
エンジンシステム
1か月前
株式会社SUBARU
ピストン冷却構造
25日前
トヨタ自動車株式会社
異音診断プログラム
27日前
トヨタ自動車株式会社
内燃機関の制御装置
25日前
トヨタ自動車株式会社
制御装置
25日前
三浦工業株式会社
船舶用発電システム
11日前
トヨタ自動車株式会社
制御装置
25日前
マレリ株式会社
消音器
5日前
フタバ産業株式会社
消音器
13日前
フタバ産業株式会社
消音器
25日前
トヨタ自動車株式会社
内燃機関の制御装置
15日前
株式会社SUBARU
車両
15日前
トヨタ自動車株式会社
内燃機関の制御装置
1か月前
トヨタ自動車株式会社
内燃機関の制御装置
26日前
フタバ産業株式会社
排気系部品
13日前
マツダ株式会社
排気システム
6日前
マツダ株式会社
排気システム
6日前
株式会社アイシン
弁開閉時期制御装置
7日前
トヨタ自動車株式会社
過給エンジンの制御装置
15日前
本田技研工業株式会社
ウォータポンプ診断装置
25日前
三菱重工業株式会社
主蒸気管洗浄方法
11日前
三菱重工業株式会社
排熱回収システム
1か月前
トヨタ自動車株式会社
内燃機関の異常検出装置
11日前
帝人エンジニアリング株式会社
排ガス処理装置
11日前
トヨタ自動車株式会社
車両のエンジンルーム構造
今日
ヤンマーホールディングス株式会社
エンジン装置
13日前
株式会社豊田自動織機
排気管
11日前
三菱重工業株式会社
メタン酸化触媒装置
4日前
トヨタ自動車株式会社
過給エンジンの換気システム
6日前
続きを見る
他の特許を見る